Има няколко вида дренажни системи и всички те са склонни да се запушват рано или късно. За да запушването не доведе до неприятни последици, са монтирани такива полезни фитинги като канализационен възвратен клапан. След това ще разберем защо е необходимо и как работи, а домашните майстори ще се научат как да инсталират възвратен клапан за канализационната система със собствените си ръце и ще получат рейтинг от 5 ТОП производители.

Обратният вентил за канализацията ще помогне да се спаси къщата от наводняване с канализация
Какво представлява възвратният клапан
Въз основа на името е лесно да се досетим, че това устройство преминава определено вещество в една посока и блокира движението му в обратна посока. Канализационен клапан, това е само най-известният вариант. В допълнение към канализационната система има подобен спирателен вентил, който е инсталиран на водоснабдителните, отоплителните, вентилационните системи и т.н.
Важно! В канализационната система е монтиран и възвратен въздушен клапан, предназначен е за нормализиране на налягането в тръбите, принципът на действие е същият, но устройството е малко по-различно.


Клапанът за течност и въздух за отпадни води работи на същия принцип
Защо се нуждаете от възвратни клапани
На канализационната система е монтиран обратен клапан за течност, който предпазва корпуса от канализацията. В многоетажните сгради канализационната система е предимно гравитационна и ако някъде има запушване, всички дренажи, които се оттичат отгоре, започват да запълват щранга.
Освен това, съгласно принципа на комуникационните съдове, веднага щом канализациите достигнат нивото на най-близката тоалетна чиния, от нея започва да бие фонтан от всичко, което е било източено отгоре. За да блокира зловонната течност, на изходящата тръба е поставен обратен клапан за канализация.
- В стари многоетажни сгради, където системата вече е износена и запушванията не са рядкост, жителите на първите етажи поставят такива фитинги.


Обратният клапан в канализационната система в апартамента е особено подходящ за жителите на първите етажи.
- В частни къщи, оборудвани със септични ями, на изхода от мазето са монтирани канализационни клапани, така че в случай на наводняване на септичната яма с подземни води, канализацията не се връща обратно.
- В системите под налягане трябва да се монтира обратен клапан за оттичане на отпадъчни води, всички тези системи са оборудвани с фекални помпи и за да се блокира обратният поток на канализацията при изключена помпа, се инсталира канализационен клапан. Можете да разберете за системите за налягане за апартаменти, видовете септични ями и други нюанси "ТУК".
- Канализационният клапан също се поставя върху централната дренажна тръба в резервоара за натрупване на дренажната система; без тази арматура водата ще се върне обратно, което може да доведе до наводняване на обекта или основата на къщата. Тънкостите на организирането на отводняване в частна къща са показани и разказани подробно "ТУК".


В резервоара за съхранение на дренажната система е монтиран 110 mm обратен клапан за отпадъчни води
- Както в многоетажни, така и в частни къщи, проблемът с гризачите периодично възниква. Гладните плъхове могат да се изкачат доста високо през канализационните тръби; възвратният клапан ще предотврати влизането на животните в апартамента.


В по-старите домове плъховете могат да влязат в жилището през дренажни тръби.
Важно! Преди да закупите обратен клапан за отпадъчни води, обърнете внимание на цвета му - външните фитинги са оранжеви, а клапаните за вътрешен монтаж са сиви.


Обратният клапан на външната канализационна система е оранжев, а за вътрешната - сив
Как да изберем възвратен клапан за канализация 50 mm или повече
Когато избирате типа устройство, човек трябва да се ръководи от характеристиките на канализационната система.В зависимост от това се избират размерът на възвратния клапан за канализационната система, материалът на производство и диаметърът на гнездото.


Размерът на възвратния клапан се избира в зависимост от вида на канализационната система
Когато избирате конкретен модел, трябва да се уверите в надеждността на устройството, което трябва да бъде направено от траен материал, който е устойчив на негативните ефекти на агресивна среда. Обратният клапан трябва да бъде лесен за инсталиране и лесен за поддръжка. Най-добрите в това отношение са модели с подвижен капак, който е необходим за почистване на елементите на тялото.
Надеждността на автоматичния механизъм за изключване на напречното сечение на тръбопровода по време на обратния поток на течността е гаранция за издръжливостта на устройството. Предпочитание трябва да се дава на модели с възможност за ръчно регулиране в случай на злополука.
Диаметърът на гнездото се избира въз основа на размера на тръбопровода. Не трябва да избирате по-голям или по-малък размер на секцията на устройството, тъй като ще трябва да използвате адаптери. Това ще наруши гладкото функциониране на цялата система, намалявайки производителността на тръбопровода. Въпреки това е избран 32 mm възвратен клапан за канализация с диаметър 50 mm, за него са избрани необходимите адаптери.
Видове канализационни клапани
Както вече споменахме, принципът на действие на такива фитинги е еднакъв навсякъде, но устройството може да бъде много различно, сега активно се използват 4 вида конструкции:
- вафлени фитинги;
- повдигащи фитинги;
- ротационни фитинги;
- топка запек.
Канализационни брави тип вафла
Обратният клапан тип вафла заслужено се счита за най-компактния сред всички подобни запеци. Устройството е монтирано вътре в тръбата между два фланца, поради което не изисква много място. Но от друга страна, ако такава арматура е задръстена, тогава ще трябва да развиете част от системата, за да стигнете до клапана.
Има 2 вида фитинги за вафли.
- Дисков запек. При тези модели преминаването е блокирано от плътен диск, фиксиран в горната част. Дискът често потъва под собствено тегло, без никакви пружини, въпреки че има изключения. Тези модели се считат за едни от най-надеждните, но те могат да работят само в гравитационна система.


Резервните клапани за вафли могат да бъдат направени от различни материали, но качеството и цената зависят повече от марката, отколкото от материала.
- Двуглави клапи с централно стъбло. При тези модели в центъра е монтирана ос, върху която се основават 2-те венчелистчета. Листата се притискат от пружина, системата се счита за универсална, двукрилните хоризонтални и вертикални клапани са еднакво надеждни.


Обратният клапан за вафли 100 и 110 mm се счита за най-надежден
Повдигащи модели
Тук течността се движи по извита пътека, когато канализацията тръгне в правилната посока, запушалката се повдига и течността тече през нея. Ако посоката на движение се промени, пружината ще натисне щепсела и потокът ще бъде блокиран.
Обикновено такива модели са направени от чугун, те са доста мощни, диаметърът на възвратните клапани за асансьора за канализационната система е съответно 110 mm и по-висок, за частни къщи, и още повече за градски апартаменти, тези фитинги се използват изключително рядко.


Обратен клапан чугун - повдигащ тип
Съвет! За чиста течност са подходящи повдигащи конструкции, но е по-добре да не ги поставяте върху канализационните канали, тъй като често се случват запушвания поради прекъснатия път на движение.
Бътерфлай клапани
По същество ротационните или лопастните системи са много подобни на дроселните клапани, единствената разлика е, че има ревизионен прозорец, през който механизмът може да бъде почистен. Има 2 вида такива фитинги.
- Твърди системи. При тях плочата затваря прохода под собствено тегло. Те работят безотказно, но са подходящи само за гравитационни системи с малък обем отпадъчни води, ако такива фитинги се поставят под помпа или за големи обеми, тогава при срутване на венчелистчето може да възникне воден чук, което е опасно за тръбите и уплътнения.
- Меки клапани. Без да навлизам в технически подробности, ще кажа само, че венчелистчето в тях се затваря със закъснение, както при затваряща врата, следователно водният чук е изключен.


Клапанът с обратен клапан 50, 100 и 110 mm за домашна употреба е най-подходящ
Сферични кранове
Сферичният клапан се счита за един от най-надеждните, системата е безпроблемна, вътре е поставена топка, която се връща обратно в работно положение и затваря основния отвор, когато течността се върне.


Сферичният възвратен клапан е по-подходящ за промишлени приложения
Съвет! При избора на възвратен клапан за канализация на къща или апартамент е по-добре да се даде предпочитание на фитинги, в които има ръчно блокиране на амортисьора. Много удобен вариант, особено ако трябва да напуснете дома си за дълго време, например, за да отидете на почивка.
Правилно и неправилно положение на клапана
Въпреки че някои инженери класифицират клапаните като хоризонтални и вертикални, професионалистите не препоръчват да ги инсталирате на вертикален участък на тръбопровода, тъй като това може да доведе до извънредна ситуация в апартамент, разположен нагоре от щранга.
Вертикално монтиран възвратен клапан натрупва отломки много по-бързо, намалявайки дебита на тръбата, което води до повишено налягане и скъсване.


Позволено е да се монтира възвратен клапан:
- на изхода в кладенеца на дренажната система в техническото помещение (в сутерена или на сутерена);
- на първите етажи на жилищни сгради директно на изхода на водопроводни инсталации (тоалетна, вана, мивка, мивка);
- на входа на жилищното пространство след преходния елемент (тройник или кръст);
- пред кладенеца от вътрешната страна на основата.
Важно! Без значение къде е монтиран възвратният клапан, той трябва да се монтира само на хоризонтални участъци на тръбопровода (на така наречените шезлонги). Това ще попречи на отпадъчните води да се изкачат по системата и да се разлеят през тоалетната или банята в случай на запушване.
Друг важен момент: клапанът трябва да бъде лесно достъпен, така че водопроводчикът да може да отвори капака на устройството и да го почисти / поправи.
Препоръчваме ви да се запознаете с: Как да изберем месингов водосгъваем сферичен кран
Ако по някаква причина не е възможно да инсталирате стандартен клапан в апартамента (самото устройство е доста обемисто и в малка баня може да заема много място), можете да инсталирате компактен маншетен клапан, който е инсталиран на тоалетна изходна тръба.
Тънкости при монтажа
Инсталирането на обратен клапан за отпадъчни води не е сложен бизнес, плюс такава работа не изисква скъп инструмент, домашен комплект, бормашина, ножовка, ниво, рулетка и т.н. Но първо трябва да решите къде да поставите възвратния клапан.
Избор на седалка
В този случай всичко зависи от това къде системата е най-често запушена.
- Ако обикновено се появят запушвания в първата канализация от къщата, тогава 110-милиметровият възвратен клапан се поставя след завоя в мазето (преди тръбата да влезе в стената).
Важно! В многоетажни сгради самоинсталирането на такъв клапан може да доведе до проблеми с експлоатационната компания. Факт е, че съгласно SNiP 2.04.01 - 85, в мазето трябва да има възвратен клапан с електрическо задвижване и авариен сензор, така че в случай на наводнение, сигналът да отиде до конзолата на диспечера.Простите фитинги се монтират само в помещения с денонощно дежурство.


Когато е инсталиран в многоквартирни сгради, електрическият възвратен клапан на канализационната система може да изисква одобрение
- Канализационният клапан в апартамента е най-добре да се постави върху тройник или напречна греда близо до централния отвод в щранга.
- Ако няма място близо до щранга за централизирани фитинги, тогава ще трябва да инсталирате отделен възвратен клапан за канализационната система на 50 мм до изхода към банята, кухнята и т.н. И капак с диаметър 100 - 110 мм за тоалетната.


Обратният клапан PVC или полипропилен се счита за най-доброто решение за апартамент или частна къща
Неправилни точки на монтаж
Тук има 2 препоръки
- Преди да инсталирате възвратен клапан на канализацията, помислете как ще го обслужвате, защото на всеки шест месеца такива клапани трябва да се ревизират.
- В многоетажна сграда е излишно да се монтира вертикален възвратен клапан на щранга.
За вертикалните фитинги трябва да се каже отделно, като инсталирате такъв затвор, можете да си навлечете много проблеми.
- Ако щрангът е чугунен, тогава изобщо не можете да го докоснете, особено със собствените си ръце, не всеки майстор се задължава да ремонтира или замени чугунния щранг. Това се дължи на факта, че има опасност от срутване на целия стълб.
- Какъвто и да е вертикалният възвратен клапан, той ще пречи на движението на канализацията, съответно рано или късно в този момент ще се появи запушване.
- Ако каналите се издигнат отдолу и вентилът ги блокира, тогава в многоетажна сграда те ще продължат да се оттичат отгоре, което ще направи инсталирането на затвора безполезно.
- Канализационен щранг в жилищна сграда принадлежи към обществени структури. Ако по собствена инициатива инсталирате клапан върху него, тогава ако възникнат проблеми с тази арматура, ще бъдете задължени да демонтирате всичко и да го върнете в първоначалното си положение за вашите пари, плюс заплащане на режийни разходи, например почистване на мазе или ремонт на съседи, които са били наводнени след монтаж клапан.


Не трябва да се монтира вертикален възвратен клапан в жилищни сгради
Процедура за монтаж на клапана
Не е трудно да инсталирате възвратен клапан за канализация със собствените си ръце. Инструкцията се състои от няколко прости стъпки, които се опитах да отража по-долу на снимката и видеото в тази статия.
Така че, по-добре е един прост домашен майстор да закупи хоризонтален възвратен клапан с функция за ръчно блокиране, изработен от PVC или полипропилен. Диаметърът на тръбата не засяга инструкциите за монтаж, възвратният клапан 50, 100 и 110 mm е монтиран по същия начин
- Първата стъпка е просто да съберете всичко, както трябва.
- След това измерете разстоянието от клапана до изхода в щранга.
- Вземете свързваща адаптерна тръба с подходящ диаметър и оставете желаната дължина върху нея, отрежете излишното.
- След рязане, ръбовете на тръбата трябва да се почистят с нож от прорезите.
Съвет! Тук не трябва да поставяте гофриране, в нея се натрупват много отломки.


Схема за монтаж на редуктора
- Сега намерете централната ос на дренажната тръба и маркирайте 2 точки върху нея, върху които ще бъдат фиксирани спирателните клапани.
- Пробийте 2 дупки с перфоратор и вкарайте пластмасови дюбели в тях под щифтовете на скобите.
- Вдигнете шиповете по височина и завийте носещите скоби.
- След това поставете гумени уплътнения във всички канали и покрийте плътно всички фуги с уплътнители, след което спирателните клапани най-накрая се сглобяват.


Монтаж на носещи метални скоби
- Сега просто трябва да свържете системата към канализацията и да я фиксирате здраво върху метални скоби.


Фиксиране на спирателни кранове върху скоби
- В зависимост от вида на стените и размера на армировката, системата може да бъде фиксирана по три начина, снимката по-долу показва принципа на фиксиране.


Три вида фиксиране на армировката
Монтаж на вентилационен клапан
Заключващият механизъм за вентилация на щранг е изключително лесен за инсталиране. Просто трябва да го инсталирате на свободния край на канализационната тръба.


Монтаж на въздушен клапан за канализация
Процесът на стъпка по стъпка е следният:
- Избор на местоположението на аератора. Механизмът може да бъде разположен за вентилация на отделен водопровод или на цялата система като цяло.
- Закрепване на устройството към тръбата по предписания начин.
- Проверка на херметичността на всички стави.
- Пускане в действие на аерационния механизъм.
Вентилационният клапан е монтиран на разстояние 20 см от най-близкия сифон и 30 см от гравитационната тръба.
Закрепването с канализационна тръба може да се извърши чрез фитинги, резби или друг метод, предоставен от производителя на аератора.
Аераторите се монтират на закрито, тъй като за тяхната работа температурата на въздуха не трябва да пада под 0 ° C. Разходите за закупуване на механизма бързо се изплащат поради защитата на канализационната система от повреди, а жилищните помещения от разпространението на вредни миризми. Важно предимство е също значително намаляване на нивото на шума в системата за оттичане, което допринася за създаването на комфортен микроклимат в апартамент или частна къща.
Канализационен аератор
Ако къщата има повече от 2 етажа и на всеки етаж има водопровод, тогава системата трябва да бъде оборудвана с вентилация. Обикновено се осигурява безплатен обмен на въздух от вентилаторна тръба, но има моменти, когато не е възможно да се инсталира и тогава се инсталира вентилация за аерация или вентилация.
Важно! Ако канализационната система е запечатана и оставена без вентилация, тогава при източване на голямо количество вода ще настъпи спад на налягането, в резултат на което водата ще бъде редовно изсмуквана от сифони и други хидравлични уплътнения, което ще доведе до проникване на канализационни газове в помещението.
Въздушен възвратен клапан е по-лесен за инсталиране, отколкото течен възвратен клапан. Според правилата на клапан с диаметър 100 mm или повече, той се врязва в системата с 30 cm по-високо, горният изход, например, на мивката, но сега има много малки модели, които са инсталирани до тоалетната или сифона.


Как да инсталирате аератора


Как работи вентилът за въздушна канализация HL 900NECO и други подобни
Аерационният клапан може да бъде направен на ръка, снимката по-долу дава инструкции за направата на такива фитинги.


Как да направите вентилационен клапан със собствените си ръце
Защо е необходимо, какво се случва?
Когато има проблем със запушването на канализационни тръби и мрежи, жителите на жилищни сгради незабавно се свързват със специализирана служба. Но колкото и бързо да са пристигнали, е необходимо възможно най-скоро да се затвори източникът и водата, за да не нахлуе всичко това „добро“ в апартамента и имотът да не бъде безнадеждно повреден. В такива случаи канализационният клапан помага.
Монтаж на възвратен клапан в канализацията се препоръчва за жителите на първите етажи. Предимно над 1-ви или 2-ри етаж канализацията не се издига.
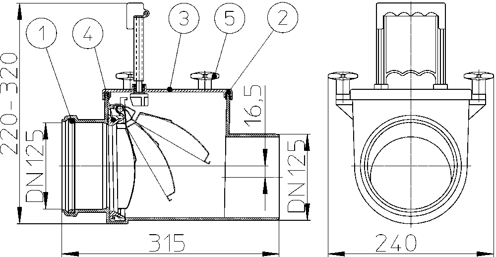
Схемата на работа на клапана е подобна на нипел. Тоест канализацията върви в една посока, но не може да се върне обратно. И именно този модел им помага да ги спрат по пътя към апартамента. Диаметърът на клапана зависи от това кои тръби са инсталирани в къщата. Това е предимно стандартният 110 мм за щранг; другаде може да е необходим по-малък размер.


място за инсталиране на обратен клапан за отпадни води
Клапанът е изработен от различни материали: метал, поливинилхлорид, полипропилен. Днес метални клапани, като тръби, се използват рядко. Освен това металните клапани са краткотрайни и скъпи. За вътрешен монтаж се използват полипропиленови тръби, отвън - поливинилхлоридни тръби.
Места за инсталиране
Вентилите могат да бъдат инсталирани на едно или повече места, в зависимост от задачите, които трябва да изпълняват.Един вентил може да бъде монтиран на обща канализационна тръба, но той трябва да има голям капацитет на потока. Много малки си струва да се инсталират на всеки водопровод.
Инсталирането на първия тип е възможно само в частни или малки къщи. В многоквартирни такива клапани няма да имат желания ефект. Тъй като инсталирането на общ клапан е възможно само в мазето, жителите на първите етажи остават беззащитни в случай на проблеми с канализационната система. В такива случаи е по-добре да се осигури клапан за всяко устройство или пред щранга.
Също така трябва да инсталирате такова устройство в канализацията с обратен наклон, тъй като такава неправилност на системата може да бъде отстранена само чрез пълната й промяна.
Типове клапани
Според конструкцията на възвратния клапан за отпадъчни води, те разграничават фланец, ротационен, сферичен и повдигащ вентили.
Вафленият тип има малки размери и тегло. Дизайнът му не включва фланци, които свързват клапана към тръбопровода. Когато възникне повреда, ще е необходимо да се подменят не само спирателните клапани във клапана, но и участъкът от тръбата, на която е разположен. Такива клапани могат да бъдат:
- Пружинен диск - в тях пропускащата мембрана прилича на диск, а вместо лост има пружина.
- Двучерупчести - принципът им на действие се основава на наличието на двучерупчеста мембрана в структурата. Ротационният клапан се нарича още венчелистче. Ролята на мембраната се играе от макарата / шлем, те се задействат от лост. Такива клапани могат да бъдат:
- Просто. Те се използват в системи с ниско налягане и еднакво преминаване на течности. Когато макарата се върне на мястото си, възниква воден чук - това може да повреди не само клапана, но и цялата канализационна система.
- Без стрес. Този тип прави възможно плавното връщане на макарата в първоначалното й положение, след като е преминала водата.
Сферичните кранове се използват предимно в системи с малък диаметър на тръбите. Ролята на мембраната се играе от метална топка, лостът е пружина. Този тип е най-често използваният и най-надежден. Неговата инсталация се извършва чрез врязване в системата, тя се закрепва с два болта, в случай на повреда, можете просто да замените устройството.


монтаж на възвратен клапан на канализационната тръба
Повдигащият клапан има малко по-различен дизайн. Неговата мембрана е разположена вертикално, а за повдигането й отговаря специално устройство, което също е разположено във вертикално положение. Този тип има важно предимство - вентилът може да бъде ремонтиран, без да се изключва от мрежата. Но в същото време липсата на податливост на често запушване поставя под въпрос рационалността на използването му. Повдигащите клапани се класифицират на:
- Клапани, които са заварени в канализацията.
- Тези, които са прикрепени към тръби с помощта на фланци.
- Резбова връзка.
- Вафла, те са затегнати между тръбите.













