В частна къща отоплителната система е различна от тази, инсталирана в многоквартирни сгради. Може да звучи нелепо, но системите в частните домове са много по-сложни по дизайн. В края на краищата те могат да включват топъл под и радиатори с голям брой връзки. Отоплителната система е под налягане с въздух само след окончателна инсталация. За да направите тази работа, трябва да използвате специално оборудване - автоматично или ръчно. Ако има такъв, тогава няма да има трудности. Но когато изпомпвате въздух или течност в системата, е необходимо да вземете предвид факта, че интервалите от време са посочени в стандартите.
Кримпване - какво е това?
Изпитването под налягане на отоплителната система с въздух в частна къща е необходимо, за да се провери херметичността на всички връзки. След като сте извършили цялата инсталационна работа, трябва да извършите тест и въвеждане в експлоатация. Но ако бъдат открити течове, използването на системата е забранено. Изпитването под налягане е изпитване на отоплителна система чрез инжектиране на въздух или течност в нея под налягане, което ще надвиши работната около два пъти.

В частните домакинства трябва внимателно да проверите всички контури на радиатори, подово отопление, както и връзки. Не забравяйте да обърнете дължимото внимание на котлите, електрическите помпи, котлите за отопление на водата, ако има такива, при проектирането на системата. Изискванията за кримпване ще бъдат обсъдени по-късно в нашата статия.
С помощта на изпитване под налягане можете да определите способността на всички елементи и материали да издържат дълго време на високо налягане. В случай, че тестовете са приключили успешно, можете да започнете да работите с оборудването. Ако не, тогава дефектите се отстраняват и се диагностицират отново.
Изпитване под налягане на тръбопроводи с въздух SNIP - Портал за сигурност


Изпитването под налягане на тръбопровод е технологична операция, извършена в относително малък изолиран участък от тръбопровод. Този раздел е специално тестван чрез прилагане на повишено налягане, близко по стойност до максимално допустимото. Изпитването под налягане на тръбопроводите ви позволява да проверите целостта на линията, качеството на монтажните работи и монтажа на фитингите.
Изпитването под налягане е необходима и важна операция за идентифициране на слаби места в сглобения тръбопровод
Изпитване на въздушно налягане на отоплителната система съгласно SNiP
Има стотици връзки във всяка отоплителна система. Това е връзка на тръби и радиатори, сферични кранове, циркулационни помпи и разширителни резервоари. При секционните батерии слабо място е свързването на секциите помежду си чрез уплътнение; при наличие на топли подове се появяват допълнителни резбови връзки между котела и колектора и между колектора и системата за подово отопление.
Всички тези връзки се проверяват след монтажа, т.е. отоплителната система е под налягане с въздух SNiP ясно и недвусмислено определя нормите за натискане на отоплителни системи. Технически, изпитването под налягане се извършва чрез създаване на високо налягане на въздух или вода в системата за откриване на дефекти и течове на охлаждащата течност.
Налягане на системата и отстраняване на въздух от веригата
След завършване на инсталационната работа за създаване на отоплителната система, тя се изключва от котела, херметичните разширителни резервоари се изключват, а при отворени системи разширителните резервоари се запечатват. Това е подготовката за проверка на отоплителния кръг за неговата работоспособност. Операцията по тестване на отоплителна система с високо налягане се нарича изпитване под налягане.Може да се извършва както с въздух, така и с помощта на хидравлични помпи с вода.
Съгласно нормите на SNiP, изпитването под налягане е задължително:
- при въвеждане на нова система в експлоатация;
- след подмяна на елементите на системата (щрангове, батерии, тръби);
- в подготовка за отоплителния сезон.
В съответствие с правилата на SNiP се съставя акт за кримпване. В новоинсталираните вериги най-често се провеждат тестове за въздушно налягане на отоплителната система на къщата. Смята се, че след изпитване под налягане, ако не са установени дефекти, които изискват отстраняване, системата е напълно готова за работа. След приключване на системните тестове обикновено започва пълненето на системата с вода. Много е вероятно да възникне друг проблем - ще е необходимо да се осигури изпускането на въздух от отоплителната система, което неизбежно ще наруши работата на цялата верига.
Източник: https://sivcomsks.com/opressovka-truboprovodov-vozduhom-snip/
Кога се извършва кримпване?
Цялата работа се извършва стриктно в съответствие със SNIP-41-01-2003, който ясно показва кога, по какви начини отоплителната система е под налягане. В същия документ ще намерите всичко относно изискванията за вентилация и климатизация. Има три случая, при които се изисква тест:
- Първично изпитване под налягане - извършва се веднага след приключване на монтажните работи. Диагностиката се извършва преди тръбите да бъдат вградени в жлебовете. Системата за подово отопление също трябва да е достъпна - не трябва да се излива преди кримпване. Трябва да се отбележи, че е разрешено повторно диагностициране на всички контури след извършване на замазката и запечатване. В този случай можете да се отървете от неприятностите.
- Периодичните хидротестове трябва да се извършват всяка година преди началото на отоплителния сезон и непосредствено след него. Целта на теста е да подготви предварително отоплителната система за работа.
- След всеки ремонт или дълъг престой на оборудването трябва да се извърши извънредно изпитване. Диагностиката е особено важна в случаите, когато водата се източва от системата.
Във всички тези случаи тестването под налягане ще бъде средство, което ще ви позволи предварително да диагностицирате системата и да идентифицирате всички проблемни области в оборудването. Всъщност, в случай че се появи теч, отоплението няма да бъде много ефективно през студения сезон.
Натискане на отоплителната система у дома: защо е необходимо и как да го извършите сами


- Строителство и ремонт
- Отопление
1 звезда 2 звезди 3 звезди 4 звезди 5 звезди Ще ви кажем, когато е необходимо кримпване, какви инструменти са необходими и ще дадем стъпка по стъпка инструкции как да го извършите.
ShutterStock
Изпитването под налягане на отоплителна система за дома е метод за изпитване на тръбопровод с излишно налягане, надвишаващо работното налягане. Този метод е подходящ за сложни многокомпонентни системи. В селска къща собствениците трябва да мислят за това сами. Ето как да го направите.
Характеристики на кримпване
Какво е кримпване
Необходимо оборудване
Етапи на работа
Какво е кримпване
Натискането на система за отопление на дома е тест на тръбопровода за здравина и херметичност с течност или въздух. Ако тръбите могат да издържат на това, тогава те могат да се експлоатират една година. Следователно проверката се извършва всяка година, преди отоплителния сезон и след аварийни, ремонтни или сервизни дейности. Но в същото време не трябва да се извършва твърде често ненужно.
SNiP за тестване препоръчва използването на налягане 1,5 пъти по-високо от работното. Например за отоплителна система на селска къща, в която стойността обикновено не надвишава 2-3 атмосфери, тестът може да се извърши, като се увеличи до 3-4,5 атмосфери.
Кога и защо трябва да проверите
Като цяло процедурата се извършва само в няколко случая:
- веднага след монтажа на отоплителната система;
- ако някои елементи на системата са били подложени на сериозно механично напрежение;
- преди началото на отоплителния сезон, когато системата е била изключена за дълго време.
Необходимо оборудване
В професионални условия, когато отоплителната система е под налягане в жилищна сграда, винаги се използват специални електрически помпи под налягане.
За частен дом можете да си купите малък компресор. Има само едно изискване за компресора: налягането, което той натрупва, трябва да е достатъчно за тестване. Почти всички модели са подходящи за вилни системи, тъй като дори битовите компресори обикновено осигуряват работна стойност от 6-8 атмосфери. В това отношение ръчните кримпъри са добри, защото ви позволяват точно да зададете желаната стойност. Твърде високото натоварване е опасно, тъй като може да повреди тръбопровода. Ако по време на изпитването не се образува теч, тогава такова оборудване се счита за изправно и готово за работа.
В този случай тръбопроводът трябва да бъде оборудван с мембранен разширителен резервоар, който служи като компенсатор за скокове на налягане и водни удари.
В допълнение към помпата за налягане на отоплителната система, ще е необходим ръчен манометър за наблюдение на увеличаването на стойностите и предотвратяването на прекомерен растеж. Можете да използвате показанията на манометъра на групата за безопасност (набор от няколко устройства, отговорни за безопасната експлоатация на тръбопровода). Основното е, че манометърът е в изправност.
Правила за работа
Сега нека поговорим за това какви са изискванията за процедурата за натискане на отоплителната система с въздух. Цялата диагностична работа трябва да се извършва през топлия сезон. Възможно е да се тества отопление при минусови температури, но само в аварийни случаи. В същото време е необходимо да се поддържа температурата в помещението над +5 градуса.


Тестовете могат да се считат за успешни, ако:
- По време на диагностиката не открихте замъгляване на шевовете, течове в радиатори, тръби, котли, фитинги и други устройства.
- Намаляването на налягането за 5 минути диагностика е не повече от 0,2 бара.
- В случай на отопление на панела, налягането върху манометъра не спада с повече от 0,1 бара за 15 минути.
- Капка от не повече от 0,5 бара за 10 минути е разрешена в системите за гореща вода, използващи метални тръби.
- Що се отнася до пластмасовите тръби, падането е позволено в рамките на половин час, но не повече от 0,6 бара. През следващите два часа спадът не трябва да надвишава 0,2 бара.
- Ако тестовете се провеждат със сгъстен въздух на панела и парно нагряване, спадът на налягането през първите 5 минути с повече от 0,1 бара не е разрешен.
Какво е необходимо за кримпване
Първо, трябва да създадете комисия за проверка на всички устройства. Необходимо е да се провери оборудването, използвано по време на изпитването под налягане и всички домакински измервателни уреди и системи. Преди проверката се съставя пакет от попълнена документация. В хода на операцията всички нейни подробности се записват в актове.
Необходимо е да се провери изолацията на водопроводната и отоплителната мрежа. Ако изолацията е остаряла и е загубила свойствата си, тя трябва да бъде заменена. Също така, не забравяйте за изолацията на външни комуникации.
Операцията за кримпване изисква присъствието на членове на енергоспестяващата организация. Целият персонал, участващ в работата, трябва да бъде инструктиран в правилата за безопасност и да подпише съответния дневник.
Не е необходимо налягането в системата да се повишава над 45 kg / cm2. Натрупването на налягане се извършва с помощта на компресор. Преди това е необходимо да се проверят всички спирателни кранове и да се извърши демонтаж с промиване, най-запушените места на системата.
Диагностични методи
Като цяло, съгласно SNIP-41-01-2003, могат да се разграничат два метода, чрез които е позволено да се провеждат тестове на отоплителната система:
- Тестът с вода е основният метод, чрез който се тестват всички вериги.В този случай водата трябва да се изпомпва в долната част на тръбите през крана. Разрешено е да се изпомпва течност както с автоматичен, така и с ръчен оператор за налягане. Предимството на този метод е, че е много лесно да се извърши цялата работа и ефективността на откриване на течове на височина. Факт е, че следи от течност веднага ще се появят върху тръбите.
- Тестването с въздух не е много ефективен метод, тъй като е трудно да се открият течове. Но е позволено да се използва тази техника при отрицателни температури - в края на краищата въздухът няма да замръзне. Компресор се използва за насилване на въздух в системата. Той е свързан с адаптер към тръбопровода. За да откриете теч, трябва да слушате. След като намерите приблизително място за изтичане, използвайте сапунен разтвор.
Правила за кримпване на SNiP
Нормите за кримпване на отоплителната система са описани в документи като SNiP 41-01-2003, а също и 05.03.01-85.
Климатизация, вентилация и отопление - SNiP 41-01-2003
Възможно е да се извършват хидравлични проверки на водни отоплителни системи само при положителни температури в помещенията на къщата. Освен това те трябва да издържа на налягане на водата от най-малко 0,6 MPa без увреждане на херметичността и разрушаването.
По време на изпитването стойността на налягането не трябва да бъде по-висока от границата за отоплителните устройства, тръбопроводи и фитинги, монтирани в системата.
Вътрешни санитарни системи - 3.05.01–85
Съгласно това правило SNiP е необходимо да се проверят системите за водоснабдяване и отопление с изключени връзки разширителни съдове и котли от хидростатично наляганеравно на 1,5 работещи, но не по-малко от 0,2 МРа в долната част на системата.
Счита се, че отоплителната мрежа е преминала изпитването, ако издържа 5 минути под налягане при изпитване и не падне с повече от 0,02 МРа. Освен това не трябва да има течове в отоплителното оборудване, заварки, фитинги, резбови връзки и тръби.
Тестово налягане
Съгласно SNIP 3-05-01-85, заменен през 2003 г., изпитването под налягане трябва да се извършва в съответствие с правилата. При извършване на работа в жилищни сгради е необходимо:
- Налягането беше повече от 1 MPa (това е 10 бара) - за системи за водоснабдяване с топла вода и отоплителни кръгове с нагреватели.
- Най-малко 10 бара за панелни и конвекторни отоплителни системи.
- Най-малко 6 бара за вериги с пресовани стоманени или чугунени радиатори.
- Налягането за подаване на топла вода трябва да бъде по-високо от работното и отгоре още 5 бара (но не може да надвишава 10 бара).
Ако се използват панелни отоплителни и топлообменници, главата не трябва да има налягане, по-голямо от максимално допустимото за устройствата. В случай, че провеждате въздушен тест при парно или панелно отопление, трябва да проверите тръбите, които пасват на вентилационното оборудване. Въздухът трябва да има налягане от 1 бара.
Технически изисквания
За да отговаря напълно на техническите изисквания, отоплителната система трябва да бъде под налягане само от сертифициран служител. Служителят трябва да има специално оборудване. SNiP регулира нормализираното ниво на налягане. Препоръчителните параметри трябва да бъдат 1,5 пъти по-високи от работните, но в същото време не по-ниски от 0,6 MPa. Техническите правила за експлоатация на отоплителни мрежи предполагат, че захранващото налягане трябва да бъде 1,25 по-високо от работното налягане и не по-ниско от 0,2 МРа.
Нормалното работно налягане на нагревателите в частна къща до три етажа е не повече от 2 атм. В къщи с пет етажа работното налягане е 3–6 атм. В сгради от 8 и повече етажа работното налягане е от 7 до 10 атм. Налягането, което трябва да се тества, трябва да бъде доведено до максималното ниво. Този параметър често се свързва с характеристиките на съставните части на отоплителната система. Тръбите, радиаторите, фитингите в многоетажни сгради са в по-лошо състояние от същите части в частна къща.


Ако работата се извършва от професионалисти, специалистите се ръководят от редица нормативни документи, а именно:
- SNiP 41-01-2003 "Нагреватели, вентилационни системи, климатични системи";
- SNiP 3.05.01-85 "Санитарно-техническо оборудване в сградите".
И също така има технически правила, регулиращи работата на топлоелектрическите централи, които са одобрени със заповедта на Министерството на енергетиката на Руската федерация.
Според тези правила работата може да се извършва веднъж на 5-7 години със съществуваща комуникация. Ако тези работи не бъдат извършени, ефективността на отоплителната система ще намалее.
На тръбите често се появяват плочи и отлагания, които почти намаляват наполовина пропускливостта. Качеството на тиража на медиите също намалява. Ако изискванията, посочени в документите, не са изпълнени, тогава обичайната подготовка за отоплителния сезон може да се превърне в извънредна ситуация, която ще доведе до много проблеми. Ако възникне ситуация в студени условия, тогава отоплителната система трябва да се размразява, което ще доведе до пълна или частична подмяна на тръбите.


Процедура за изпитване
Съгласно правилата за техническа експлоатация на термични устройства, тестовете трябва да се извършват в следната последователност:
- Веригата се пълни с вода с помощта на тестер за налягане. Температурата на течността трябва да бъде около 45 градуса. Въздухът трябва да се изпуска през специални отвори.
- Освен това водата се изпомпва с налягане за поне 10 минути. През това време трябва да проверите визуално всички шевове, тръбни съединения, свързване на цялото оборудване, фитинги.
- След това налягането може да се доведе до максимално налягане и да се задържи 10 минути. Ако тръбите са направени от полимерни материали, тестовете трябва да се извършват поне половин час.
- В случай, че налягането не се промени по време на тестовете, тогава може да се прецени, че изобщо няма дефекти.
Можете да завършите тестовете и да започнете да работите директно с оборудването.
Какъв инструмент за тестване е необходим?
Сега нека поговорим за това какъв вид кримпващо оборудване се използва по време на работа. За да извършите хидравлични тестове, трябва да използвате специална конструкция на помпи (те се наричат оператори на налягане). Можете да намерите две модификации - електрическа и ръчна.


Ръчните помпи представляват правоъгълна кювета, в нея се излива вода, която след това се изпомпва в отоплителната система. Помпа от тип бутало е поставена отстрани, с дръжка отгоре. С негова помощ буталото на помпата се задейства. На тялото има манометри, с тяхна помощ се следи налягането на изпомпваната в системата течност. Един спирателен клапан позволява отпадане на водата след завършване на изпомпването в тръбите. Вторият клапан позволява изтичането на течността от резервоара.
Буталните помпи работят по абсолютно същия начин като обикновените бутални помпи, които се използват за надуване на велосипедни или автомобилни тръби. Но има и разлика - в конструкцията на буталната помпа има цилиндрично стоманено бутало, което се движи в корпуса с минимален хлабина. С помощта на това се оказва изпомпване на течност в отоплителната система с налягане до 60 бара.
Основният недостатък на ръчните механизми е, че отнема много време за извършване на кримпване. Освен това времето за изпитване зависи от дължината на отоплителните кръгове. Понякога са необходими няколко часа, за да го напълните напълно. Представете си колко енергия ще похарчите, за да дръпнете дръжката.
С цел намаляване на разходите и автоматизиране на процеса, електрическите помпи се използват от специалисти. Те работят по същия принцип като ръчните, само мускулната сила се заменя с електрическо задвижване. Хубавото на автоматичните системи е, че можете да зададете желаното ниво на инжекционно налягане. Веднага щом се достигне, цялото оборудване се изключва.
Автоматичните устройства могат да изпомпват течност при налягане 40-100 бара.Но има и индустриални дизайни, които могат да създадат налягане до 1000 бара.
Моля, имайте предвид, че Министерството на енергетиката установява изисквания, според които е необходимо да се използват манометри за управление само от тип пружина, класът им на точност трябва да бъде 1,5. Обиколката на тялото трябва да бъде повече от 160 mm. Скалата трябва да бъде проектирана за измерване на налягането, чиято стойност е не по-малка от 4/3 от минимума, градуирането е по-малко от 0,1 бара.
Видове изпитвания и изпитвания под налягане на системата
Както успяхме да разберем, ако херметичността на отоплителната система е нарушена, топлопреносът значително намалява. И най-важното е, че работната течност се губи и трябва постоянно да се добавя. Нормите, за които говорихме по-горе, трябва да се вземат предвид при обслужването на отоплителни системи от комунални и държавни организации. Що се отнася до частните къщи, изобщо не е необходимо да се придържате, например, към SNIP 3-05-01-85.


Изпитването под налягане трябва да се извърши след предаване на работата на клиента. Тестовете трябва да се извършат преди въвеждане в експлоатация. Допълнителни тестове се препоръчва да се повтарят на всеки 5 години. При изпитване на налягането на отоплителната система с въздух, какво налягане трябва да се поддържа? Както при течния метод, работното налягане трябва да се удвои.
За да извършите диагностика, не е необходимо да имате специални знания и умения, така че всеки може да го направи. Няма смисъл да купувате електрически или ръчен модул, тъй като най-примитивният ще ви струва поне $ 100. Ако желаете, можете да наемете устройство; в големите градове тази възможност често се предоставя от частни лица или компании.
В случай, че не искате да рискувате и да провеждате тестове сами, можете да наемете специалисти. След приключване на процедурата те ще ви издадат акт за кримпване на отоплителната система, който ще посочи как и при какви условия е извършена работата. Но цената на услугите на такива специалисти е доста висока - ще трябва да платите около 2000 рубли за всеки час.
Процедура за кримпване
За да се провери отоплителната система по този начин, се извършват хидравлични тестове на следните елементи:
- Тръби.
- Топлообменници.
- Котли.
Ако по време на тестови дейности се открият течове, се прави заключение за намаляване на налягането в мрежата.


Непосредствено преди тестването системите за водоснабдяване и топлоснабдяване са изолирани. Те също така визуално определят якостта на съществуващите връзки, проверяват вентилите за работоспособност и оценяват общото им състояние.
На следващия етап разширителният резервоар и отоплителният котел се изключват, за да се измият отоплителните уреди и тръби от отлагания от различно естество, да се отстранят отломките и прахът.
Ако хидравличното изпитване включва пълнене на отоплителната система с вода, тогава към изпускателния клапан е свързан компресор за тестване с въздух. Постепенно налягането в системата се повишава, показателите му се наблюдават на специални манометри. При липса на промени се дава заключение за добрата херметичност на системата и за възможността за нейното въвеждане в експлоатация. По подобен начин се извършва кримпване на топъл под с въздух, включително някои нюанси.
Ако има допустим спад на налягането по време на изпитването под налягане на отоплителната система, тогава има зони с дефекти в системата. По време на хидравлични тестове такива места текат. Ако проверката е извършена с въздух под налягане, тогава ставите и ставите се обработват със сапунена вода.
Тестът за въздушно налягане отнема около 20 часа, докато тестът за налягане отнема само 1 час.
Ако се открият дефекти, се извършват ремонтни дейности и тестване под налягане отново. Стъпките се повтарят, докато се постигне добра плътност на системата.Въз основа на резултатите от извършената работа се съставя акт за изпитване под налягане на отоплителната система. Струва си да се отбележи, че актът на кримпване на отоплителната система е необходим документ.
Трябва да се помни, че в повечето случаи проверката се извършва хидравлично. Тестовете за въздух се извършват, когато е невъзможно да се запълни веригата с вода или при ниски температури на въздуха, когато течността просто се втвърди.
Тестове в жилищни сгради
В жилищните сгради може да се извърши и изпитване с въздушно налягане на отоплителната система. Сега ще разгледаме необходимите условия за извършване на работата. В случай, че установите течове на вода, те трябва да бъдат отстранени. Но често, без високо налягане в системата, е доста трудно да се намерят тънки пукнатини в шевовете. В жилищните сгради е необходимо да се извърши изпитване под налягане както на отделни апартаменти, така и на всички магистрали.


Трябва да завършите подготовката:
- Огледайте всички фиксиращи фитинги. Ако клапаните са направени от чугун, не забравяйте да смените жлезите върху тях. Сменете уплътненията на фланцовите връзки. Всички болтове, загубили първоначалния си вид, също трябва да бъдат заменени. Не забравяйте да инсталирате нови манометри, препоръчително е да изпратите старите за проверка, за да решите дали те могат да се използват допълнително за измервания.
- Визуално проверете всички тръби и фитинги, за да установите дори незначителни дефекти и повреди. Ако откриете проблемни области, трябва бързо да ги поправите.
- Проверете състоянието на топлоизолационния материал по магистралите, положени в мазето и между етажите.
След подготовката можете да преминете към директно изпитване под налягане:
- Напълнете цялата верига с вода с ниска твърдост (за предотвратяване на натрупването на варовик). По-добре е да го изпомпвате в системата, разбира се, с електрическа помпа. Налягане - 6-10 бара. В контейнер с течност трябва да спуснете маркучите - източване и подаване. След това свържете помпата към отоплителната мрежа и включете оператора за налягане. Необходимо е предварително да настроите налягането.
- Време за половин час - през този период налягането трябва да остане почти на същото ниво. В случай, че налягането не спадне, тестът може да се счита за завършен. Можете да напълните системата с работна течност и да започнете активна работа.
- Ако налягането падне, тогава има дефекти в отоплителната система. Процедурата за изпитване под налягане на отоплителната система с въздух е приблизително същата, но ще трябва да използвате сапунен разтвор - без него е трудно да се намери теч. Веднага щом откриете дефекти, можете да продължите с евакуацията на системата и ремонта. След това извършвате повторна диагностика на цялото отопление.
Входният монтаж се извършва по подобен начин - налягането в този случай трябва да бъде около 10 бара.
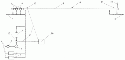
Схема на изпитване под налягане на отоплителната система с въздух


Изпитване на въздушно налягане на отоплителната система
Процедурата за пресоване се извършва или с вода, или с въздух. Последният вариант е предпочитан през студения сезон, за да се изключи възможността от замръзване на водата в системата в случай на дефект в нея.
Технологията за извършване на тестове за въздушно налягане е съвсем проста. На всяко удобно за вас място в отоплителната система (CO) е свързан компресор, който изпомпва въздух в отоплителните батерии и в мрежата на системата. Налягането му се повишава до предварително определена стойност. След това промяната в налягането се следи с манометър.
В случаите, когато работата се извършва ефективно, налягането в системата не пада с течение на времето.
Изпитването под налягане на отоплителната система с въздух се извършва в определена последователност.
Първо, необходимо е напълно да се източи водата от системата.
Освен това е необходимо да се покрие и запечата избраната зона на CO, която подлежи на последващ контрол. Тоест клонът, който трябва да бъде под налягане, е напълно отрязан от централния водопровод.
Тази процедура се извършва с помощта на съществуващите спирателни кранове (клапани или кранове), разположени в края и в началото на секцията.
Преди да започнете този етап от работата, трябва да завършите определени подготвителни мерки. А именно:
- Извършете внимателна проверка на всички клапани;
- Ако е необходимо, добавете уплътнения на уплътненията, за да осигурите пълна плътност;
- Обновете изолацията на тръбите, когато е необходимо.
Към контролираната зона е необходимо да се свърже компресор, чиято мощност се избира, като се вземат предвид вътрешните обеми на тестваната зона.
След това се изисква да се създаде свръхналягане в този участък, чиято стойност трябва да бъде поне два до три пъти по-висока от работното налягане, зададено за CO. (Тоест при работно налягане до 2 атмосфери, налягането в системата по време на изпитване под налягане с въздух трябва да бъде доведено до най-малко 5 атмосфери).
По правило компресорът е свързан или към изпускателния клапан на СО, или към един от радиаторите, след като преди това е развил клапата на Маевски (въздушното отдушник на отоплителната система) и го е заменил с адаптер, който ви позволява да закачите маркуч на компресора.


Връзка на компресора
Освен това всички фуги в системата се проверяват за течове (липса на херметичност на монтажа). В този случай е необходимо да се видят точно ВСИЧКИ връзки, не само разглобяеми, но и запоени (ако CO се сглобява от пропиленови тръби).
В случаите, когато изпитването под налягане се извършва с въздух, всички връзки трябва да бъдат предварително покрити със сапунена вода. Ако тази процедура се извършва с вода, течовете ще станат забележими и без нея.
Обобщавайки горното, можем да кажем. Че процесът на контрол на кримпването протича по следния начин:
- Изпомпваме въздух. В отоплителните батерии и CO линиите трябва да достигне дадено налягане, чиято стойност се контролира от манометър;
- Когато се достигне необходимото налягане, изключете компресора;
- Фиксираме първоначалното налягане и оставяме линията за един ден (минималното време за контрол е 8 часа);
- След изтичане на времето правим сравнение на стойността на първичното и действителното налягане. При липса на разлика работата се извършва с високо качество, а системата е запечатана. В противен случай се изисква да се търси течът и да се извършат модификации.
След извършване на тестване под налягане, тръбопроводите трябва да останат под свръхналягане за един ден (24 часа). През това време ще се появят всички възможни течове. Трябва също така да се има предвид, че поради дневни температурни спадове налягането в CO частично ще спадне, тъй като въздухът, охлаждащ се, се компресира.
Нивото на налягане в системата се контролира от манометър, който трябва да бъде свързан към системата чрез възвратен клапан. В противен случай не се виждат резултати.
След като завършихме контрола на качеството на кримпването, преминаваме към следващия раздел. И така до пълна проверка на цялата система.
След приключване на изпитването под налягане издухвайте въздуха. Той не трябва да остава в отоплителната система. Той се пълни с охлаждаща течност и се провежда пробен пуск на CO.
Ако по линиите се появят шумове при загряване на котела, това означава, че в системата има въздушни брави. Необходимо е да се дефлира отново.
Материали и оборудване за работа
Основният инструмент за кримпване на тръби е:
- Пресоващи машини (ръчни и автоматични);
- Манометър за въздушно налягане;
- Шведски ключ номер 2;
- Газов ключ No2;
- Байонетна отвертка No2;
- Консумативи (уплътнение и уплътнение).
Тестване в частни домове
Струва си да се отбележи, че в автономните отоплителни системи, които се използват в частни къщи, налягането обикновено не е повече от 2 бара. Следователно, за да се проведат тестовете, е необходимо да се изпомпва течност в системата при налягане от 3,5-4 бара. Позволено е да се използва както въздушен метод за изпитване под налягане, така и хидравличен.


Последователността на тестовата работа:
- Първо източете охлаждащата течност и изпомпвайте вода под налягане в отоплителния кръг. Наложително е да се добавят добавки, които се използват при промиване на системата. Веригата се пълни с вода през разклонителната тръба, разположена в долната част.
- Филтрите трябва да бъдат добре почистени преди промиване. Препоръчва се промиване поне веднъж годишно.
- След това източете течността за промиване и напълнете системата с чиста течност. Можете да пропуснете тази стъпка, ако оставите течността за промиване да се охлади до 45 градуса. След това е необходимо да се изпомпва повече вода с помощта на устройство за изпитване на налягане, за да се достигне налягането му до 4 бара.
- Ако използвате ръчен тестер за налягане, напълнете резервоара с течност, след което го свържете към дренажната тръба на отоплителната система. След това трябва да отворите крановете и да изпомпвате вода. Това се прави просто - трябва да повдигнете и спуснете дръжката на устройството. Веднага щом се достигне необходимото налягане, затворете всички клапани.
- Оставете цялата система напълнена за около половин час и наблюдавайте внимателно налягането. В случай, че падне под 0,2 бара се случи за период от 30 минути, може да се каже, че няма течове. Ако спадът на налягането е твърде голям, тогава е необходимо да се открият и отстранят дефекти.
Не забравяйте, че е задължително да се спазват нормите за допустимо налягане при извършване на изпитвания под налягане. Трябва също да се отбележи, че има голяма вероятност от течове вътре в стените. В този случай ще ви трябва топломер. Само той е в състояние да установи наличието на течове от гореща течност в стените или под пода.


Някои може да зададат въпроса: "Какво налягане трябва да се поддържа при натискане на отоплителната система с въздух?" Въздухът не е течност, следователно е позволено да се инжектира около 2 бара в система, чиято дължина е не повече от 10 метра. Но всичко зависи от конкретната отоплителна система, нейната дължина и обем. Ако е относително малък, тогава изпитвателното налягане може да бъде намалено.
Изпитване под налягане и промиване на отоплителната система
Преди да натиснете системата, е необходимо да премахнете ръждата и котления камък от веригата. Тръбопроводите се пълнят с вода със специални реактиви и се измиват. Сместа може да бъде снабдена с компресор. Това устройство трябва да генерира налягане от 1,3 пъти работното налягане. По време на тези операции служителят проверява херметичността на системата, прави следи от течове.
По време на изпитването на отопление под налягане се вземат предвид изискванията на SNIP. При извършване на такава работа е необходимо да се вземат предвид:
- тип контурно маршрутизиране;
- използваният материал (полипропиленови, медни или металопластикови тръби);
- технически характеристики на клапани;
- брой етажи на сградата.
Съгласно правилата за извършване на работа, промиването трябва да премахне всички запушвания и отлагания във веригата. Ако не изпълните тази работа, тогава ефективността на отоплителната система през третата година на работа ще намалее с 15%, което ще увеличи разходите за отопление на помещенията. Отлаганията в тръбите на Rehau влошават циркулацията на охлаждащата течност, следователно трябва да се извършва промиване, докато от дренажния клапан се появи чиста вода.
След почистване на веригата от замърсяване започва процедурата за кримпване. При извършване на такива операции е необходимо да изключите циркулационната помпа. Устройството под налягане трябва да притиска системата с 30% повече от работните параметри. В случай на деформация или повреда на резбовите връзки, както и неизправност на спирателните клапани, може да настъпи разрушаване на слабото място, след което потоците вода могат да наводнят помещението.
При проверка на котелното оборудване и веригата водата се подава към системата под налягане от 2 атмосфери за частна къща и 5 атмосфери за многоетажна жилищна сграда. След това към веригата се свързва специално устройство, преса и се подава сгъстен въздух.
Важно! Максимално допустимото налягане по време на изпитването под налягане не трябва да надвишава 1,5 работни параметри.
След свързване на машина за пресоване на маркучи за високо налягане, параметрите на натоварване се увеличават на всеки 10 минути, докато налягането достигне желаната стойност. Ако положението на иглата на манометъра върху устройството не се промени, тогава системата е стегната. Ако налягането започне да пада, има течове във водната подова отоплителна верига или в отоплителната система на радиатора. Потърсете слаби места в резбови връзки, заварки или места с монтирани уплътнения. Инструментът за кримпване на металопластикови тръби е точно същият като при комуналните услуги от други материали.