Как да отопляваме оранжерия в началото на пролетта?
Разглеждайки възможностите за отопление на оранжерията през зимата, трябва да запомните следните важни моменти:
- Температурата в оранжерията никога не трябва да надвишава 40 ° C. Прекомерната топлина може просто да изсуши растенията.
- За да загрее всеки кубичен метър вътрешно пространство, избраното отоплително устройство трябва да произвежда 100 W топлина.
- Загряването на почвата е идеално за отопление. Ако се използват топлообменници, те трябва да бъдат разположени на възможно най-ниската височина.
Най-лесният и естествен начин е със слънцето. За да се използва енергията на небесното тяло до максимум, оранжерията трябва да се постави на мястото на мястото, където пада най-много слънчева светлина - така растенията ще получат максимално количество топлина и светлина.
Опитните градинари са открили, че е най-добре да се отоплява оранжерия под формата на арка или полукълбо на слънце.
За да работи ефективно слънчевото отопление, покривът на оранжерията трябва да бъде напълно прозрачен. Тогава слънчевите лъчи ще могат свободно да преминават вътре и да загряват растенията и почвата, които ще отделят топлина, като по този начин нагряват въздуха в оранжерията.
Несъмнените предимства на метода за слънчево отопление са ефективността и екологичността, но съществен недостатък е фактът, че тази опция не е подходяща за северните региони.
Не е необходимо да се използва каквото и да е отопление за отглеждане на разсад и ранна лятна продукция. За да направите това, достатъчно е да направите парникови лехи върху прегрял оборски тор. Необходимо е да се премахне плодородния почвен слой, вместо леглата ще се получат траншеи. Препоръчително е да направите дъски за бъдещи топли легла от дъски или други подръчни материали.

Когато навън все още е студено, можете да опънете филма върху оранжерията с втори слой. Между основния слой и допълнителния слой ще се образува въздушна брава, която също ще запази топлината. Оранжерията трябва да бъде разположена така, че да остане на слънце възможно най-дълго. Слънчевите лъчи ще проникнат във фолиото или клетъчния поликарбонат и ще затоплят повърхността на земята в оранжерията.
Но има и недостатъци. Ако нямате собствен оборски тор, тогава трябва да го купите и това вече е доста скъпо удоволствие. Освен това трябва да се съхранява през есента. И правете хребетите всяка пролет наново. Това е много трудоемък процес. Направи си сам оранжерии с отопление не е лесно да се направи. А през зимата ще има малко такова "отопление".
За да бъде парниковият бизнес печеливш, е необходимо не само да отоплявате добре оранжерията, но и да използвате всички възможни средства, за да запазите тази топлина възможно най-добре.
За това е добре всички знания да се прилагат в комплекс. Добре избрано място за изграждане на оранжерия, без сянка, цял ден под слънцето. Оранжерията трябва да бъде разположена така, че вятърът да не издухва топлината. Хубава, топла основа. Капакът на оранжерията е по-добре направен от клетъчен поликарбонат. Не трябва да има пропуски в конструкцията: през зимата, при измръзване, всяко течение е разрушително.
Можете да използвате топли високи легла с оборски тор, които също ще натрупват топлина. Можете да отглеждате разсад на рафтове. Добре е да комбинирате отоплението на оранжерията: увеличете температурата на въздуха и почвата. Между другото, водоустойчивите постелки могат да се използват за ефект на подово отопление. Удобно е да ги използвате в оранжерии със стелажи, като поставяте под тях нагревателни рогозки. Топлината винаги се издига отдолу, загрявайки тавите с растения и въздуха.
Отопление на оранжерията: начини
Как да отопляваме оранжерия през зимата? Сега има много начини да направите в оранжерия отопление направи го сам. Всеки от тях има свои собствени предимства и недостатъци, следователно, за да изберете идеалния вариант за отопление на оранжерията направете го сами, трябва да обърнете внимание на следните критерии за подбор:
- размер на оранжерията;
- финансови възможности;
- климатични особености на региона;
- необходимостта от различни оранжерийни растения за отопление.
Отопляема зимна оранжерия - проекти, снимка:




Слънчева
Това е най-много естествен начин на отопление... За да може слънцето да отоплява по-добре оранжерията, трябва да я поставите на най-слънчевото място и да изберете подходящ покривен материал. Разглежда се идеалното покритие стъклена чаша.
Слънчевите лъчи преминават през покритието, загряват земята и въздуха. Топлината се връща много по-слабо поради плътността на конструкцията и покриващия материал. Оранжерията в мухъл се затопля най-добре полукълба или арки.
Предимства:
- рентабилност;
- екологичност.
Недостатъци:
- през зимата този метод може да се използва само в южните райони;
- температурите могат да спаднат драстично през нощта, убивайки растенията.
Електрически
Как да отопляваме оранжерия през зимата? Следващият начин за отопление на оранжерия през зимата е електрически... За малко и затворено съоръжение това би било идеално.


Има различни начини
електрическо отопление оранжерии през зимата:
- конвективни системи;
- отопление на вода;
- инфрачервено отопление;
- нагреватели;
- кабелно отопление;
- Топлинна помпа.
Оранжерийните нагреватели имат различни механизъм на действие.
Общото предимство на такива структури е, че те реагират температурни промени и автоматично да създадете идеален микроклимат... С правилното поставяне на електрически нагреватели, оранжерията ще се загрее равномерно, което значително ще подобри растежа на растенията.
Предимства:
- рентабилност;
- мобилност (повечето от тези устройства могат да бъдат адаптирани към параметрите на всяка оранжерия);
- вентилация.
Недостатъци:
- при недостиг на нагреватели въздухът ще се затопли неравномерно;
- възможностите за нагряване на почвата са много ограничени.
Прочетете на нашия уебсайт за това как да направите система за капково напояване, хидравличен цилиндър за оранжерии със собствените си ръце и за какво е терморегулацията.
Въздух
Система въздушно отопление инсталирани по време на изграждането на оранжерията. Инсталирането му е много трудно, така че специалист трябва да се справи с този въпрос.
Как да направя парниково отопление? В основата на основата и в рамката на сградата са монтирани специални отоплителни и вентилационни устройства, които разпределят топъл въздух в горната част на оранжерията. Благодарение на това горещият въздух не попада върху самите растения и не изгаря нежните листа на разсад.
За да загреете почвата, можете да инсталирате по периметъра на оранжерията перфорирана нагревателна втулка.
Зимни оранжерии с отопление - снимка:


Система за подово отопление
С помощта на "топъл под" можете да загреете почвата. Такава система може да се направи за отопление на оранжерията през зимата със собствените ви ръце. Монтажът на конструкцията е прост: трябва да премахнете част от почвата, да запълните окопите с пясък, да сложите слой топлоизолационен материал, да прокарате кабела със змия и отново да го напълните с пясък и пръст.
Тази система позволява запази относно инсталирането и експлоатацията. Освен това неговото предимство е способността автоматично да регулира отоплението и да разпределя топлината равномерно в цялата оранжерия.
Биологични
Селяните все още използват най-лесния начин за отопление на оранжерии - биологични... В този случай топлината се отделя поради разлагането на органичните вещества от микроорганизмите. Конският тор обикновено се използва като нагряващо вещество, тъй като е в състояние да достигне температури в 60–70 ° C за една седмица и го пазете до 120 дни.
Предимства:
- въздухът на оранжерията е наситен с въглероден диоксид, полезен за растенията;
- оборският тор служи и като тор;
- поради изпаренията въздухът и почвата се овлажняват постоянно.
Недостатъци:
- в южните части На Русия този метод е подходящ за зимата, но за Урал препоръчително е да го използвате само през пролетта;
- конски тор е трудно да се намери, а други органични вещества (компост, боклук) отнемат повече време, за да се загреят и да загубят топлина по-рано.
Оформянето на легло с тор е лесно: трябва да премахнете цялата земя от него, да го напълните с конски тор 1/3и след това изложете почвата отново.
Печка
Как да отопляваме оранжерия през зимата? Отопление на печки отдавна се използва от собствениците на градини.


През зимата обикновена печка с печка може да поддържа оптималната температура на въздуха в оранжерията дълго време - около
18 ° С.
Този метод обаче е подходящ само за южните райони на Русия: такава печка не може да се справи със сибирските студове.
Достойнство отоплението на печката е икономично: материалите за печка са сравнително евтини и инсталацията е лесна за извършване със собствените ви ръце.
Топлина може да се получи с помощта на всяка твърдо гориво - дърва за огрев, въглища, дървени стърготини, парцали, опаковъчни материали. Получените отпадъци, пепел и пепел, могат да се използват за оплождане на леглата.
Недостатъци на отоплението на печката:
- въздухът не винаги се затопля равномерно: до печката се образува зона с висока температура, в която растенията могат да умрат;
- печка-печка - пожароопасна конструкция, следователно трябва да бъдете особено внимателни по отношение на топлоизолацията;
- трудоемък процес на отопление: конструкцията ще функционира правилно само ако горивото редовно се хвърля в печката.
Можете да прочетете за това как да оборудвате оранжерия тук. А също и в статията за това как да се изгради зимна оранжерия с отопление.
Устройство на целогодишна оранжерия
Отдавна се продават готови оранжерийни конструкции с осигуреното висококачествено отопление. Това е необходимо при сурови климатични условия както за фермерите, така и за частните търговци. Ако желаете, можете да подготвите обикновена оранжерия за използване през зимата.


Отоплението в оранжерия ще помогне за отглеждането на култури през зимата
Препоръчително е да се изолира основата, така че хипотермията на почвата да не доведе до намаляване на добива:
- Основата може да бъде дървена платформа. Обработва се с антисептик и се покрива с хидроизолационен материал.
- Вторият вариант е изливане с бетон с допълнителна изолация от пяна.
Стъклото перфектно пропуска светлината, но теглото и неспособността му да се огъват усложняват инсталацията, а високата му топлопроводимост не позволява да се поддържа стабилна температура през целия ден. Поликарбонатните оранжерии са най-висококачественият дизайн за целогодишна употреба. След като сте направили отопление в оранжерия от поликарбонат със собствените си ръце, можете да бъдете сигурни в добрите ранни реколти.


Поликарбонатните панели са един от най-добрите материали за създаване на оранжерии, включително целогодишни. Този материал е достатъчно здрав и не е подложен на разрушителното влияние на външната среда (например, температурни спадове, висока влажност).
В същото време е много удобно да работите с такъв материал - той е монтиран на рамката на оранжерията с помощта на самонарезни винтове, той се огъва добре.
Най-важното предимство на такива оранжерии е възможността да се използва целогодишно, непрекъснато да се отглеждат растения и да се получават плодове. Тя може да бъде както от различни зеленчуци, така и от други зеленчуци.
След като инсталирате всички необходими системи, можете да създадете всички необходими температурни условия вътре. Освен това оранжерията не трябва да се почиства след всеки сезон.
Това е сграда, която може да се използва дълги години с подходяща поддръжка.
Прочетете следващото: Най-доброто електрическо отопление на дома: експертни съвети и трикове
Отопление на печки
Как да отопляваме оранжерия без газ и електричество? Отоплението с печки е един такъв метод.Те правят обикновена печка, от нея хоризонтално пускат комин по стените на оранжерията. Той трябва постепенно да се издигне и накрая да бъде изнесен. Това ще отоплява оранжерията. Камината трябва да бъде направена така, че да се отваря извън оранжерията, защото е невъзможно саждите и димът да проникнат в нея. Тогава качеството на зеленчуците ще пострада.
Можете да инсталирате печка с котел, в който водата ще се нагрява и след това тя ще циркулира през тръби, които ще бъдат положени на земята по дължината на оранжерията. Топлата вода ще загрява въздуха.
Ако ефективността на такива системи може да задоволи потребителя, трудоемкостта на процеса е много уморителна. Факт е, че трябва постоянно да следите температурата, често изхвърляте твърдо гориво. Не всеки може да напусне работата си и да бъде разпален в оранжерията си през цялата зима. И заслужава ли си?


Когато изграждате отопляеми оранжерии със собствените си ръце, трябва да се има предвид, че филмът и стъклото не поддържат топлината добре и следователно трябва да се отопляват по-добре. Клетъчният поликарбонат, благодарение на своя дизайн, поддържа топлината добре и следователно разходите за отопление ще бъдат по-малки.
Отоплението с котли, генериращи топлина, също е добра гледка. За разлика от обикновените печки, топлинният генератор с твърдо гориво трябва да се зарежда не повече от 2 пъти на ден. Има системи за дизелово гориво. Ефективността на такова отопление не е най-високата.
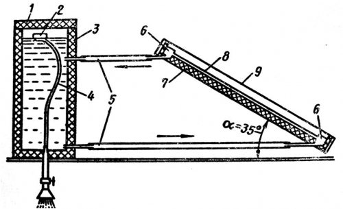
Оранжерийно слънчево отопление (слънчев въздушен колектор)


За да се създаде такава система, е необходимо да се обмисли разположението на въздушния колектор, за да се осигури циркулация на въздуха. За да могат въздушните маси да се движат независимо, входът трябва да е разположен по-високо от изхода. Тогава топлият въздух ще се издигне и ще влезе в оранжерията, а охладеният въздух ще се върне обратно в колектора, там ще се загрее и ще повтори цикъла.


Приятели! Като част от нашия портал стартирахме книга за това как да направите морава със собствените си ръце. Ако тази тема ви интересува, ПРОЧЕТЕТЕ ОЩЕ >>
Ако, обаче, за да се организира принудителната циркулация на въздуха, е необходимо да се монтират вентилатори близо до входа. Така почвата ще се затопли по-равномерно.
За да се поддържа въздухът топъл през нощта, е необходима допълнителна верига, за която може да се използва нагревател на вентилатора.
Не е трудно да се направи колектор. За да направите това, трябва да сглобите кутия от влакнести влакна, чиято височина трябва да бъде около 15 см. Можете да я укрепите с ребра за усилване. На дъното трябва да се постави слой минерална вата, който да се покрие с абсорбатор.
Всички шевове трябва да бъдат запечатани и вътрешната повърхност боядисана в черно. Страните трябва да бъдат оборудвани с тръби, през които въздухът ще влиза и излиза. След това кутията се затваря с закалено стъкло и фугите отново се обработват с уплътнител.
Кутията е фиксирана на покрива, въздуховодите са насочени в отворите в стените на оранжерията. Можете да доставите няколко подобни колектора. Температурата на въздуха в тях ще бъде около 50 градуса.
https://youtu.be/BFO98DVrFd4
Каква трябва да бъде оранжерията?
Всички оранжерии работят по подобен начин. Зимните оранжерии имат някои характеристики, които трябва да се спазват по време на строителството.
Зимна оранжерия от поликарбонат е стационарна сграда и изисква създаването на висококачествена основа и здрава рамка.
Предпоставка за създаване на целогодишна оранжерия е капиталовата фондация. Дървената основа няма да работи, защото трябва периодично да се сменя.
Най-добрият вариант е бетонна, тухлена или блокова основа. Ивичната основа е създадена по периметъра на конструкцията, тя е доста лесна за инсталиране и в същото време относително евтина.
Вторият важен момент е оранжерийната рамка. Зимното използване предполага периодични снеговалежи.Натрупването на сняг на покрива води до много големи натоварвания на рамката, което може да доведе до разрушаване на цялата конструкция. Рамката може да бъде направена от дърво или метал.
И двата материала са податливи на разрушаване и ще изискват предварителна подготовка, а в бъдеще - профилактика и периодична подмяна на неизползваеми елементи.
Подготовка за строителство
В мрежата можете да намерите много готови решения за изграждане на оранжерии и да ги адаптирате към вашите нужди. Можете също така да създадете своя собствена рисунка въз основа на вашите нужди и желания.
Има специални програми за създаване на чертежи. Те ви позволяват да видите готовия модел на бъдещата сграда.
Във всеки случай, когато създавате оранжерия със собствените си ръце, трябва да обърнете внимание на няколко фактора.
На първо място, трябва да изберете място за по-нататъшно строителство. Трябва да изберете въз основа на три основни фактора:
- Осветление. Оранжерията трябва да получава максимално възможното количество слънчева енергия.
- Вятърни условия. Силните и поривисти ветрове представляват не само риск от срутване на конструкцията, но и големи топлинни загуби. Следователно е необходима защита от вятър. Например можете да поставите оранжерия до стената на къщата или да засадите ниски многогодишни растения на разстояние 5-10 метра.
- Удобство. Достъпът до юница трябва да бъде достатъчно широк и удобен, което значително ще улесни поддръжката на сградата.
За да увеличи максимално количеството слънчева светлина, оранжерията може да бъде разположена по дължината си от запад на изток.
След това трябва да изберете формата на покрива на бъдещата конструкция. Най-често това е двускатен или сводест покрив.
Формата на покрива трябва да устои на натрупването на сняг през студения сезон. Двускатният покрив е най-лесният за инсталиране.
Материалът на рамката също е важен. Най-здравият и издръжлив материал е металът.


Но е важно да запомните, че създаването на метална рамка ще изисква заваряване за издигане на конструкцията. От друга страна, дървото не изисква специални инструменти или умения, то е доста достъпно.
И ако допълнително го отворите с няколко слоя боя, тогава той може да служи дълги години. Чрез леко укрепване на конструкцията може да се постигне висока якост и стабилност.
Заслужава да се спомене и изборът на поликарбонат. Каква е необходимата дебелина на поликарбоната за зимна оранжерия? Ако за обикновена оранжерия е подходящ доста тънък лист (6-8 мм), тогава за зимни оранжерии са необходими панели с дебелина най-малко 8-10 мм. В противен случай съществува риск панелите да не издържат на натоварването и топлината да не се задържа зле в сградата.
Една от ключовите характеристики на зимната оранжерия е отоплителната система. Какъв вид отопление на оранжерия от поликарбонат да изберете през зимата? Как да направите отопление в оранжерия от поликарбонат през зимата със собствените си ръце? Как да отопляваме и изолираме оранжерия от поликарбонат за зимата със собствените си ръце, използвайки отопление на печката?
Отоплението с електрически уреди като инфрачервени нагреватели става все по-популярно. Как да организираме отопление на поликарбонатна оранжерия с инфрачервени нагреватели?


Инсталирането на такава система е много просто - просто трябва да свържете електрическата мрежа към оранжерията и да свържете електрическия уред. Ще трябва да похарчите пари за самия нагревател и електричество.
Инфрачервени поликарбонатни парникови нагреватели са инсталирани на тавана и са в състояние да осигурят температурата на въздуха вътре до 21 градуса по Целзий, а температурата на земята до 28 градуса.
Прочетете повече: Предназначение и схеми на свързване на термостат за отоплителен котел
Алтернативата е старият и традиционен метод за отопление на печката.
Той е много по-евтин и по-лесен за инсталиране. Недостатъкът му обаче е силното нагряване на стените; няма да е възможно да се отглеждат растения в близост до него.
И накрая, основата на цялата сграда трябва да бъде направена капитална и стабилна, защото силата на цялата конструкция зависи от нея. Създаването му не изисква сложни стъпки и може да бъде направено от всеки.
Строителните работи трябва да се извършват при сухо време с положителна температура.
Отопление на парникови пещи


Отопление на парникови пещи
Традиционното отопление на печката се характеризира с висока ефективност и относително проста подредба. Например можете да построите печка с хоризонтален комин без много финансови инвестиции.
Първа стъпка. Поставете горивната камера на печката в преддверието на вашата оранжерия. Извършва се традиционна тухлена зидария.
Втора стъпка. Поставете комин под леглата или по дължината на оранжерията. Може да се полага и под стелажите.
Стъпка трета. Прокарайте комина през стената на оранжерията. Помислете за поставянето на тръбата, така че да може ефективно да отстранява продуктите от горенето, като същевременно преминава през зони, които се нуждаят от отопление.


Отоплителна система на пещ в оранжерия
Поставете печката по такъв начин, че нейната камина да е на разстояние най-малко 25-30 см от крайната стена на оранжерията.
Можете също да направите печка от метална бъчва.


Принципът на действие на печка за оранжерия
Първа стъпка. Пригответе метален барабан с обем около 250 литра. Покрийте вътрешните стени на контейнера с два слоя боя, така че материалът да не ръждясва.
Втора стъпка. Маркирайте и изрежете отворите за печката, комина, дренажния клапан (монтиран отдолу) и разширителен резервоар (разположен отгоре).
Стъпка трета. Заварете печката (обикновено правоъгълна конструкция от стоманена ламарина според размерите на цевта) и я поставете в контейнера.
Четвърта стъпка. Извадете комина от цевта. Дължината на "уличната" част на тръбата трябва да бъде най-малко 500 cm.
Пета стъпка. Прикрепете разширителния резервоар към горната част на цевта. Можете да си купите готов контейнер или да го заварявате сами от ламарина. Резервоар от 20-25 литра ще бъде достатъчен.
Шеста стъпка. Заварете отоплителни тела с подходяща дължина от профилни тръби с размери 400x200x15 (да се ръководят от размера на оранжерията). Самите тръби трябва да бъдат положени на земята на стъпки от около 120-150 cm.


Как да направите парниково отопление със собствените си ръце
Седма стъпка. Купете и инсталирайте хидравлична помпа. Системата ще се отоплява с вода, така че помпата не може да се освободи.
Всяка дърва за огрев е подходяща за камината на такава печка. За максимална ефективност инсталирайте електронен температурен сензор в оранжерията и за по-голямо удобство поставете цифров контролен панел в къщата или на друго подходящо място.
С отопляема оранжерия, дори през зимата, тя е сита и спокойна
Инструкции
Как да изградим зимна оранжерия от поликарбонат със собствените си ръце?
- Създаване на основата.
- Монтаж на рамката.
- Инсталиране на комуникации.
- Монтаж на поликарбонатни панели.
За стационарна оранжерия лентовата основа ще бъде оптимална. За да го инсталирате, трябва да изкопаете изкоп с дълбочина около 30-40 см около периметъра на бъдещата сграда. След това целият изкоп се излива със слой бетон.
Когато създавате хоросан, смес от една част цимент и три части пясък ще осигури най-добро качество.
След като разтворът замръзне, можете да преминете към инсталирането на следващия слой. На основен слой се полага слой хидроизолация (подходящ е покривен материал). След това се оформя оранжерийната основа. Стена с малка височина е поставена от тухли. Достатъчна е дебелина на стената от една тухла. За строителство са подходящи не само нови, но и използвани преди това тухли.
След създаването на основата и пълното втвърдяване на разтвора можете да пристъпите към монтажа на рамката.
Най-простият и достъпен вариант за създаване на рамка е дървена рамка.Неговата инсталация не изисква специални знания или умения, както и заваряване. Важно е предварително да подготвите дървените елементи преди монтажа.
Първо трябва да почистите елементите от мръсотия и прилепнала почва с четка, след това да шлайфате с фина шкурка. След това изплакнете с течаща вода и оставете да изсъхне напълно.
След това можете да пристъпите към нанасяне на боя и лак. Боята за използване на открито, устойчива на висока влажност и различни температурни условия, е най-подходяща. След като боята изсъхне, можете да нанесете няколко слоя лак отгоре.
Един добър начин да защитите дървото е да го импрегнирате с епоксидна смола преди боядисване.
Сега по периметъра на основата е монтирана греда със сечение 100x100 mm. За да създадете покрив, можете да използвате греда с разрез 50x50 мм. При изграждането на покрив е необходимо да не се допускат площи без опора за повече от 1 метър. Също така, по билото трябва да се поставят няколко опори за допълнително укрепване на конструкцията.
За максимална здравина можете да създадете и лента от дъска.
Елементите се закрепват с самонарезни винтове и метална лента.
Можете да добавите малко преддверие на входа на оранжерията. Това ще намали топлинните загуби при влизане и излизане от оранжерията.
Следващият етап е свързан с инсталирането на отоплителна система, осветление и други необходими комуникации.
По билото на покрива са монтирани лампи, достатъчни за осветяване на цялата стая. За удобство всички ключове са най-добре поставени близо до входа.
При инсталиране на отопление на печка се монтира комин. Важно е да запомните, че когато фурната работи, тръбите на комина се нагряват много и могат да стопят поликарбонатните панели.
Последният етап от създаването на зимна оранжерия е инсталирането на поликарбонатни листове. Листовете се закрепват заедно с помощта на Н-образен профил. От краищата на панела е монтиран U-образен профил. Самите листове са инсталирани вертикално, след което влагата тече по-добре през тях.
Не закрепвайте листовете твърде твърдо. Поликарбонатът се разширява при нагряване и твърде твърдата инсталация може да доведе до пукнатини.
Поликарбонатът се закрепва с самонарезни винтове с уплътнение. Уплътнението предотвратява навлизането на влага през отворите. Преди монтажа се правят отвори върху листовете с диаметър, малко по-голям от самонарезния винт. Между рамката и панелите се полага специална уплътнителна лента.
След това оранжерията е готова за употреба.
Създаването на зимна оранжерия е малко по-трудно от обикновената, но всеки може да го направи и не изисква специални умения.
Освен това създаването на такава оранжерия не изисква сериозни финансови инвестиции. А резултатът под формата на прясна храна през цялата година си струва усилията.
Подово отопление в оранжерия
Отопляема оранжерия от поликарбонат със собствените си ръце може да бъде направена с интегрирано отопление. В крайна сметка е необходимо да се загрее не само въздухът, но и почвата, в която растат растенията. За това някои използват конструкцията "топли подове". Полага се пясъчна възглавница, върху нея има защитна мрежа, след това нагревателен елемент или кабел, след това отново защитна мрежа и пясъчна възглавница отгоре.
След това почвата се излива на слой до 20 см. Необходимо е да се монтира термостатът, така че почвата да не се затопли повече от 45 градуса, в противен случай корените на растенията могат да страдат. Този метод на електрическо отопление е много икономичен с висока ефективност. Слънцето затопля оранжерията отгоре, клетъчният поликарбонат поддържа топлина. Почвата също се затопля отдолу и топлината се издига от нея.
Прочетете повече: Самонивелиращи се смеси за характеристики на пода
Най-ефективният метод за отопление
Тази опция за отопление е подходяща за малки, добре направени оранжерии.Ако конструкцията заема значителна площ или в нея има незапечатани прорези, през които навлиза студен въздух, оборудването на оранжерията с електрическо отопление може значително да удари портфейла ви.
| Пистолет за горещ въздух | |
| Има висящи и външни топлинни пистолети. Това оборудване се основава на вентилатор с висока мощност и нагревателен елемент. Когато топлинният пистолет работи, нагрятият въздух се издухва под високо налягане, допринасяйки за отдалеченото разпространение на топлина в оранжерията. Недостатъците на този метод на отопление са значителна консумация на енергия и силно загрят въздух на изхода, което изисква внимателен избор на място за инсталиране на електрическия уред. | |
| Електрически конвектор | |
| В основата на този отоплителен уред (като топлинен пистолет) има термостат и нагревателен елемент. Въпреки това, електрическият конвектор се различава от последния, преди всичко, по принципа на действие. Въздухът навлиза в него отдолу, загрява се и излиза през отворите, предвидени в горната част. Разбира се, топлинният пистолет ще осигури по-бързо нагряване на въздуха в оранжерията, но конвекторът помага да се запази кислородът по време на отоплението. Обикновено такова оборудване е инсталирано на пода или стените, в някои случаи - на тавана. Конвекторите могат да се използват в тандем с друго отоплително оборудване. Трябва да се помни, че електрическите конвектори консумират много електричество. | |
| Вентилаторен нагревател | |
| За разлика от конвекторите, които затоплят равномерно оранжерията, нагревателят на вентилатора насочва потока горещ въздух в една посока. Тези термични устройства са много подходящи за отопление на малки оранжерии. Те са оценени заради компактните си размери, лекотата на инсталиране и доброто разсейване на топлината. И на цена са доста достъпни. Вентилаторът е в състояние ефективно да затопли въздуха в оранжерията за кратко време и да осигури на растенията комфортна температура. Благодарение на компактните си размери, те могат да бъдат инсталирани навсякъде в оранжерията. Важно е нагревателите на вентилатори по време на работа не само да загряват въздуха, но и да осигуряват обмен на въздух вътре в оранжерията. Един нагревател на вентилатора ще бъде достатъчен за отопление на площта до 20 кв.м. | |
Предимствата на изброените по-горе устройства са ефективност и мобилност. Вярно е, че тук има и достатъчно недостатъци: при малък брой нагреватели или недостатъчната им мощност въздухът ще се нагрява неравномерно. И ще има малко възможности за нагряване на почвата при избора на този метод на отопление.
Един от най-лесните начини да поддържате желаната температура в оранжерията е да имате „топъл под“, който се използва за отопление на почвата. Не е трудно да се организира такова зимно отопление на оранжерия със собствените ви ръце, дори начинаещ летен жител може да се справи с това.
Дизайнът е доста прост. Най-популярната система е водоустойчива отоплителна подложка. За да създадете "топъл под" в оранжерията, отстранете до 40 см пръст и поставете предварително пресят пясък на дъното на вдлъбнатината със слой от 5-10 см. След това нагревател (експандиран полистирол, полиетиленова пяна и др.) се полага във вдлъбнатината.
https://www.youtube.com/watch?v=Cc3rFxXcJ2w
Телта на "топлия под" се полага със змия върху уплътнения пясък с стъпка 15 см. Готовата отоплителна система отново се покрива с 5-10 см слой пясък, върху който се полага мрежата. На следващо място, "пай" се покрива с предварително отстранена почва.
Такава система за отопление на почвата в оранжерия не изисква специални разходи както на етапа на монтаж, така и по време на работа. Друг плюс е възможността за автоматично регулиране на отоплението и равномерно разпределение на топлината в цялата оранжерия.
Най-енергийно ефективният начин е да отоплявате оранжерията отдолу. В този случай топлият въздух не трябва да прави цикъл през целия обем на оранжерията, както при използване на други отоплителни устройства.
Инфрачервеното отопление се счита за един от относително евтините видове парниково отопление през зимата. Много градинари вече са зарязали електрически нагреватели в полза на инфрачервените лампи. Тези лампи са идеални за отопление на оранжерии от поликарбонат. Освен това те не блестят, а отопляват помещението и това ги прави по-евтини в сравнение с други устройства от този вид.
С помощта на инфрачервени лампи в една оранжерия могат да се организират различни климатични зони. При нагряване почвата отделя топлина във въздуха. Регулаторът, вграден в лампата, ви позволява да създадете температурата, необходима за всяка конкретна култура. Важно е инфрачервените лампи да се инсталират лесно навсякъде в оранжерията.
Безспорното предимство на такова оборудване е спестяването на енергия до 60%.
Всички тези нагреватели имат различен механизъм на действие, но в крайна сметка те изпълняват основното си предназначение - създават микроклимат, необходим за растенията в оранжерията през зимата. Ако са поставени правилно, електрическите нагреватели ще помогнат за равномерно нагряване на въздуха и подобряване на растежа на растенията.
Оранжерийното отопление може да бъде разделено на естествени и изкуствени методи за отопление. Естественото, както не е трудно да се отгатне, се състои в създаването на парников ефект (и съответно отопление на растенията и почвата) чрез слънчева енергия, проникваща през оранжерийното покритие. Този метод е чудесен за отглеждане на топлолюбиви култури от около средата на пролетта.
Освен това е препоръчително да изберете място, което е надеждно защитено от течения, които причиняват охлаждане на покритието на оранжерията.


Естествено отопление на оранжерията с помощта на слънчева светлина
Разбира се, този метод на отопление не може да се счита за завършен, когато става въпрос за отглеждане на култури целогодишно. Тук се изисква допълнително отопление, което може да създаде естествен парников ефект през студения сезон. Сред основните методи за отопление на оранжериите най-често се предпочитат електрическите, газовите и твърдите горива.
Има и друг начин как да отоплявате оранжерия от поликарбонат през зимата. Това са инфрачервени електрически лампи и нагреватели. Тези устройства са добри, защото не изсушават въздуха и действат като слънчева енергия. Както знаете, когато достигат повърхността на Земята, слънчевите лъчи загряват обекти и се отразяват от топлината. Инфрачервените лампи и нагреватели също работят.
Ако те са поставени по цялата дължина на оранжерията, под тавана, тогава те ще затоплят почвата, растенията, стените и, отразявайки, топлината ще се натрупва в стаята. Те са абсолютно безвредни, с много висока ефективност. Защото те дават много топлина, а консумацията на енергия е ниска. Такова отопление може много лесно да се регулира, за да се създаде желаният микроклимат в оранжерията.
Може би днес това е най-безопасният и печеливш метод за отопление на оранжерия през зимата.
Простите и икономични методи за естествено отопление са спомагателни. Това са енергия от слънчевите лъчи и биогорива.


Слънцето е най-икономичната форма на енергия
Слънчевото отопление е подходящо за региони, където климатът е мек и средната зимна температура не пада под нулата. За по-студените региони този метод се използва от март до април. За да могат растенията да получават достатъчно светлина и топлина, оранжерията трябва да бъде поставена в добре осветена зона без течение.
Прозрачният заоблен покрив се затопля по-добре със слънчевите лъчи. Такава сводеста форма на оранжерийните конструкции е най-устойчива на ветрове и различни натоварвания.
Използването на биогорива е доказано от векове. Старият народен метод се основава на способността на органичните вещества да отделят голямо количество топлина по време на разлагането.Опитните градинари използват това, за да оборудват топли легла, като смесват тор за домашни любимци с компост, направен от гнила слама, кора, трева, листа или неизползваеми плодове. Конският тор се нагрява особено бързо.


Торът ще оплоди и в същото време ще изолира почвата
Вместо оборски тор можете да използвате специални сухи брикети, които нямат специфична миризма, но действат също толкова ефективно. За начало биогоривото се добавя леко към добре разрошената почва. Когато една седмица по-късно от лехите започне да тече пара, те могат да бъдат покрити с плодородна почва и да бъдат засадени разсад. Високите топли легла са удобни и практични по отношение на грижата за тях.
Естествените евтини методи са спомагателни, тъй като слънчевата енергия не винаги е достатъчна за отопление на оранжерията и биогоривото започва да се разлага само при определен температурен режим.
Отопление
В зависимост от това къде живеете, можете да решите дали имате нужда от допълнително отопление. ... Зимни парникови методи за отопление:


Слънчева енергия. Всеки знае, че въздухът през зимата има доста ниска температура. Но слънчевите лъчи носят достатъчно топлина и енергия. Използването му е доста ефективно, евтино и най-важното е екологично. Използването на поликарбонат помага за разсейване на слънчевата светлина върху оранжерийното пространство. Слънцето загрява въздуха до оптимални температури, а поликарбонатът предотвратява изтичането му. Този метод на отопление е ефективен, ако живеете в район, където слънцето през зимата е доста често, а ниските температури са рядкост. Е доста известен парников ефект. Но такова отопление на оранжерии има значителен недостатък - невъзможно е да се контролира слънцето и слънчевите лъчи. Също така е невъзможно да се предвиди нивото на слънчевата активност. Така че този метод, макар и ефективен, е доста непредсказуем.


Биологична система. Този метод на отопление може да се нарече най-древният, доказан, с ниска консумация на енергия и ефективен. Всички са наясно с факта, че биологичните продукти генерират топлина по време на гниене. С тяхна помощ можете перфектно да загреете не само въздуха, но и горния слой на земята. Биологичният материал може да бъде напълно различен: конски тор, пилешки тор, кора от дърво, слама, дървени стърготини и други опции. Конският тор е най-добрият вариант. Факт е, че може да се загрее до 70 градуса и да поддържа тази температура около три месеца. Поради наличието на поликарбонат, такава система много ефективно загрява въздуха и земния слой, което е важно за растежа на растенията и техните плодове, например краставици. Освен това е възможно да създадете специален материал за ефективно отопление на оранжерия със собствените си ръце. За да направите това, е необходимо да поставите следните слоеве: ситно нарязана слама, вар селитра отгоре. Всички тези слоеве трябва да се поливат с гореща вода, да се уплътняват плътно и отгоре да се изсипва слой пръст. Резултатът е биогориво, което ефективно загрява земята и въздуха в оранжерията през зимата. Основното нещо -.


Техническо отопление на оранжерии. ... При такива условия предходните два метода за отопление на оранжерия от поликарбонат няма да бъдат добро решение. Една зимна оранжерия, разбира се, има някои възможности, но когато навън е силна слана, е доста трудно да се поддържат високи температури в оранжерията. Тук на помощ идват техническите опции за отоплителни системи. Има повече от един метод за техническо отопление на зимна оранжерия:
- Електрическа опция. Ако разгледаме начина, по който ще се използват конвенционални нагреватели с вграден вентилатор, тогава можем веднага да отхвърлим тази идея. Това ще отнеме много енергия и ефектът няма да бъде впечатляващ.За да бъде ефективна електрическата система, за да се затопли добре въздуха през зимата на закрито, е необходимо да се използват кабели и нагревателни елементи. Те могат да бъдат положени не по периметъра на оранжерията, а в земята на дълбочина около 40 см. Този метод на отопление е много ефективен, но трябва да сте подготвени за факта, че през зимата ще струва много;
- Метод за нагряване на вода. Това е същият метод, използван в жилищните сгради. Той е доста ефективен, популярен и активно използван за отопление на зимна оранжерия. ... Освен това инсталирането на такива системи лесно се извършва със собствените ви ръце. Това ще изисква котел и тръбни системи. Тръбите могат да се полагат както по периметъра на оранжерията, така и директно в земята, върху специално създаден дренажен субстрат. Газ, електричество, въглища и дърва за огрев могат да се използват като гориво за котела за загряване на водата. Горивото се избира в зависимост от избрания тип котел. Важно е да се извърши отопление на големи оранжерии от поликарбонат по този начин. Разходите ще бъдат оправдани и системата ще загрее добре въздуха и земята през зимата до необходимите температури;
- Оранжерийни инфрачервени отоплителни системи. Този метод се счита за последната дума в технологичния процес. За да постигнете целта, можете да използвате различни видове устройства за инфрачервено лъчение: екрани, панели и лампи. Предимството им се крие във факта, че те загряват почвата до необходимите температури, а не въздуха изобщо. Такива методи за отопление на поликарбонатна оранжерия са енергийно ефективни. ;
- Отопление на печки. Да, тази опция също е възможна. Това е един от древните методи за отопление, използван в някои села. Това е трудоемък процес и в действителност неефективен. Такова отопление на оранжерии не трябва да се оставя без надзор и постоянно да се поставят дърва за огрев, така че температурата да не падне под предписаната граница.


Изброените методи на система за отопление на парникови поликарбонати могат да бъдат създадени със собствени усилия и със собствените си ръце. ... Правилното отопление на оранжерията е ключът към отличната реколта, която ще зарадва трапезата ви през зимата. Зимна оранжерия е чудесна възможност да изпълниш желанията си и да приближиш дългоочакваната пролет малко по-близо.


