Предимствата на цевната печка
Когато сглобяват домашно приготвени печки, занаятчийските майстори често използват стари газови бутилки или ламарина. Проблемно е да получите и двете, и дори почти безплатно. Това се отнася в най-голяма степен за ламарината, която най-често се купува просто. Бъчви от 200 литра са по-достъпна суровина за изграждане на отоплително оборудване.
200 литра е съвсем приличен обем. Камина, организирана в цев, ще побере голямо количество дърва за огрев, което е необходимо за изпълнението на продължително изгаряне. Също така, ще има място за просторен тиган за пепел. С други думи, стара метална цев все още ще служи в полза на човек, като му осигурява топлина и комфорт.
Печката с барел е отлично решение за отопление на нежилищни помещения от всякакъв тип. Той ще се побере в гаража, ще даде топлина на малка работилница и ще отоплява мазето. Неговото сглобяване не отнема много време, но трябва да обърнете внимание на избора на изходен материал. Избраната цев не трябва да ръждясва - колкото по-дебел е металът, толкова по-дълго ще продължи самата печка. Следователно не е необходимо да спестявате от монтажни материали.
Други предимства на цевта:
- Обемът от 200 литра е достатъчен за нормално изгаряне на пламък в пещта.
- Възможност за организиране на просторна и лесна за почистване тава за пепел.
- Непретенциозност към горивото - печката ще може да работи върху всичко, което гори.
- Лесен за работа.

Готварска печка от 200-литрова цев се търси сред тези, които се нуждаят от евтино и лесно за сглобяване отоплително оборудване.
Има и недостатъци:
- Висока температура на корпуса.
- Ниска ефективност - част от топлината просто лети в комина.
- Тънки стени - Издръжливите фурни изискват 3-4 мм метал.
Печка с цев: характеристики на хоризонталния модел
От цев, която има обем от 200 литра, също е възможно да се направи нагревателно устройство, разположено в хоризонтална равнина. В този случай е необходимо също така да се подготви носещата конструкция. Височината му се изчислява, като се вземат предвид индивидуалните експлоатационни характеристики. При избора на този индикатор, на първо място, трябва да се съсредоточите върху размерите на помещението, в което ще бъде монтиран домашният нагревател.
При чертежа на пещта е необходимо да се вземат предвид особеностите на нейното местоположение. Сглобяването на такава конструкция се извършва по почти идентичен начин, както при вертикално отоплително устройство. Нека разгледаме по-подробно процеса на самостоятелно производство на печка от метален контейнер.


От цев с обем 200 литра можете да направите нагревателно устройство, разположено в хоризонтална равнина
Забележка! Размерите на пепелника не трябва да надвишават 1/3 от височината на кутията. Размерът на цев от 200 л (по-точно височината) обикновено е 85 см.
В дъното на резервоара трябва да се направи дупка, която ще се използва за отстраняване на пепелта. В същото време трябва да разберете, че параметрите му не трябва да са твърде големи. След това трябва да направите тава за пепел. Като материал за този елемент се използва обикновен метален лист с подходяща дебелина. След това трябва да се закачи с дъното на нагревателя. За това е обичайно да се използва заваръчно оборудване.
Свързана статия:
Фурна за отработено масло: Направи си сам за изработка на устройство
Принцип на действие. Типове устройства. Фабрично сглобени модели. Изработване на пещ за обработка със собствените си ръце, опции за дизайн.
При подреждането на пепелника е необходимо да се предвиди прозорец за наблюдение, през който това отделение ще се почиства. На следващо място се извършва инсталирането на конструкцията на комина. В този случай има две често срещани опции за местоположението на тръбата - на задната стена или в горната част.
Печка с дълго изгаряне, разположена в хоризонтална равнина, може да се използва не само за отопление на гаражи, мазета и стопански постройки, но и за готвене. За това той е оборудван със специален плот. Такова устройство е мобилно, така че може да бъде изнесено в провинцията.


Барел с обем от 200 литра е монтиран хоризонтално върху опори
Последователност на сглобяване
Печката с цев се сглобява лесно и изисква не по-малко сложни инструменти. Ще ни трябва:
- ъглошлайф (шлайф);
- заваръчна машина;
- ножовка за метал за работа с малки части (това е по-удобно);
- машина за мелене.
Ще ви трябват и помощни материали:
- парчета ламарина - за попарване на врати;
- панти за врати;
- комин метал;
- метал за крака;
- тухла и цимент за организиране на основата за печката;
- фитинги за създаване на решетка.
Подгответе режещи колела за мелницата и електроди за заваръчната машина (ако се използва електрическо заваряване).


Изработването на печка от цев не е най-трудната задача, най-важното е да следвате точно нашите инструкции и да спазвате предпазните мерки.
Първоначална подготовка на цевта
Направата на печка от цев със собствените си ръце е толкова лесна, колкото обстрелването на круши. Първата стъпка е подготовката на нашия "източник". Цев с обем 200 литра трябва да се почисти от боя (ако е боядисана). Тези, които пренебрегват тази стъпка, ще трябва да вдишат ароматите от горящата боя. Нашата цел е да направим цевта лъскава и в същото време да се отървем от ръждиви петна. Използвайте мелница, за да смилате метал.
В следващата стъпка се въоръжете с мелница и внимателно изрежете два правоъгълни прозореца в цевта. Работете внимателно с инструмента, тъй като изрязаните правоъгълници ще ни бъдат полезни като врати. Обработваме ръбовете със същата шлайфмашина или пила, за да не са толкова остри. Вратата на горивната камера трябва да е по-голяма от вратата на пепелника. Освен това вратата на пепелника ще служи като вентилатор.
Събираме решетката
Използвайте фитинги, за да направите решетката. Диаметърът на стандартен 200-литров цев е 571,5 мм. Следователно решетката трябва да е с по-малък диаметър, за да премине през вътрешния обем. На нивото между вратата на камината и вратата на пепелника правим произволни издатини - самата решетка ще опира върху тях. Например можете да ги направите от ламарина и да ги заварявате към вътрешните стени.
Печка от бъчва ще генерира доста пепел, която попада в пепелника. Следователно тя трябва да е голяма - препоръчителната височина е 100-130 мм. Не правете вратата твърде тясна, в противен случай ще има проблеми с лекотата на почистване.
Ние подготвяме вратите
Вратите на нашата печка ще бъдат очевидно по-малки от прозорците за зареждане и пепел. Следователно те трябва да бъдат попарени по периметъра с парчета ламарина с ширина около 20 mm. Също така изрязваме дръжки от ламарина, нит или ги завиваме към вратите. На следващия етап заваряваме внимателно пантите, след което заваряваме вратите към самата печка - сега нашата 200-литрова цев е почти готова да служи за втори живот.
Осъществяване на основата


За нашата 200-литрова цев е желателно да се правят крака. Адаптирайте парчета дебела армировка за това или ги направете от метални ъгли с дебелина 2-3 мм. Оптималното разстояние от дъното на цевта до основата е 100 мм.
Възнамерявайки да направите печка от цев, помислете за мястото на нейното инсталиране. Ще ви трябва надеждна, незапалима основа.Най-добре е да го направите от тухли или да излеете бетонна замазка. Пространството пред печката е направено от негорим материал - например положен тук желязо. Ако подът в отопляемото помещение е бетон, просто поставете върху него лист желязо и поставете цев върху него.
Ние подготвяме комина
Дизайнът на печката от 200-литрова цев предполага задължителното присъствие на комин. Би било хубаво, ако беше подвижен - системата тръба в тръба е подходяща за това. Тоест, заваряваме към печката тръба с по-малък диаметър с височина 100-150 мм и вече поставяме върху нея основния комин с по-голям диаметър. Можете също да използвате готови фабрични сгъваеми комини. Изводът е, че печката може бързо да бъде почистена, като я извадите от основата - обем от 200 литра изобщо не означава, че никога няма да се задръсти от дим и сажди.
Окончателно сглобяване на фурната
Вземаме нашата 200-литрова цев със заварени към нея крака, монтираме я на предварително подготвена основа. Спускаме решетката вътре. В следващата стъпка заваряваме горния капак с къс комин. След това поставяме основния комин върху него и отиваме за дърва за огрев.
Поставете малко хартия и малки чипове върху решетката, запалете огън, постигнете стабилен пламък. Сега започнете да полагате основните дърва за огрев - най-добре е, ако са сухи. Мокрите трупи горят по-зле и дори пушат, запушвайки комина. Затворете вратата на горивната камера и регулирайте интензивността на горенето с вентилатора. Не забравяйте периодично да добавяте нови порции гориво, докато достигне зададената температура.
Печка от цев от 200 литра: диаграма, чертежи, снимки, видео


Домашна печка от метална 200-литрова цев: чертежи, схема на печката, снимка и
Стандартна метална 200-литрова цев има височина 860 мм, диаметър 590 мм и тегло 20 - 26 кг.
Размерите на цевта са почти идеални за направата на печка от нея, единственото предупреждение са тънките стени на цевта 1 - 1,5 мм, които бързо ще изгорят от високата температура. Алтернативно, камината може да бъде облицована с огнеупорни тухли отвътре.
За да направите пещ, ще ви трябва:
- Две бъчви от 200 литра.
- Врата на фурната.
- Гризли.
- Ламарина, ъгли и пръти.
- Коминна тръба.
- Огнеупорни тухли.
Инструменти:
- Мелница с отрязващо колело.
- Заваръчна машина.
- Електрическа бормашина.
Печка от 200-литрова цев: диаграма.


С помощта на мелница отрязахме горната част на цевта и изрязахме страничен отвор за вратата на пещта.


С помощта на заваръчна машина заваряваме вратата на пещта към цевта. На височина 20 см от дъното на цевта инсталираме решетки за пепел.
За тавата за пепел може да се направи отделна врата; като я отворите леко, можете да регулирате тяговата сила във фурната.
За да предотвратите изгарянето на металните стени на цевта с течение на времето, трябва да поставите вътрешната повърхност на горивната камера с огнеупорни тухли. За да прилепнат по-плътно тухлите, ги изпратихме с мелница.


За полагане на лабиринта на комина трябва да заварявате напречната греда от ъглите под тухлите.


Тухлите се поставят върху хоросана на фурната. Съставът на разтвора на пещта е 1 част глина на 2 части пясък, сместа се омесва с минимално количество вода до много плътна консистенция.
Дебелината на зиданите фуги не трябва да надвишава 5 мм.


За да увеличите топлопредаването на пещта, можете да инсталирате друга цев отгоре. Под комина трябва да направите дупка в цевта и да заварите парче тръба под комина.


Коминът ще трябва периодично да се почиства от сажди, така че е по-добре да го направите сгъваем, препоръчвам да прочетете статията за това как да направите комин за печка.
Модернизация на конструкцията
Цев с вътрешен обем от 200 литра може да осигури прилично количество топлина. Но ефективността на топлопредаването ще бъде малка. Част от топлинната енергия напълно ще отлети в тръбата. Следователно печката трябва да бъде леко преоборудвана. Това се прави по следните начини:


Тези стъпки ще ви помогнат да направите печката си по-ефективна. Ако не намерите проба за 200 литра, можете да я вземете за 150 литра - в нея ще има малко по-малко място, така че ще трябва да изхвърляте по-често дървата за огрев.
- Тухлени стени се строят отдясно, отляво и зад цевта - те ще работят като вид акумулатори на топлина.
- Печката е попарена с кръгли тръби с малък диаметър (например на инч) - оформен е конвектор, който ще предизвика циркулация на въздуха в помещението и ефективно ще отстрани топлината от печката.
- Чрез удължаване на хоризонталната част на комина - преведете го през цялото помещение, за да вземете максимална топлинна енергия от продуктите на горенето.
Ще ви предложим още няколко идеи за модернизиране на печката от 200-литрова цев. Например можете да оформите вътрешността му с огнеупорни тухли. За да организирате плота, използвайте чугунната вложка в горния капак. Опитайте се да направите печка с повишено разсейване на топлината - заварете две цеви заедно на височина. Има и модификации с хоризонтални бъчви.
Интересна печка с каменна зидария
200-литрова цев може да служи като основа за друга интересна печка - със зидария вътре. За да го изградите, ще ви трябва:
- самата цев;
- дебела метална тел или армировка;
- големи заоблени речни камъни;
- коминни тръби.
В такава печка няма тава за пепел, така че ще има известни трудности с почистването. Веднага препоръчваме да направите вратата на горивната камера на нивото на дъното на цевта - по този начин е по-удобно да изгребвате пепелта. От армировка или дебела метална тел правим един вид решетка. Само тук тя ще изпълнява различна роля - ще поддържа зидарията.
За да сглобите печката, е необходимо да отрежете горния капак от цев с обем 200 литра и да го оборудвате с тръба за свързване на комина. В долната част изрязахме врата за съхранение на дърва за огрев с височина 150-200 мм. Фиксираме решетка на височина 250 мм, върху която натрупваме камъни до върха. Моля, обърнете внимание, че са необходими точно големи камъни, така че продуктите от горенето да преминават през пространството между тях.
Печката ще се нуждае от солидна негорима основа с метален лист пред камината - тя ще бъде доста тежка, така че краката трябва да са здрави или да липсват изобщо. Цевта се поставя върху основата, преди да се поставят камъните в нея. В противен случай няма да го преместите по-късно. След като инсталирате печката на първоначалното й място, заварете капака и свържете комина - можете да започнете разпалването. За да се подобри сцеплението, се препоръчва да се пробият няколко отвора с бормашина с диаметър 4-5 мм - през тях ще се засмуква въздух.
С настъпването на студеното време възниква проблемът с отоплението на помещенията. Това важи особено за селските къщи, които нямат централно отопление. Всяко затруднение обаче трябва да бъде решено навреме. В постсъветското пространство има добре позната печка, наречена "печка". Изработва се от различни метали, но понякога се използват скрап материали. Статията ще обсъди процеса на това как да направите печка от цев със собствените си ръце.
Камина от цев. Правила за инсталиране на печка за печка
За да нямате проблеми и всякакви неприятности с печката, тя трябва да бъде инсталирана, придържайки се към определени правила за безопасност:
- Фурната трябва да се монтира само на огнеустойчива повърхност. Възможно е да го направите сами, като използвате плочка от плочка или с помощта на тухла. Стените, разположени в близост до печката, също трябва да бъдат защитени от прегряване. Най-добрият ефект може да бъде постигнат чрез използване на специализиран гипсокартон, както и всякакъв друг негорим материал;
- Никога не поставяйте запалими материали в близост до горивната камера;
- Също така трябва да оборудвате отлична вентилационна система в помещението, в което ще се намира печката.Това е много важен фактор, тъй като концентрацията на въглероден окис в помещението трябва да бъде намалена до нула;
- За да направите печка с гърне, трябва да използвате само висококачествен материал.
Приготвянето на печка с гърнета е абсолютно просто, както видяхте. За такъв случай са ви необходими само подръчни материали, които често се намират в гаража или в дачата на почти всеки човек. Печката с гърне ще зарадва окото, ако всички детайли бъдат обмислени до най-малкия детайл и направени много внимателно.
Домашна печка от метална 200-литрова цев: чертежи, схема на печка, снимка и видео. Печката с барел може да се използва за отопление на гаражи, работни помещения, оранжерии и други площи.
Стандартна метална 200-литрова цев има височина 860 мм, диаметър 590 мм и тегло 20 - 26 кг.
Размерите на цевта са почти идеални за направата на печка от нея, единственото предупреждение са тънките стени на цевта 1 - 1,5 мм, които бързо ще изгорят от високата температура. Алтернативно, камината може да бъде облицована с огнеупорни тухли отвътре.
За да направите пещ, ще ви трябва:
- Две бъчви от 200 литра.
- Врата на фурната.
- Гризли.
- Ламарина, ъгли и пръти.
- Коминна тръба.
- Огнеупорни тухли.
Инструменти:
- Мелница с отрязващо колело.
- Заваръчна машина.
- Електрическа бормашина.
Печка от 200-литрова цев: диаграма.
С помощта на мелница отрязахме горната част на цевта и изрязахме страничен отвор за вратата на пещта.
С помощта на заваръчна машина заваряваме вратата на пещта към цевта. На височина 20 см от дъното на цевта инсталираме решетки за пепел.
За тавата за пепел може да се направи отделна врата; като я отворите леко, можете да регулирате тяговата сила във фурната.
За да предотвратите изгарянето на металните стени на цевта с течение на времето, трябва да поставите вътрешната повърхност на горивната камера с огнеупорни тухли. За да прилепнат по-плътно тухлите, ги изпратихме с мелница.
Предимствата на самоделното отоплително устройство
Печка за печка може да бъде сглобена от различни материали. Майсторите за този бизнес използват стари цилиндри или метални листове, които след това се свързват с помощта на заваръчна машина. Не всеки обаче има споменатите неща, още повече, че не е лесно да заварявате правилно метала. Освен това ще трябва да се купуват железни листове, а цената им е висока. Ето защо майсторите препоръчват да се направи печка от 200-литрова цев. Това е евтин и достъпен дизайн, от който може да се направи отоплително устройство с всякаква сложност.
Защо се препоръчва да се използва цев с такъв размер? Отговорът е следният: в него ще се поберат много дърва за огрев или други суровини, с които можете да осигурите дългосрочно изгаряне. Освен това в металната цев има достатъчно място, за да се оборудва просторна тава за пепел. Трябва обаче да знаете: оборудването не може да се нагрява с въглища, тъй като стените му просто ще се влошат поради високата температура на горене на споменатите суровини.
Печката за печка е оптимално отоплително устройство, което може да се инсталира в малък навес, гараж или мазе. Освен това можете бързо да го съберете със собствените си ръце. Трябва да знаете: разрешено е да се направи печка от цев само от висококачествени суровини - колкото по-дебел е металът, толкова по-добре ще бъде произведеното устройство. Ето защо се препоръчва да не се пести от изходния материал.
Предимствата на печка от цев са следните:
- просторен тиган за пепел;
- обемът е достатъчен за продължително изгаряне на пламъка;
- устройството незабавно ще затопли стаята;
- непретенциозност към горивото;
- лекота на производство и експлоатация.
Но има и недостатъци, а именно:
- ниска ефективност;
- случаят става много горещ;
- тънки стени.
Ако трябва да направите отоплително оборудване със собствените си ръце, печката с барел е идеалното устройство за отопление на малка стая.


Относно строителството
Преди да започнете независим монтаж, трябва да проучите как е изградено и функционира устройството. Разбирането на принципа на работа помага да се улесни процесът на създаване на импровизирана печка.В допълнение, цената на горивото за печка е минимална и следователно тя стана още по-често срещана.
Диаметърът на 200 l барабан е приблизително 600 mm. При желание от него се изгражда функционална структура - освен отопление, тя ще изглежда красиво в интериора.
Капацитетът на резервоара от 200 литра прави възможно поставянето на шестоъгълник със страни от 314 мм вътре. Така че, по отношение на технологията, такива агрегати са подобни на класическите фурни.
Готовата буржуйка няма висока ефективност, тя е само 15%. За да се подобри ефективността на работата, дизайнът се допълва от екран. Това е отразяващ щит, който помага да се увеличи ефективността, но има и отрицателна страна. Екран, който отразява топлината, провокира намаляване на времето за работа на домашна печка.
Основната причина за ниската ефективност е височината на резервоара. Цевите с вместимост 200 литра и дължина 85 см често са изработени от много тънък метал - с дебелина не повече от 2 мм.
Ако решетката се повдигне поради високата локализация на вентилатора, производителността на устройството намалява. Това се дължи на факта, че въздухът се разсейва. За да премахнете проблема, трябва да скриете дъното на печката с тухлена зидария.


Дизайн на единица
Срокът на експлоатация на печките от бъчви е 3-4 години За увеличаване на ефективността се използват голям брой ощипвания, но все пак е невъзможно да се постигне възвръщаемост над 20%.
Необходими материали и инструменти
Преди да започнете да сглобявате устройството, трябва да подготвите следните строителни устройства:
- мелница;
- мелница;
- заваръчна машина;
- досие;
- ножовка.
За да направите печка от метална цев, трябва да закупите и следните допълнителни материали:
- метал за крака и комин;
- панти за врати;
- парчета ламарина;
- болт;
- армировка (за решетката);
- тухла;
- цимент и пясък (за хоросан).
Изработването на отоплително устройство със собствените си ръце е лесна задача. Основното нещо е да се съобразите с техническите условия и да следвате стриктно инструкциите.


Начален етап: подготовка на цевта
Първото нещо, което трябва да направите, е да подредите металния контейнер в ред. Цевта е покрита с боя, което означава, че този слой трябва да бъде отстранен с мелница. Ако пренебрегнете тази точка, ще трябва да вдишвате токсичните аромати, излъчвани от нагретия метал.
След това трябва внимателно да изрежете два малки правоъгълни отвора с мелница. В бъдеще изрязаните парчета метал ще бъдат полезни за направата на врати. Острите ръбове на цевта трябва да бъдат подадени. Устройството ще има две врати: за горивната камера и пепелника. Първият трябва да е по-голям от втория.
В печката от цевта ще бъде поставена решетка, така че горната част на контейнера е напълно отстранена. Покритието по-късно ще бъде заварено заедно с комина.


Обикновена отоплителна печка от горен цев за зареждане
Материали и инструменти, използвани от автора:
Списък на материалите:
- цев с капак; - Стоманена ламарина; - парче квадратна тръба за пещта; - комин (от железария); - топлоустойчива боя.
Списък с инструменти:
- пистолет за нитове; - мелница; - заваръчна машина; - пробивна машина; - рулетка, маркер. Производствен процес на пещ:
Първа стъпка. Горна част
Цялата същност на производството на пещта се сближава до една единствена част, която е монтирана в капака. Тази част съдържа разклонителна тръба за инсталиране на комин, както и горивна камера.
Изрязахме основата за детайла от ламарина, изрязахме дупки в него за камината и димната тръба.
Що се отнася до димоотвода, тръбата може да бъде направена от стоманена плоча, за да се получи желаният диаметър. Просто правим няколко разреза, огъваме плочата в пръстен и го заваряваме. Правим и дупки в капака на цевта на подходящите места.
Стъпка втора. Боядисване и монтаж
За да нарисувате цевта, трябва да премахнете старата боя, авторът реши да разтопи печката си, тя работи добре, но тялото на печката не се нагрява до такава температура, че боята може да изгори. В резултат на това авторът поставя дърва за огрев директно в цевта и ги калцинира добре. След изпичане боята може лесно да се отстрани с мелница с телена четка. Е, тогава боядисваме цевта с топлоустойчива боя.
Стъпка трета. Усъвършенстване
Като модификация трябва да бъде монтирана разделителна стена вътре в цевта, така че горещите газове да достигнат основата и да затоплят цялото тяло на пещта. Преградата е направена от ламарина и е подвижна.
Също така, като декорация, можете да пробиете символ или надпис, който ще свети в тъмното, когато печката гори.
Това завършва проекта, домашният продукт се оказа прост и ефективен, в горната равнина на фурната можете напълно да загреете нещо или да изпържите яйце. Успех и творческо вдъхновение, ако решите да направите това отново. Не забравяйте да споделите с нас своите идеи и домашни продукти!
Източник
Станете автор на сайта, публикувайте свои собствени статии, описания на домашно приготвени продукти с плащане на текст. Повече подробности тук.
Подготовка на вратите
Този процес е важна стъпка в производството на отоплително устройство. На първо място, трябва да направите железни дръжки и да ги заварявате към вратите, които трябва да бъдат попарени с парчета метал, дебелината на които е 20 мм. За тази цел се препоръчва да използвате фабричната врата.
Следващата стъпка е да заварявате стоманени панти към печката от стар варел с помощта на електрическо заваряване. Не забравяйте, че външната страна на вратата трябва да е оборудвана със заключващо устройство (ригел).


Подготовка на основата
Преди да инсталирате фурната, е необходимо да направите безопасно и негоримо място за нея. Такава основа може да бъде направена от тухли, положени върху бетонна замазка. Важно е да знаете: свободното пространство пред цевта също е направено от негорим материал, например ламарина. Най-добрият вариант е да направите бетонни подове, а след това да поставите желязо върху тях и да инсталирате печка-печка.
В никакъв случай цевта не трябва да се поставя в близост до запалими материали и експлозивни предмети. Първите включват линолеум, полистирол, полиуретанова пяна и битум. И към втория - газови бутилки и кутии с бензин.
Майсторите препоръчват да се правят стоманени крака на печката от цев. За да направите това, имате нужда от армировка или метални ъгли. Ако дъното на барабана е на разстояние 10 см от пода, тогава устройството се намира на безопасно разстояние от основата.
Коминно производство
Тръбата е незаменим елемент на печката. Диаметърът му варира от 10 до 15 cm.Тръбата не само отстранява дима, но също така участва в преноса на топлина, така че е направена от стомана или чугун.
Разклонителната тръба може да бъде разположена както отгоре, така и отстрани на фурната. Въпреки това, последният вариант се счита за оптимален: по този начин газовете се забавят и има място за подреждане на блока за варене.
За да може помещението да се затопли по-бързо, тръбата трябва да бъде изнесена в далечна точка, а не по права линия до най-близкия отвор. Препоръчително е да се монтира амортисьор на комина: този елемент може да се използва за регулиране на отстраняването на топъл дим. Освен това, когато печката не се използва, се препоръчва да се изключи димната тръба.


Окончателно сглобяване на фурната
Единственото, което остава да направите, е да прехвърлите цевта върху подготвената тухлена основа. След това инсталирайте решетката в печката. След това трябва да заварявате горния капак и да направите дупка в него за тръбата. Когато коминът е инсталиран, можете да загреете печката с дърва.
Следващата стъпка е да поставите хартията върху решетката и да я запалите. Сухите дърва за огрев трябва да се полагат внимателно, тъй като има голяма вероятност от случайно изгаряне. Пещта с цевта постепенно ще се нагрява. Всичко, което трябва да направите, е да хвърлите дървото, така че пламъкът да не изгасне.
Духалката на устройството може да се задръсти с пепел, така че периодично трябва да се почиства от изгорели суровини.
Как да подобрим фурната: най-добрите варианти
Често възниква въпросът как да направите печка от цев по-модернизирана. За да направите това, устройството трябва да бъде подобрено по този начин:
- Изградете стена от огнеупорни тухли отдясно, отляво и отзад на цевта.
- За да се получи своеобразен конвектор, печката трябва да бъде попарена с кръгли 20-мм тръби. Благодарение на това в стаята ще циркулира топъл въздух.
- Прокарайте комина през стаята.
- Поставете вътрешността на печката с тухли.
- За да получите плот за готвене, в капака трябва да бъде монтирана чугунена вложка.
Майсторите препоръчват да се комбинират няколко цеви в един дизайн. Това може да се направи както вертикално, така и хоризонтално.


Фурна за дълго изгаряне за гараж
Това устройство е добро решение, ако трябва да отоплявате малка стая, като използвате минимално количество дърва за огрев. Ако възникне въпросът как да направите печка за гараж от цев, тогава това ще изисква заваръчна машина и възможност за работа с нея.
За да направите отоплително устройство със собствените си ръце, трябва да извършите следната проста работа:
- Изрежете дупка за прозореца за зареждане.
- Направете кръг от метален лист, дебелината на който трябва да бъде най-малко 4 мм. След това направете 10 см прозорец за комина в него.
- Заварете стоманена тръба към получения кръг и 4 канала към вътрешната му страна.
- Спуснете произведената конструкция в цевта.
- Заварете отрязания капак, в средата на който направете 10 см отвор за тръбата.
- Направете бетонна или тухлена основа, върху която ще стои печката.
- Заварете всички конструктивни елементи към цевта: врати, панти и резета.
- Инсталирайте комин.
- Поставете устройството върху бетонна основа.
Особеността на този дизайн е, че дървото в него няма да гори, а да тлее. В допълнение, кръг с тръба и канали, монтирани вътре в цевта, ще слезе надолу, докато суровината изгори. Основното предимство на тази печка е, че няма нужда да се контролира работата на устройството: тя работи почти автономно, поради което металът постепенно се загрява. Единственото нещо, което трябва да направите, е да разтопите печката.
Как и от какво да направите сами печка с бурканчета
Модерните котлони изглеждат представително и стилно, но не са евтини. Можете сами да направите такова отоплително устройство - за това ви трябват само инструменти, желанието да създадете отоплително устройство със собствените си ръце и творческо вдъхновение.
Печка от 200-литрова цев
Нека започнем с направата на най-простата хоризонтална отоплителна печка от цев


Това е обикновена метална цев от 200 литра, като в допълнение към нея има метални тръби с диаметър 50 сантиметра
- Изрязана част от дъното се използва като врата, която е шарнирно
- В края на цевта се пробива отвор, към който е заварена метална тръба - това ще бъде комин за печка
- Вътре в цевта се полага решетка-решетка - тя ще предпази дъното от изгаряне и ще помогне на печката да се затопли по-дълго
- Върху цевта може да се завари дебела стоманена тел - получавате котлон, на който е поставен чайник или тиган
Всичко е достатъчно просто. Такъв модел е идеален за частна къща, той ще работи от дърво и стърготини и може да отоплява около 100 квадрата площ.
Изработване на печка от цилиндър
Такава печка е направена без котлон и ще бъде добра опция за преносимо отопление.


Друг практичен вариант е котлон от газова бутилка.
Нека разгледаме по-отблизо процеса на неговото хоризонтално изпълнение.
- В дъното на бъдещата печка с бурканчета трябва да пробиете дупки за изхвърляне на пепел. Пробийте по цялата дължина на редовете с ширина 5-6
- След това трябва да направите тава за пепел с врата от метален лист и да я заварявате към дъното на цилиндъра
- Сега можете да заварявате краката и да поставите печката
- Дъното на резервоара се е преместило - сега е предната част на печката. Дъното трябва да бъде изрязано и направено от него врата, която е инсталирана на заварените панти
- След това трябва да направите комин - тръбата може да бъде заварена отгоре или да бъде разположена зад цилиндъра
Този тип буржуйка ще бъде добър вариант за гараж, той може да отоплява всички 30 квадрата, а домашно изработеният тиган за пепел ще ви позволи да поддържате гаража чист.
Устройството на модела на "работа"
Друг вариант на печката, която най-често се инсталира в малък гараж или помощно помещение, е печка, изработена от отработено масло. Ясно е, че тя използва масло за отопление, което се излива в долния резервоар на пещта и се запалва.


Ако имате малък гараж или помощно помещение, което се нуждае от отопление, вземете под внимание начина за направата на такава печка.
- Резервоарът за гориво е направен от метални листове - всички елементи трябва да бъдат изрязани
- В горната част на направения резервоар са ви необходими два отвора - за зареждане с гориво и за тръба. Първият отвор трябва да има плъзгащ се капак
- Оказа се резервоарът - можете да заварявате краката
- След това трябва да заварявате тръбата в голяма дупка, като преди това сте направили малки слотове в нея - въздухът ще премине през тях
Основното нещо е да се спазват пропорциите и да се помни, че капакът на горния резервоар трябва да се сваля, а също така си струва да се направи дупка в него за комина, който ще бъде показан на улицата.
Така че, ако изберете готова печка за бягане, обърнете внимание на нейната „лакомия“ и външен вид. Ако имате нужда от печка само за няколко месеца, ще се справи обикновен сгъваем модел. За частна къща и постоянно отопление си струва да погледнете печка за камина или мощен генератор на газ. Ако ръцете ви, както се казва, „растат от раменете ви“, можете да изградите печка от обикновена бъчва или цилиндър от пропан.
Принципът на действие на печка от цев
Печка от бъчви е много подобна на вида буржуйки, който идеално си представяме. Той обаче няма серийно производство. Тази структура е чисто творение на самоуки майстори. Освен всичко друго, модернизираната печка има кръгла форма и прилича на метална печка „Слобожанка“.
Появата на най-простата печка от цев обаче има голям брой недостатъци
Основната разлика между тях е опцията за изгаряне на горивото. Той използва дървени стърготини по следните причини:
- ако отоплявате буркан с това гориво, то ще бъде доста икономично поради ниската цена на този вид гориво;
- Стърготините, които преди това са били компресирани, изгарят за доста дълго време.Един товар може да е достатъчен за 6-10 часа за такъв дизайн.
Принцип на действие
Фурните от цев, или така наречените "печки с гърнета", са проекти от несерийно производство, но те са доста ефективни при отопление и са налични в експлоатация.
Външно примитивната отоплителна печка от цев има мъртво огнище и като правило има стандартен диаметър 60 cm.
В опростен дизайн може да се използва всяко твърдо гориво под ръка, включително обикновени дърва за огрев, дървесни стърготини и дървени стърготини, дърва от дървесина.
Поради малкия си размер и относително ниското тегло, такава фурна се характеризира с достатъчна мобилност.
С цел безопасна експлоатация е необходимо периодично да се отстранява пепелта, както и да се почиства вътрешността на конструкцията от натрупвания на сажди. Въпреки незначителното натрупване на топлинна енергия, от цевта е задължително оборудвана висококачествена негорима основа.
Освен всичко друго, за да се осигури нормална тяга за процеса на горене, е необходимо да се монтира достатъчно висок комин. Основният недостатък на принципа на работа на пещ, направена от цев, е необходимостта да се контролира процесът на горене, тъй като в противен случай е възможно обратното течение или силен дим в помещението.
Ефективността на пещта от цевта рядко надвишава 10-15%, но с известна модернизация на дизайна такива показатели могат да бъдат увеличени почти два или три пъти.
Изработване на печка за печка
Когато настъпи определен момент, много хора се чудят как да се направи котлон от цев със собствените си ръце. И като цяло, как да направите печка от бъчва от 200 литра.
Печката е създадена в различни размери и форми. Тя може да бъде кръгла и квадратна, вертикална и хоризонтална. Всичко зависи само от вашето въображение.
Забележка. За да разберете как работи котлон от варел, направен от собствените ви ръце, не е нужно да измисляте нещо. Принципът на действие е много прост.
Схема на котлон от цев в хоризонтално положение
Хоризонталните печки се считат за по-прости от вертикалните печки. В такава печка част от дъното е прикрепена към мястото на вратата, която е изрязана. Тя седи на пантите. На противоположния край на цевта се прави дупка, към която трябва да се прикрепи метална тръба, която ще бъде комин за такава печка. След това поставете решетка в средата на цевта. Играе важна роля, тъй като ще спомогне за задържането на топлината за по-дълго време, а също така ще предпази така нареченото дъно от изгаряне. Ако има голямо желание да създадете котлон, тогава просто трябва да заварявате стоманена тел с голяма дебелина.
Искате ли да построите тухлена печка със собствените си ръце? Вижте подробни инструкции на нашия уебсайт!
Забележка. Хоризонталният модел е идеален за частна къща и може да отоплява около сто квадратни метра.
Пример за буржуйка във вертикално положение
Преди да започнете работа, трябва да подготвите някакъв инструмент. За начало е най-добре да се запасите със заваръчна машина, както и пълен комплект дрехи за работа с нея, мелница, шлифовъчни и режещи колела, чук, метална четка, клещи, рулетка и бормашина .
Съвет: Преди да започнете производството на печката, цевите трябва да бъдат добре измити, тъй като при нагряване е възможно да се отдели лош дим, който ще зависи само от това, което е било в контейнера, преди да го използвате по този въпрос.
На необходимото ниво в цевта, първо маркирайте и след това изрежете два правоъгълни отвора, които ще служат за пепелника и камината.
Приблизителна диаграма на бурканче във вертикално положение
Частите, които остават след рязане, не трябва да се изхвърлят, тъй като по-късно могат да се използват за направата на вратата. За да бъде вратата завършена, към нея са прикрепени метални ленти и след това е поставен специален резе с дръжка.
След това, от вътрешната страна на цевта, точно под камината, са закрепени не повече от 10 см скоби от ъглов тип, които по-късно ще служат за полагане на решетката.
За производството на решетката се използват обикновени фитинги. Трябва да го приготвите сами.
Най-добре е да заварявате краката към дъното на цевта, но в горната част трябва да изрежете отвор за бъдещия комин и да заварявате тръба в него.
Схема на вертикални бъчви от цев
Вратата е инсталирана на пантите, които вече са били прикрепени предварително. Само след монтиране на вратата е прикрепена кука за ключалката.
Ако искате да постигнете по-естетичен вид на вашата печка, тогава си струва внимателно да почистите всички заварки. Топлоустойчивата боя е подходяща за боядисване, след нанасянето на която вашата печка за бягане ще бъде практически неразличима от фабричната.
След пълното завършване на всички работи, печката е свързана директно към комина, който вече е изнесен на улицата.
Съвети. Тъй като камината на обикновена печка е малко вероятно да продължи дълго време, когато правите печка на дървени стърготини, вместо горивна камера, можете да изградите метална тръба, която е подходяща в диаметър.
Устройството на вертикална печка от цев
Как да си направя самоделна печка от бъчва
Вероятно повече от един човек пита как да направите печка със собствени ръце? и как правилно да направите печка с бурканчета?
Готварската печка, направена сама, е малка по размер фурна, която е направена от метални листове. Такава печка може да загрее една стая много бързо (ако не е много голяма), но се охлажда също толкова бързо, след като горивото спре да гори.
Ако говорим за тяхната форма, тогава те могат да бъдат много различни (кръгли, квадратни, правоъгълни, конични или под формата на нещо), това зависи от въображението на човека, който го прави.
Но в тази статия ще се спрем на шестоъгълна печка от бъчви. Замисляли ли сте се как да направите печка от бъчви?
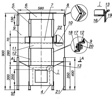
1 - кожух (цев); 2 - капачка на резервоара за гориво; 3 - изходна тръба; 4 - капак на отделението за подплата; 5 - дръжка на капака; 6 - фурна; 7 - амортисьор; 8 - камина; 9 - отделение за продухване (пепелник); 10 - поддържащи тухли; 11 - филцова подложка; 12 - метален лист.
На снимката можете да видите печка, при разработването на която са използвани обществено достъпни материали. На първо място, имахме нужда от цев, чийто капацитет е 200 литра, височината на цевта е 850 мм, а диаметърът е 600 милиметра. Шестоъгълник може лесно да се побере в такава цев, чиято страна е равна на 290-300 мм... Това прави възможно инсталирането на стандартни пещни устройства практически без допълнителна работа.
Такава печка е много различна от много домашно приготвени печки от същия клас. Различава се по следното:
- печката има обемна камина;
- има увеличена площ поради факта, че горивната камера на горивото е шестоъгълна;
- обемна тава за пепел с въздушен регулатор;
- обемна фурна с подплата;
- фурната поддържа топлина за дълго време.
Освен това тази печка има добър конвекционен ефект - това е преносът на топлина през въздуха, който преминава през каналите между горивния блок и корпуса.
Направи си сам печка за печка - процедура за монтаж
Ще приготвим горивния блок, поради което, за да се избегнат грешки, е необходимо да се направи шаблон, който може да се изреже от дебела хартия (картон) или шперплат. Горивен блок


1 - фурна; 2 - отделение за подплата; 3 - тялото на резервоара за гориво; 4 - преден панел на вентилационното отделение; 5 - ъгъл на рамката на вратата на фурната; 6 - горна плоча на отделението за облицовка; 7 - облицовъчна ниша; 8 - горен стоп; 9 - страничен панел на корпуса на горивния блок; 10 - опорен прът; 11 - междинна плоча; 12 - ъгъл на рамката на вратата на камината; 13, 14, 15 - долни плочи на горивната камера; 16 - решетка седло; 17 - азбестово уплътнение; 18 - черупка на вратата;


19 - странична стена на пепелника; 20 - болт за закрепване на вратата; 21 - долна стойка; 22 - скоба за закрепване на амортисьора.
Шаблонът трябва да бъде под формата на правилен шестоъгълник, чиито страни са равни на 290 милиметра. След като сте направили шаблон, няма да имате проблеми със сглобяването, трябва само да сглобите всичко според шаблона, да спечелите пари и можете да започнете заваряване.
След това, съгласно изготвените чертежи, ние готвим:
- фурна;
- отделение за подплата;
- вентилационно отделение.
Отделение за подплата
1 - дъно; 2 - странична стена; 3 - задна стена; 4 - диагонална вложка.
Фурна
1 - кутия за фурна; 2 - опори.
Отделение за вентилатор
1 - странична стена на пепелника; 2 - задната стена на пепелника; 3 - седло на решетка; 4 - преден панел на вентилационното отделение; 5 - рамка за закрепване на вратата на вентилатора; 6 - дъно на пепелника.
Преден панел
На първо място, ние инсталираме и заваряваме отделението за вентилатора, за което плочите са подготвени предварително според шаблоните.
Пробиваме дупки с диаметър 10-12 мм за да инсталирате опорния прът, след това внимателно заварете точките за закрепване на отделението. Също така заваряваме междинна плоча, чиито размери са - 285x70 мм... Правим това по такъв начин, че горният му ръб да съвпада с горното ниво на лентата.
След това инсталираме отделението за облицовка на пръта с плочата, подравняваме по-тясната страна на дъното му с всички ребра на страничните панели на нашето тяло и заваряваме всички необходими фуги с непрекъснат шев. Към плочата с горния ръб на предния панел на вентилационното отделение заваряваме хоризонтални ленти, чиято дължина е 290 мм, а ъглите - 215 милиметра, за да се оформи рамка за закрепване на горивната врата, чиято вътрешна размер е 255х215 мм... Инсталираме фурната в отделението за облицовка, заваряваме страничните ъгли с дължина 215 милиметра и след това горната плоча от отделението за облицовка.
След това заваряваме капака на камината към изпъкналата горна част на отделението за облицовка със странични панели. И към капака на този горивен блок заваряваме малко парче тръба, чийто диаметър е 100 милиметра. След това, съгласно чертежа, заваряваме горните ограничители с долните подпори на блока. Ние правим стелажи от ъгли с размери 20x20x4 милиметра или пръчка с диаметър 10-12 милиметри.
След като приключим работата по производството на горивния блок (горивната камера), прецизирайте цевта. Тоест, за начало пристъпваме към изрязване или изрязване на горното дъно на цевта. В цилиндричната част на цевта, отгоре надолу, изрежете лента с ширина 300 милиметра, така че тази лента да не достига до дъното на цевта с 50 милиметра. В местата на предполагаемите конвекционни канали по време на монтажа на горивния блок в подготвената цев, в дъното му се правят дупки (отвори), чиято обща площ е - 5-6 дециметра квадрат.
Когато горивният блок вече е инсталиран в цевта, ние пристъпваме към кримпване, кримпваме краищата на изреза по краищата на блока и ги заваряваме към него.
Устройство за регулиране на течението:
1 - врата на вентилатора; 2 - дръжка за заключване на вратата; 3 - дръжка за завъртане на вентилатора на вентилатора; 4 - затворен вентил; 5 - гайка, контргайка на люлеещата се дръжка.
Преди да пристъпим към монтажа на отделението за вентилатора в горивния блок, ние модифицираме вратата на вентилатора в съответствие с устройството за регулиране на тягата, тоест правим всички части, изрязваме отвори с диаметър 35 милиметра във вратата и две от същите дупки във клапана.
След това инсталираме вратите в горивния блок и след монтажа им поставяме три тухли (огнеупорни) в нишата на облицовката и след това я затваряме с капак, запълваме пространството между облицоващата ниша и фурната с гранитни чипове. Гранит
Трохата трябва да бъде фракция от 15-20 милиметра. Можете също да използвате чипове от глинени изделия:
- бани;
- тоалетни;
- умивалници и др.
Затворете запълването с подвижен капак - капака на отделението за облицовка.
Ако е необходимо да смените облицовката, за това премахваме тухлите и изваждаме чиповете през нишата и след това запълваме отделението за облицовка с нова облицовка.
Преди да инсталираме такава печка на постоянно място, ние поставяме филц под нея - това е необходимо за пожарна безопасност.Филцът първо трябва да бъде импрегниран с глина. След като поставите филцовата топка, покрийте я с лист за предварително пещ.
Основните приспособления и материали, използвани за производството на печки с гърнета
| Материали и устройства | количество | |
| Лист на страничния панел на корпуса на горивния блок 550x290 mm. | 5 | |
| Шестоъгълен лист със страна от 300 мм. | 1 | |
| Листът е триъгълен с равни страни 325 мм. | 6 | |
| Комплект листове за подплата | 400x380 мм. | 1 |
| 350x250 мм. | 2 | |
| 350x280 мм. | 1 | |
| 350x80 мм. | 2 | |
| Комплект листове за фурна | 400x280 мм | 2 |
| 350x280 мм. | 2 | |
| 280х220 мм. | 1 | |
| Комплект листове за пепел | 400x200 мм. | 2 |
| 400x210 мм. | 1 | |
| 210х200 мм. | 1 | |
| 290x90 мм. | 1 | |
| Предпечен лист 800x1000x (0,8-1,5) mm. | 1 | |
| Стоманен ъгъл 50x32x4 (40x40x4) mm, обща дължина 1000 mm. | 1 | |
| Стоманена лента 50x4 (40x4) mm., Обща дължина 1500 mm. | 1 | |
| Гризли решетка 300х200 мм. | 1 | |
| Врата на пещта 250х210 мм. | 2 | |
| Духаща врата 140х140 мм. | 1 | |
| Азбестова тъкан с дължина 2000 мм, ширина 40 мм. | 1 | |
| Филц 800х1000х10 мм. | 1 | |
В допълнение към всичко това, ще ви трябват още няколко тухли, за да инсталирате фурната върху плочата на предварително пещта и 3 тухли (огнеупорни) за облицоване на дъното на фурната. Ще ви трябват и болтове: M8 или M6които ще използвате за закрепване на вратите на фурната (уредите) към фитингите на горивния блок.












































