Подсилените пластмасови тръби превземат все по-голям сегмент на водопроводния пазар, така че въпросът с тяхната поддръжка става все по-спешен. Смята се, че ако е необходимо да се подменят такива тръби, целият тръбопровод трябва да се смени. Но това мнение е погрешно.
Продуктите се режат лесно и се сменят на части, без да се навреди на общата водоснабдителна или отоплителна система. По-долу е описано как правилно да се режат металопластикови тръби.
Методи на рязане
Има няколко основни метода на рязане, които пряко зависят от използвания инструмент. На първо място, можете да изрежете продукти:
- Нож за ефективно рязане на армирани пластмасови тръби. Ножът в този случай трябва да се използва самозаточващ се.
- Ножовка за метал. Най-простият метод, който обаче ще изисква много усилия и време от изпълнителя. Освен това ръбовете могат да бъдат разкъсани.
- Ножици.
- Фреза за тръби.
При някои инструменти режещите ръбове са доста грапави и частиците от материала впоследствие могат да причинят запушвания. Най-добрият начин е да използвате специални ножици, които отрязват направо, без да оставят скъсани ръбове. Тези ножици могат да режат предмети с диаметър до 40 мм.
Важно! В този случай няма да се налага да полагате специални усилия, тъй като инструментът е специално проектиран за такава работа и има специални остриета. Тези остриета могат лесно да прорежат пластмасови тръби навсякъде.
За продукти с по-голям диаметър е по-добре да изберете фреза за тръби. Фрезите за тръби са телескопични и с тресчотка. Първият тип се основава на работата на специален валяк, който се търкаля по цялата обиколка. Вторият тип е по-скоро като ножица, тъй като използва лостова система с две дръжки.
Предназначение
При инсталиране на металопластикови тръби е невъзможно да се направи, без да се правят разфасовки. За да извършите тази операция, можете да използвате:
- Назъбен нож или ножовка за метал. От значение за извършване на еднократна работа. Ако трябва да отрежете много тръби, този метод не е подходящ, тъй като се изисква голямо количество разходи, краищата са неравномерни и имат прорези.
- Български. Металните остриета бързо режат многослойни части, но електроинструментът вдига много шум, след изрязването остава голямо количество отломки.
- Фреза за тръби. Най-подходящият начин, ако трябва да се справите с мащабни тръбопроводи.
Как да изрежете металопластикови тръби
Усилените пластмасови тръби имат редица предимства пред своите конкуренти. Те са много по-леки от метала и много по-устойчиви на окисляване от медта. Те са лесни за подмяна и лесни за оформяне.
Можете да създадете тръбопроводи с всякаква форма. Е, основното предимство е цената. Той е много по-нисък от този на медни тръби. А качеството е на приблизително същото ниво.
По време на работа може да се наложи да се режат тръби. За това се използва специален инструмент, който е предназначен за работа с такъв материал.
За да се подобри ефективността на процедурата, се препоръчва правилната подготовка на тръбата и инструментите преди работа. Нека разгледаме основните характеристики на металопластиковите тръби и как да ги режем.
Подготовка на тръбата и необходимите инструменти
Като инструменти се използват самото режещо устройство, измервателни ленти, регулируеми ключове, уплътнения и някои други неща. Всичко това трябва да е на достъпно място по време на работа.
Понякога е необходимо да се отстрани външната страна на подсиленото покритие, за да се улесни процесът на рязане в следващата стъпка. За оголване се използва съединител с остриета, който ви позволява да получите идеално гладка кройка и да се отървете от полимерния слой. Това е необходимо за заваръчни работи, които вероятно ще бъдат извършени по време на монтажа на тръбопровода.
Важно! При работа е необходимо да се отреже точно толкова материал, колкото е необходимо за монтирането на фитинг за металопластични изделия.
Малко за технологията на сглобяване
Независимо дали се извършва монтаж на водоснабдителна система или отоплителна система, монтажът на металопластикови тръби се извършва в следната последователност:
- изрязване на тръбопровод. Тръбопроводът се доставя в отделения, така че това е необходимо. На този етап е необходимо да се контролира нивото на качество на рязане, особено шепнешком, в края не трябва да има резки,

- калибриране - в края на работата с ножици е наложително да се върне геометрията на участъка, възможно е тази операция да се комбинира с скосяване,
- всъщност връзката ще пасне на някой от общите фитинги, например американски.
Колкото по-добре да изрежете металопластична тръба
Във време, когато възниква въпросът как да се режат металопластикови тръби, специалните ножици могат да се считат за добър вариант. Техните остриета ви позволяват да постигнете перфектното ниво на качество на рязане, без натъртвания и бръчки.


Забележка! Ако е върху дръжките на ножиците, тогава материалът може да се сплесне малко. За да се предотврати това, тръбата трябва да се завърти по време на рязане.
Ако под ръка няма ножици, тогава е възможно да се направи с обикновена ножовка. Всъщност в този случай нивото на качество на рязане ще бъде малко по-лошо.
В края на ножовката ще трябва да подадете ръбовете с пила. Неспециализирано изискване и за двата варианта е перпендикулярността на равнината на среза към надлъжната ос на тръбопровода. В допълнение, малко несъответствие може да се превърне в обстоятелство за намаляване на налягането на ставата в бъдеще.
Калибриране на тръбопровода
Калибраторът е най-важният инструмент за многослойни тръби, който ви позволява да върнете формата на секцията. Често, когато се реже тръбопровод, краят му е леко деформиран и операцията по калибриране ще му позволи да стане кръгла.
Възможно е да се разграничат 2 вида калибратори:
- инструмент, който се препоръчва само за възстановяване на геометрията и работа с изгаряне,


- калибратор за металопластикови тръби, който в допълнение към тези операции ви позволява незабавно да премахнете фаска.
Що се отнася до технологията за калибриране, тя се извършва в следната последователност:
- се избира подходящ диаметър на дюзата и се вкарва в тръбопровода. Ако краят е деформиран, тогава усилие може да бъде полезно за това,


- тогава е необходим калибратор, без да отстранявате края на тръбопровода от него, остриетата на ножовете ще се скосяват под желания ъгъл.
Монтаж на тръбопровод
Във време, когато човек мисли как да работи със стоманопластични тръби, повечето въпроси възникват по отношение на избора на връзка.
Има много начини, всеки от тях има своите предимства:
- тласкащи фитинги... Заедно с това, краят на тръбопровода до спирката; за удобство те имат и прозорец за гледане. Недостатъкът на вида на връзката е висока цена, а самото съединение се оказва едно парче,


- пресови фитинги... Този метод на съединяване се използва, когато е необходимо да се свърже металопластика с метал. В допълнение към самия монтаж са полезни и щипки за преса. Плътността на съединението се постига поради деформацията на метала.Този тип съединение също се счита за едно парче,


- кримпване фитинги - най-често срещаният тип тръбопроводна връзка.
Нагнетателният фитинг е един от най-популярните видове компресионни фитинги, той осигурява както по-голяма здравина, така и достатъчна плътност на връзката и ако е необходимо, съединението може лесно да се разглоби. Освен това такъв обков може да се използва повторно.
Устройството за осъществяване на връзки е както следва:
- върху тръбата се поставят съединителна гайка и компресионен пръстен (компресионните пръстени са известни още като цанги за металопластични тръби),
- след това се вкарва в фитинга,
- гайката се затяга добре, цанга лесно се деформира и фиксира добре края на тръбопровода.


В сравнение с други методи, именно разглобяемите връзки са по-популярни. При използването им лесно се решава въпросът как да се разглобяват металопластикови тръби.
Забележка! Когато вкарвате тръбата в фитинга, не прилагайте прекалено много сила, това може да повреди гумените уплътнения. За да се улесни процесът, краят на тръбопровода може да бъде смазан.
Отделно си струва да се спомене връзката посредством Евроконеси. Дизайнът му позволява да бъде класифициран като разглобяем, малки разлики се крият само в монтажното устройство. На тръбопровода се поставят гайка и цанга, след което в нея се вкарва евроконус за металопластикови тръби и гайката се затяга.


В допълнение, по време на монтажа са полезни такива фитинги като тройници, кръстове, адаптери, които позволяват свързване на различни диаметри, колектори (за отоплителни системи), ъглови фитинги.
Инструменти за рязане на металопластикови тръби
В процеса на рязане на тръби са полезни следните инструменти:
Важно е капитанът предварително да определи какво ще използва за рязане на металопластикови тръби. Най-важният инструмент в списъка е ножицата. Всичко останало е необходимо за извършване на специална подготвителна работа.
Процесът на рязане не изисква много усилия. Достатъчно е просто да контролирате напълно всяко движение. Ако не обърнете достатъчно внимание на контрола, можете лесно да отрежете излишната част.
Ако по време на процеса на рязане е необходимо да огънете продукта, не се препоръчва да го правите на ръка. Това лесно може да съсипе алуминиевия слой вътре. По-добре е да вземете професионален бендър и да извършите операцията с него.
Използването на неподходящи инструменти в една зона може да повлияе на цялата мрежа, което води до високи разходи за ремонт.
Важно! В комплекта за заваряване обикновено се намират специални ножици. Но те могат да бъдат закупени отделно. Цената на този инструмент не е достатъчно висока, за да спестите пари за него.
Преди да се пристъпи директно към рязане, е необходимо много ясно да се измери частта, където единицата ще бъде разделена. За това се използва рулетка или владетел, както и ярък маркер. Избледнелият молив просто не може да се види, особено ако в стаята няма достатъчно осветление. Маркът може да се направи с нож, оставяйки драскотина.
По време на работа парчета пластмаса и алуминий могат да летят в различни посоки. Поради това е необходимо да се използват защитни средства под формата на очила и специално облекло.
Методи за свързване на металопластични тръби
Има два начина за свързване на тръби от метал-пластмаса:
- използване на пресови фитинги;
- с помощта на компресионни фитинги.
Първият метод от своя страна може да бъде разделен на два подтипа:
- използване на натискащи пресови фитинги;
- с помощта на кримпващи съединители.
Монтаж на металопластичен тръбопровод с помощта на компресионни фитинги
Монтажът на тръбопровода може да се извърши както по схемата на колектора, така и по тройника. Когато се използват последните, фитингите могат да бъдат свързани последователно към тръби или да бъдат изрязани след полагане на тръбопровода.
Схема на свързване на тръба с фитинг.
Инструкции за извършване на тръбопроводна връзка с помощта на компресионни фитинги:
- Подравнете тръбата, като осигурите равномерно, равномерно рязане преди и след рязането от поне 10 cm.
- След това тръбата се приготвя, както е описано по-горе. Необходимо е също така да се осигури входна фаска в краищата на не повече от 1 mm.
- На тръбата се поставя съединителна гайка, а след нея разделен пръстен.
- Тръбата се поставя върху навлажнен фитинг по такъв начин, че краят му да опира до ръба на фитинга с цялата му равнина.
- Завийте накрайника на съединителната гайка на съединителя на ръка, докато спре. Гайката трябва да следва лесно резбата
- Корпусът на фитинга се държи с единия ключ, а с другия гаечният ключ се удължава с 1-2,5 оборота, така че 1 или 2 резбови резби остават видими.
Техника на рязане
Самонарязването може да се извърши с продукти с диаметър от 5 до 30 см. Така че, ако продуктът не попада в тези граници, най-добре е да се обърнете към професионалисти.
Когато извършвате подобни манипулации, е важно да запомните основните правила:
- Подсилените пластмасови изделия са много чувствителни към температура, така че някои проблеми могат да възникнат в горещо или студено време. Материалът се свива и разширява лесно, което затруднява определянето на истинските размери.
- Металопластмасата, като полипропиленовите тръби, може да се реже по всякакъв начин. Но за да се избегнат различни негативни последици, най-добре е да направите това със специални инструменти.
- Специален самозаточващ се нож е отличен инструмент. Но ако се планира да се извърши работа за замяна на една секция с друга, по-добре е да се откаже от инструмента в полза на ножица.
- Материалът е доста крехък. Прилагането на твърде много сила е изпълнено с пукнатини или специфични деформации. Допустимото натоварване може да се види в паспорта на продукта, който е издаден по време на монтажа на водоснабдителната система.
- Видът на рязане пряко зависи от пропорцията на метал и пластмаса в продукта. Ако има повече метал, тогава трябва да има възможно най-малко триене при рязане. В противен случай голяма част от пластмасата предполага висока интензивност на работа с високо триене.
- Преди започване на работа е задължително да се уверите, че водата или газът не текат през тръбата. Трябва да изключите всички кранове и да изчакате малко.
- След приключване на работата, трябва да почистите правилно вътрешността на отломки, които могат да доведат до запушвания или счупване на специализирано оборудване.
Използването на електронни режещи инструменти не се счита за разумно, тъй като материалът не е предназначен за това. Можете да го направите на ръка.
Източник: znatoktepla.ru
Подготвителен етап
Подготвителният етап включва почистване на тръбите от нередности. За това е по-удобно да се използва съединител. След това можете да започнете да режете металопластичната тръба.


Инструмент (Снимка: Instagram / redtool.pro)
Техника на рязане
Не използвайте инструменти, които не са предназначени за рязане на металопластика. Те могат да повредят материала, да оставят нередности, рани. Освен това не се опитвайте да огъвате тръбата с ръце. За да направите това, трябва да използвате огъване на тръби.
Не използвайте твърде много сила при рязане. Важно е да контролирате процеса, за да не повредите частта. Марки за бъдещи разфасовки могат да се правят с молив или маркер. Не използвайте остри предмети за това.
Технически характеристики
Независимо, без специфични умения, можете да изрежете тръби с диаметър до 30 см. Ако размерите са по-големи, трябва да потърсите помощ от опитни монтажници. Не се препоръчва да режете части в горещо време на пряка слънчева светлина. Материалът се загрява и маркировката на изрязване се премества встрани.
Важно е да прочетете техническия лист с подробности предварително, ако той е издаден при покупка. Ако съдържа повече пластмаса, отколкото метал, работата трябва да се свърши бързо.Ако има повече метал, трябва да изберете инструмента, който ще има най-малко триене. След рязане тръбата трябва да се избърше с влажна кърпа, за да се отстранят прахът и остатъците.
Ако нямате под ръка резачка за тръби, можете да използвате нож с назъбено заточване. Необходимо е предварително да смажете острието с машинно масло, да проверите неговата острота.
Поради подобрените технически характеристики, армираните пластмасови тръби са много популярни. За да ги отрежете, можете да използвате мелница, ножовка за метал, остър нож или фреза за тръби. Последният вариант е за предпочитане, тъй като разфасовките ще бъдат гладки, без резки. В допълнение към това не е нужно да харчите твърде много усилия.
https://youtu.be/aj7PksBLcwU
Накратко за дренажната система
Канализационното устройство е описание на всички компоненти и принципа на действие на системата като цяло и за отделни възли. Разделено на:
- Вътрешен - намира се в сградата.
- Отвън - полага се извън сградите.
Вътрешен
Вътрешно канализационно устройство:
- ВиК инсталации (източници на образуване на мръсна вода): тоалетна чиния, биде, умивалник (кухненска мивка), вана (душ кабина), пералня и миялна машина.
- Сифони и свързващи елементи (преходни съединители).
- Изходни тръби Ø 30-50мм. За тоалетна чиния 100мм.
- Преходни елементи: фитинги и съединители, възвратен клапан, ревизия.
- Основният щранг е елемент, който събира канализацията от всички източници в една канализационна тръба. Диаметърът на колектора не трябва да бъде по-малък от 100 mm.
Инсталирането на канализационната система вътре в помещенията се регулира от нормативни документи: SNiP (санитарни норми и правила) 3.05.01–85 "Вътрешни санитарно-технически системи".
На открито
Външната система включва:
- Линия за отпадъци от тръби Ø 100-200mm (за индивидуално жилище).
- Преливни (инспекционни) кладенци.
- Съединители, фитинги.
- Приемник за отпадъчни води (помийна яма, септична яма, станция за биологично пречистване).
Монтажът на канализация извън сградата е регулиран от SNiP 2.04.03–85 „Канализация. Външни мрежи и съоръжения ".
Инсталация
Инсталирането на вътрешна канализационна система и външна магистрала е в много отношения подобно. Разликата е в използваните материали. За вътрешни канализационни системи се използват колектори в сив цвят. Външните имат оранжев оттенък. Това се дължи на разликата във външните натоварвания:
- Вътрешните продукти се влияят от собственото им тегло и периодично от товара от течащата течност. Добавя се термично нагряване до 60–90 ° C с паралелна химическа атака от отпадъчните компоненти.
- Части, разположени извън сградата, са изложени на:
- налягане от масата на покриващата почва;
- ефектът от теглото на преминаващите превозни средства;
- изпитайте усилия от сгради, разположени отгоре;
- изложени на външни температурни крайности, от отрицателни до положителни.
Следователно инсталирането на вътрешната канализационна система се извършва с преобладаване на полимерни материали:
- PVC (поливинилхлорид). По-точно, непластифициран PVC (PVC - U).
- HDPE (полиетилен с ниско налягане).
- PPR (полипропилен).
Най-търсени са продуктите от PVC. Монтажът на вътрешни колектори се извършва чрез съединяване на стеснената част на тръбата и разширената (гнездото). Използват се допълнителни елементи, - фитинги (преходни съединители, тройници, колена с ъгъл от 45 ° и 90 °, завои).
Монтажът на канализационни тръби се извършва със задължителното спазване на ъглите на наклон:
- За колектор Ø 50 mm наклонът ще бъде 2–3 cm на един дълъг метър.
- За продукт Ø 100 mm, около 1–2 cm на 1 метър.
В процеса на монтажни или ремонтни работи е необходимо да се реже пластмасовата част. Полимерите не се различават по висока твърдост и здравина в сравнение с металните изделия. Поради това те се обработват от повечето ключарски и механични инструменти. Възможно е да се реже пластмасова тръба чрез:
- триони за метал или с малък втвърден зъб;
- триъгълна пила;
- мозайката (за диаметри, ненадвишаващи 50 mm);
- циркулярен или бутален трион;
- мелница и други инструменти.
Монтажът на канализационни системи се извършва съгласно правилата, базирани на изискванията на SP 30.13330.2012. В допълнение към наблюдението на склонове е необходимо правилно разпределяне на точките на закрепване и връзки. Ако е технически възможно, се препоръчва да се извърши скрито окабеляване.
Монтажът на канализационни тръби на закрито започва:
- със съставяне на работен план;
- изпълнение на скица или рисунка;
- определяне на необходимите размери на колектора;
- подготовка на необходимия материал;
- подготовка на инструмент, с който можете да изрежете пластмасова част.
В края на етапа на монтажните работи вътрешното канализационно устройство се проверява визуално. Освен това е необходимо системата да се разлее с вода, за да се идентифицират възможни дефекти на продукта или наличие на течове.
Външна инсталация на системата
Монтажът на отпадъчни води от пластмасови тръби извън сградата се извършва, в повечето случаи, в земен изкоп. Това се дължи на:
- необходимостта от защита на пластмасовата канализационна конструкция от въздействието на отрицателни температури;
- рационално използване на повърхността на земния участък; защита от възможни механични повреди.
Монтажът на канализационни системи извън изкопа се извършва:
- при наличие на високо ниво на подпочвени води (влажни зони);
- скалиста или замръзнала земя (вечна слана);
- други технически ограничения.
Монтажът на канализационни тръби на площадката се извършва главно през топлия сезон. Това улеснява инсталирането на канализационни тръби - по-комфортен климат и наличие на размразена земя.
Външни продукти - червени тръби, изработени от полимери. Можете да изрежете или отрежете части по същия начин, както при вътрешните конструкции. Монтажът на канализационни пластмасови тръби се извършва самостоятелно или с участието на организация на трета страна.
Начинът - как да изрежете частите, когато инсталирането на канализационни тръби се извършва на закрито или извън сградата, препоръчително е да помислите предварително, преди да започнете работа. В противен случай необходимото устройство или инструмент може да не са под ръка, което значително ще усложни процеса на инсталиране на линията.
Източник: hemkor.ru
Топ модели на пазара на инструменти
В кутията с инструменти в гаража на домашен майстор, най-често срещаните ножици-ножици за металопластикови тръби. За да не натрупвате мозъка си, разбирайки цялото разнообразие от инструменти в строителните отдели, по-добре е незабавно да се запознаете с рейтинга на популярните висококачествени модели от различни ценови категории и да направите избор въз основа на опита на други купувачи.
Бюджетни модели за домашна употреба
Sturm е евтин и практичен вариант за домашна употреба. Устройството е оборудвано със закалено стоманено острие. Металните части са покрити с антикорозионно средство. Дръжката е изработена от удобна пластмаса с неплъзгаща се повърхност. Цената на фреза за тръби от Sturm варира от 400-450 рубли.


Евтиното не означава лошо качество. Да, бюджетните модели тръборези нямат всички предимства на професионалното оборудване, но изпълняват основната си функция
Друг бюджетен резач за тръби се произвежда от WMT. Този инструмент ще ви струва не повече от 300 рубли. За такива пари не е нужно да разчитате на допълнителна функционалност и други приятни малки неща, но устройството се справя с работата си в разумни граници. Нарязва металопластикови тръби до 42 мм.
Професионално оборудване за рязане на тръби
RIDGIT е един от лидерите на пазара за инструменти за рязане на тръби. Този производител предлага професионално оборудване, което може да работи при всякакви условия. RIDGIT PC 1375 ML е един от най-популярните модели на тази марка.
Лекото (само 320g) стоманено тяло и здравият резач реже тръбата само за няколко секунди. Широка гама от работни диаметри (до 42 мм) ви позволява да работите с най-популярните размери на тръбите. Цената на RIDGIT PC 1375 ML започва от 3600 рубли.


Всеки опитен строител може да различи професионалния инструмент от „аматьорския“, само като го държи в ръцете си. И не е нужно да знаете марки за това. Ако артикулът е с високо качество, това говори само за себе си.
Друг популярен модел от RIDGIT е TC-40. Това е автоматичен фреза за тръби. Оборудван е с двигател с мощност 0,75 kW и литиева батерия 12 V. Устройството може лесно да борави с тръби от 3 до 42 мм, просто натиснете бутон.
Има такова приятно допълнение като подсветка за работа в места с ниска осветеност. Тъй като многослойната металопластична тръба, производителят се погрижи за специален адаптер за този вид материали. Цената на автоматичен инструмент е от 18 000 рубли.
Професионалният инструмент Milwaukee от САЩ е гаранция за високо качество и надеждна работа за дълги години работа. Фрезата за тръби Milwaukee ProPEX е резачка за тръби с малък диаметър до 25 мм. Изработена е от трайна стомана, която не корозира. Удобната дръжка има високо ниво на ергономичност. Но цената за висококачествен фреза за тръби също е подходяща - от 2300 рубли.
Турската марка KALDE предлага широка гама метални пластмасови ножици за тръби. Например KALDE (40-63) е модел за рязане на тръби с голям диаметър - от 40 до 63 мм. Остриетата са много добре заточени, инструментът не огъва металопластикови тръби, не захапва краищата и не оставя стружки. Всички продукти на KALDE са произведени в съответствие с европейските стандарти за качество. Цената за конкретен модел в магазините е около 4300 рубли.
Ножовка
Първият е ножовка. След като са дошли с тръба и ножовка до някакъв предмет, те правят това.
Получават се прави ръбове. И когато тръбата се вкара в тръбата, тази ластик хапе от ръба, така че водопроводчиците трябва да направят допълнителна операция, а именно, скосяване. Това се прави или с нож, съответно, или тръбата просто се трие в бетона и се получава фаска.
Защо този метод е добър? Това е малък инструмент, сравнително малък. Въпреки че виждаме, че го имаме доста голям и дълъг и без защита, той не може да бъде преместен. Е, ако искате да заоблите краищата, имате нужда от нож.
български
По-финансово осигурените водопроводчици носят със себе си малка мелница. Не говоря за Бош, а за някакъв по-евтин. Сега ще го настроя за себе си. И ние нарязахме тръбата съответно.
Методът е по-бърз от първия. Той създава по-гладки ръбове. Разбира се, зависи и откъде растат ръцете на този, който трие, но краищата са по-гладки.
Има един недостатък в сравнение с първия метод - това е фаска. Получава се фаска с такива резки и тези ръбове трябва да бъдат обработени допълнително. Ами ще отиде. Но мелницата е обрасла с такава паяжина, чача и е доста трудно да се почисти.
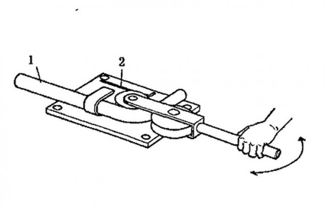
Инструмент за рязане на пластмасови тръби
И има още един съвременен метод за обработка на тръби - инструментът P-TEC 5000. Има прозорец за гледане. Довеждаме го до маркираната от нас дълбочина и го въртим в кръг. Резултатът е идеално прави изрязани и скосени ръбове.
Идеален разрез се получава на две парчета наведнъж, а фаска също се получава на две парчета. По-бързо, по-лесно. Няма нужда да носите мелница, няма нужда да носите такава ножовка. Много удобно. Бутонът е натиснат, поставен и изчезнал.
По-удобно от повечето съществуващи фрези за тръби, но има и недостатък. Предлага се само за тръби с 50, 32 и 40 мм. За последните две има двустранен апарат с два отвора. Единственият им недостатък е, че са затворени, тоест тръбата трябва да се вкара вътре.
Източник: transkribator.guru
Висококачествено рязане на полипропиленови тръби
Поради нарастващата популярност и разпространението на полипропиленовите тръби (пропиленов полимер), използвани за оборудване на системи за водоснабдяване и други комуникации, търсенето на специализиран инструмент, който улеснява работата с материала, се е увеличил значително.
Особено, изключително внимание се обръща на правилния избор на модела ножици, които режат полипропиленови тръбни продукти. Това значително опростява подготовката на целия набор от части за монтаж на окабеляване.
По правило на пазара се продават прави дължини (до 12,0 м), въпреки че често се срещат полипропиленови тръби в намотки, които се използват за монтиране на системи за подово отопление.
Основните видове инструменти за рязане на пропиленови тръби
Всички модификации на оборудването, произведено за рязане на термопластични полимерни пропиленови тръби, са разделени на няколко варианта на проектиране.
1. Прецизни ножици - разполагат с доста прост, надежден механизъм с разделен тап. Този инструмент може да дисектира и фрагментира продукти с диаметър 3,0–41,5 mm. Режещият инструмент има стоманено острие (клас на сплав) с назъбена лента, което позволява доста лесни, равномерни разфасовки в пропиленови тръби.
Използвайки прецизни ножици, можете лесно да се справите с едната ръка, но при големи обеми на фрагментация на материала умората на мускулите на ръката, предмишницата и рамото бързо се увеличава. Закупуването на инструмент предполага едногодишна гаранция, валидна само при правилна употреба на ножици.
2. Акумулаторният резач за тръби е автоматичен инструмент за свръхбързо (максимум 7,0 секунди), точно рязане на пропиленови тръби със средна дебелина (8,0–29,5 см). Силата на натиск на режещите повърхности се осигурява от малък, мощен електродвигател.
3. Ролковият резач на тръби е лесна за използване модификация на полипропиленовия режещ инструмент. Въпреки простотата на дизайна си, служителят може да направи абсолютно равномерна кройка. В този случай тръбните елементи се изрязват под равен (90 градуса) ъгъл.
Внимание! Всяко отклонение в процеса на рязане от четен, прав ъгъл (90 градуса) може да предизвика повреда на инструмента или деформационни повреди на линиите на среза!
Фрезите за ролкови тръби се предлагат с телескопични удължители. Тези инструменти са оборудвани с тресчотка и обикновено приличат на конвенционални ножици. Този резач за тръби има, от една страна, С-образна вдлъбнатина, където е поставена тръбата, която трябва да се реже. Противоположната страна съдържа заточено режещо острие. След като затвори дръжките с четка, тя отрязва тръбата в равномерна равнина.
4. Гилотинен резач за тръби е устройство, използвано за рязане на големи диаметрални тръби (63,5-350,0 mm). Инструментът се характеризира с наличието в дизайна на острие с висока якост, покрито с тефлон. Плавното монтиране на тръбата, както и бавното рязане с много остри остриета, допринасят за максималната гладкост на крайните повърхности. Това значително улеснява последващото електрофузионно заваряване без допълнителна обработка на краищата на тръбите.
Препоръка! Когато няма специализиран инструмент за рязане на полипропиленови тръби, можете да използвате специален трион за метал или дърво. Трябва да се помни, че и най-малкото нарушение на тази технология може да развали нарязаната тръба. Освен това крайната равнина на среза трябва да бъде допълнително почистена от пробиви и образуващи стружки, а това отнема много усилия и допълнително време!
Пресоване
Свързването на тръби чрез метода на пресоване ви позволява да тухлите тръбите в стени или да ги запълните с бетон, без да се страхувате от течове. Този метод е по-надежден от компресионния фитинг. Ще ви трябват обаче специализирани инструменти и оборудване.
За да инсталирате тръби, ще ви трябва:
- Кримпващи съединители;
- Ножовка за метал или тръбен нож;
- Калибратор за обработка на ръбове;
- Клещи за кримпване (електрически или ръчни).
Благодарение на използването на щипки за пресоване, свързването на тръбите се получава с високо качество. Не е необходимо да се купуват фитинги, което означава, че разходите за монтаж са намалени.
Инструкции стъпка по стъпка за инсталиране на тръби с помощта на метода за пресоване:
- Правим необходимите изчисления, измервания и отрязваме парче тръба с необходимата дължина.
- Обработваме края на тръбата с калибратор, връщайки го в първоначалната си форма.
- Поставяме гофрирана втулка на тръбата.
- Поставете фитинга, оборудван с гумено уплътнение.
- Изстискваме съединителя с пресови клещи, в резултат на което на съединителя ще се появи пръстен. Не забравяйте, че можете да изкривите съединителя само веднъж и ако направите нещо нередно, детайлът ще трябва да бъде заменен с нов.
Ако сте закупили фитинг с муфа, която вече е прикрепена към него, тогава процесът на свързване ще изглежда малко по-различно.
Първата стъпка също ще бъде измерване и подрязване на тръбата и подрязване на нейните ръбове. След това ще е необходимо да поставите тръбата върху фитинга. Ще бъде възможно да се контролира и регулира плътността на прилепването през специални отвори в маншета за кримпване.
Връзката за пресоване може да се използва за водопроводни, отоплителни и подови отоплителни системи.


Клещи за кримпване
Някои хора не използват метода за пресоване, само защото трябва да закупят челюст за преса. Но трябва да се има предвид, че напоследък много магазини практикуват отдаването под наем на този инструмент, което ви позволява да спестите от покупката и да инсталирате металопластикови тръби без специални разходи.
Изборът на специфичен тип полипропиленови тръби за определени условия
За да се режат тръби, изработени от полипропиленов материал, ножиците се избират за конкретна стойност на диаметралния им размер. Днес производителите представят тръбния материал в четири версии:
- РN-10 - е избран за създаване на система "топъл под" и захранване със студена вода. Охлаждащата течност не трябва да е по-гореща от +45.0 C, а вътрешното налягане трябва да се поддържа на 1.0 MPa;
- PN-16 - подходящ за разпределение на охладена вода, както и за тръбопроводи на централизираната отоплителна система. Охлаждащата течност се подава под ниско налягане - не повече от 1,7 MPa;
- PN-20 е универсална версия на тръбата, която се използва активно за инсталиране на топло, топло или студено водоснабдяване. Задължителни условия за инсталиране на тръби PN-20: максималното вътрешно налягане е 2,1 МРа, а температурата на охлаждащата течност е не повече от +80 C;
- PN-25 е тръбен материал, подсилен с алуминиево фолио. Това решение позволява на стените на тръбите да издържат на вътрешно налягане от 2,6 МРа и максимална температура на водата от +95 С. Този тип тръби са идеални за инсталиране на централно отопление и водоснабдяване.
Важно! Изборът на вида на полипропиленовите тръби трябва да се извършва внимателно, като се отчита внимателно температурата и налягането на водата в системата, тъй като непосредственият експлоатационен живот на тръбопровода зависи от тези фактори!
В допълнение към различни тръбни продукти от полипропилен, производителите произвеждат много фитинги и комбинирани елементи. Последните често са оборудвани с формовани месингови вложки с вътрешни или външни резби.
Металните вложки позволяват лесно уплътняване и преобразуване на материали.
Помня! Само професионални, висококачествени модификации на режещите инструменти могат ефективно да се справят с рязането на полипропиленови тръби, независимо от тяхната дебелина и диаметър на стената!
Видове инструменти за монтаж на металопластикови тръби
Следните инструменти се използват за свързване на металопластикови тръби:
- Фреза или ножица за рязане на метал-пластмаса.
- Ъглошлайф (мелница).
- Огъване на тръби.
- Строителен сешоар.
- Ръчно натискане или натискане на щипки.
Мелницата и строителният сешоар се задвижват от електрически мотор. Домакинските огъващи тръби за металопластикови тръби обикновено се управляват ръчно. Ръчната кримпваща преса има няколко разновидности с различни видове задвижвания.
Механични
Ръчни или механични мини клещи се използват за кримпване на водопроводи с диаметър до 20 мм. Те се използват за вътрешно разпределение на топла и студена вода. Тези инструменти нямат електрическо задвижване или хидравлични усилватели; те използват човешка мускулна сила, за да ги управляват.
Ръчно задвижване
Ръчни огъващи тръби, самоизработени машини Volnov имат по-сложен дизайн от обикновените инструменти. Силата, необходима за огъване, е доста значителна и лостовете се използват за задействане на такива конструкции.


За кримпване на металопластични отоплителни тръби (25 мм, понякога 32 мм) се използва стандартна ръчна преса за кримпване на пресовите фитинги. За да се подобри мускулната сила на човек, се използва зъбна предавка, която също помага за правилното регулиране на кримпващата сила.
Хидравличен
За кримпване на тръбопроводи с по-голям диаметър (до 32 мм) се произвеждат хидравлични клещи. В една от дръжките на клещите е вграден подсилващ хидравличен цилиндър. Когато дръжките се притиснат в хидравличния цилиндър, налягането се повишава, силата се предава на кримпващата глава на клещите. Такива клещи са доста скъпи (от 10 000 рубли), изискват квалифицирана поддръжка.


Електрохидравлична опция
Всички предишни модели се използват при монтажа на металопластикови инженерни системи в малки обеми. В индустриалното строителство или ако постоянно инсталирате водопроводни системи, има смисъл да закупите мощен електрохидравличен инструмент за пресоване. Такова оборудване се използва за монтаж на тръбопроводи с диаметър до 108 mm.
Инструментът за електрохидравлична преса има висока производителност и най-високо качество и плътна компресия. Устройствата са оборудвани с дюзи за кримпване на тръби с различен диаметър. Електрически клещи за обикновени битови диаметри до 50 мм могат да се експлоатират с батерии.
Как да изрежете полипропиленови тръби? Принципи за избор на добър инструмент
На първо място, при избора на качествен инструмент за рязане на пропиленови тръби е необходимо да се надгражда планираната интензивност на последващото му използване. Когато имате нужда от едно или две разрези, прецизните или ролкови ножици са добре.
Ако се налага често да режете тръби, тогава моделът на батерията би бил най-добрият вариант. Разбира се, фрезата за гилотинови тръби ефективно ще се справи с работата, особено при рязане на тръби с големи диаметри.
Отличителен белег! Важен недостатък е характерен за всички модификации на фрези за тръби - острието може да се премести малко встрани по време на рязане. Това не е критично за малки диаметри, но полипропиленовите тръби с големи размери трябва да бъдат премахнати от такъв недостатък. Затова изрежете големи тръби с фреза за гилотина!
Предимства на ръчните и електрическите фрези за тръби
Инструментът за рязане на металопластикови тръби може да бъде от 2 вида:
- ръчно;
- електрически.
Ръчен нож за тръби работи, като отчита мускулната сила на човека, който го използва. Може да се използва при всякакви условия, няма връзка с наличието на захранване, няма ограничения за времето за работа в зависимост от капацитета на батерията и други неудобства, свързани с използването на електроинструмент.
Никой обаче няма да спори, че при големи обеми работа ръчните инструменти може да не са достатъчни. Това важи особено за дебелостенните металопластикови тръби с голям диаметър. Разбира се, в строителството на ниво домакинство такива материали са рядкост, но за професионален водопроводчик това е съвсем реална ситуация.


Инструментът спестява времето и усилията на служителя.Освен това се изключва човешкият фактор, когато „не е ударил“, „не е проверил“ или окото е отказало
Електрическият нож за захранване с батерии е истински спасител при рязане в индустриален мащаб. В случай на електроинструмент, човек само поставя маркировка, където трябва да се направи изрязването, след това фиксира частта, така че маркировката на тръбата и в прозореца на тръбореза да съвпада възможно най-точно, след което включва захранването и получава спретнато, перфектно равномерно изрязване.
Разбира се, това не е просто удобство. Цената на акумулаторен резач за тръби за металопластични тръби в пъти надвишава цената на ръчен инструмент. Никой не иска да надплаща, освен ако, разбира се, няма да използвате устройството в професионални дейности почти всеки ден.
Технология на рязане на пластмасови тръби с прецизни ножици
Няма специални правила за рязане на пропиленови тръби. Режещите инструменти, особено прецизните ножици, имат специални вдлъбнатини, в които нарязаният материал е разположен строго перпендикулярно на заточеното острие.
Внимание! При натиск върху дръжките може да се наруши равномерното положение на тръбата. Това трябва да се предотврати по всякакъв възможен начин, в противен случай изрязването ще се окаже неравномерно или инструментът ще се счупи!
Много е важно за заваряване, монтаж и други видове свързване, да се следи тежестта на ъгъла на рязане - той трябва да бъде изключително 90 градуса.
Когато инструментът е неудобно да се държи в четката поради големите дръжки, той може да бъде затегнат в тиска. Можете да го направите и при рязане на тръби с голям диаметър, тъй като силите за нормално натискане върху лоста може да не са достатъчни.
Ясно е, че голям брой тръби не могат да се режат по такъв начин, но ако ремонтът е малък, можете напълно да се справите без големи, скъпи режещи инструменти.
Как да огънете подсилена пластмасова тръба
Едно от предимствата на металопластиката е нейната гъвкавост, поради което е възможно да се направи с минимален брой фитинги. Например, вместо да монтирате фитинг за коляно, може просто да е лесно да огънете самата тръба. При производството, за да има елемент като намотка от металопластична тръба, освен това е невъзможно да се направи без огъване.


Основният проблем с деформацията на тръбопровода е какво може да направи. С други думи, стените му ще се сближат в завоя, което ще направи невъзможна обичайната циркулация на охлаждащата течност.


Има два начина за решаване на този проблем:
- с помощта на тръбен огъвател,
- огънете тръбопровода със собствените си ръце. В този случай ще е необходимо да се запълни вътрешното пространство на тръбата, за да се предотврати изкривяване.
С ръчно огъване тръбата може да се напълни с пясък или сол. Това може да замени дорника. След запълване и запечатване на отворите в краищата е възможно тръбопроводът да се огъне нормално.
Вместо насипни материали е подходяща и пружина за металопластични тръби. Неговият диаметър трябва да бъде по-малък от вътрешния диаметър на самата тръба.


Що се отнася до огъването на тръби, те могат да бъдат класифицирани според метода на огъване:
- дорник - твърд елемент се движи в тръбопровода,
- сегментарен - заедно с това, огъването се извършва с помощта на комплект обувки с различен диаметър и радиус на огъване.


В този случай инструкциите за огъване на тръбата са прости - към лоста за огъване на тръбата се прилага достатъчно сила. Тръбата е добре притисната към обувката и се деформира.
Забележка! За всеки размер има минимален радиус на огъване. Това може да се разбере по формулата 5 • D, където D е диаметърът на тръбопровода.






