Тук ще разберете:
- Изчисляване на въздушна отоплителна система - проста техника
- Основният метод за изчисляване на въздушната отоплителна система
- Пример за изчисляване на топлинните загуби у дома
- Изчисляване на въздуха в системата
- Избор на въздушен нагревател
- Изчисляване на броя на вентилационните решетки
- Проектиране на аеродинамична система
- Допълнително оборудване, повишаващо ефективността на въздушните отоплителни системи
- Прилагане на топлинни въздушни завеси
Такива отоплителни системи се разделят според следните критерии: По тип енергоносител: системи с парни, водни, газови или електрически нагреватели. По естеството на потока на нагрятата охлаждаща течност: механичен (с помощта на вентилатори или вентилатори) и естествен импулс. По типа на вентилационните схеми в отопляеми помещения: директен поток или с частична или пълна рециркулация.
Чрез определяне на мястото на отопление на охлаждащата течност: местно (въздушната маса се нагрява от локални отоплителни тела) и централно (отоплението се извършва в обща централизирана единица и впоследствие се транспортира до отопляваните сгради и помещения).
Изчисляване на въздушна отоплителна система - проста техника
Дизайнът на въздушното отопление не е лесна задача. За да се реши, е необходимо да се открият редица фактори, чието независимо определяне може да бъде трудно. Специалистите от RSV могат да направят безплатно за вас предварителен проект за въздушно отопление на помещение на базата на оборудване GRERES.
Въздушна отоплителна система, както и всяка друга, не може да бъде създадена на случаен принцип. За да се осигури медицинската норма за температурата и свежия въздух в стаята, ще се изисква комплект оборудване, чийто избор се основава на точно изчисление. Има няколко метода за изчисляване на въздушното отопление с различна степен на сложност и точност. Често срещан проблем при изчисленията от този тип е липсата на съображение за влиянието на фините ефекти, които не винаги е възможно да се предвидят.
Следователно извършването на независимо изчисление, без да сте специалист в областта на отоплението и вентилацията, е изпълнено с грешки или грешни изчисления. Можете обаче да изберете най-достъпния метод въз основа на избора на мощността на отоплителната система.
Смисълът на тази техника е, че мощността на отоплителните устройства, независимо от техния тип, трябва да компенсира топлинните загуби на сградата. По този начин, след като намерим топлинните загуби, получаваме стойността на отоплителната мощност, според която може да бъде избрано конкретно устройство.
Формула за определяне на топлинните загуби:
Q = S * T / R
Където:
- Q - количеството топлинни загуби (W)
- S - площта на всички конструкции на сградата (стая)
- T - разликата между вътрешните и външните температури
- R - термично съпротивление на ограждащите конструкции
Пример:
Сграда с площ 800 м2 (20 × 40 м), висока 5 м, има 10 прозореца с размери 1,5 × 2 м. Намираме площта на конструкциите: 800 + 800 = 1600 м2 (под и таван площ) 1,5 × 2 × 10 = 30 м2 (площ на прозореца) (20 + 40) × 2 × 5 = 600 м2 (площ на стената). Изваждаме оттук площта на прозорците, получаваме „чиста“ площ на стената от 570 м2
В таблиците SNiP откриваме термичната устойчивост на бетонни стени, подове и подове и прозорци. Можете да го определите сами, като използвате формулата:
Където:
- R - термично съпротивление
- D - дебелина на материала
- K - коефициент на топлопроводимост
За простота ще вземем дебелината на стените и пода с тавана да бъде еднаква, равна на 20 см. Тогава термичното съпротивление ще бъде равно на 0,2 m / 1,3 = 0,15 (m2 * K) / W Ние ще изберем термичното съпротивление на прозорците от масите: R = 0, 4 (m2 * K) / W Температурната разлика се приема като 20 ° C (20 ° C вътре и 0 ° C отвън).
След това за стените получаваме
- 2150 m2 × 20 ° C / 0,15 = 286666 = 286 kW
- За прозорци: 30 m2 × 20 ° C / 0,4 = 1500 = 1,5 kW.
- Обща топлинна загуба: 286 + 1,5 = 297,5 kW.
Това е количеството топлинни загуби, които трябва да бъдат компенсирани с въздушно отопление с мощност около 300 kW.
Забележително е, че когато се използва изолация на пода и стените, топлинните загуби се намаляват поне с порядък.
Захранваща вентилация, комбинирана с въздушно отопление
Принципът на отоплението на въздуха, базиран на блок за подаване на въздух, се основава на рециркулация на въздуха, устройството взема въздух от помещението, добавя необходимото количество свеж въздух, почиства, загрява и захранва отново помещението. За разпределяне на въздуха в помещенията се полага мрежа от въздуховоди, завършващи с решетки за разпределение на въздуха, дифузори или анемостати. Основната трудност на такива системи, според специалистите от нашия дизайнерски институт за отопление в Украйна, е балансирането на такива системи, колкото повече стаи има, толкова по-трудно е да ги свържем заедно. Това изисква скъпа автоматизация, така че такива системи са по-ефективни в индустриалния и производствения сектор, в големите магазини и други помещения с голям обем.

Проектиране на въздушни отоплителни системи, базирани на блокове за подаване на въздух
Проектирането на отоплителни системи, включително въздушни, започва с изчисление на топлотехника, което определя необходимото количество топлина за всяко производствено или домакинско помещение. След изчисляване на необходимата топлина, ние задаваме температурата на подаване, в зависимост от:
- Височини на помещенията - колкото по-висока е височината на помещението, толкова по-ниска е температурата на подаване, така че въздушната струя да достигне пода.
- Материали от въздуховоди и разпределителни решетки - пластмасовите решетки са склонни да се деформират дори от не много висока температура, която продължава дълго време.
- Предназначение на помещението - в помещения с постоянно присъствие на хора в близост до разпределителите на въздуха е необходимо да се намали температурата на подаването, в противен случай ще възникне дискомфорт.
Основната точка на определяне на температурата на подаване е да се определи скоростта на въздушния поток, колкото по-висока е температурната разлика между въздуха в помещението и захранващия въздух, толкова по-малък е обемът на въздуха. След определяне на необходимата температура се извършват изчисления съгласно j-d диаграмата за определяне на температурата на охлаждащата течност. За разлика от проект за водно отопление, въздушният проект съдържа схема на разпределение не на тръби, а на въздуховоди, чиито диаметри се изчисляват и подписват на листове с проектна документация.
Проект за въздушно отопление за дома и производството
В готовия проект на въздушната отоплителна система, независимо от предназначението на помещенията, винаги са посочени всички данни, необходими за изпълнението на проекта, комплектът от проектна документация включва не само планове с отпечатано оформление на въздуховодите тях, но и много други данни. Всеки проект задължително съдържа кратка информация за системата, окончателни цифри за потреблението на топлина и енергия, технически характеристики на оборудването, предложено от проекта, и кратко описание на системата. В допълнение към краткото описание, в обяснителната бележка към проекта трябва да се приложи по-подробно описание. Освен това проектът за въздушно отопление и вентилация на производствена работилница или вила съдържа аксонометрична диаграма на окабеляващата система на въздуховодите, върху която са маркирани маркировките на височините на преминаване на въздуховодите и местоположението на оборудването .
Също така към проекта е приложена спецификацията на основното оборудване и всички материали, необходими за монтаж, според тази информация не само ние, но и всяка друга инсталационна организация ще можем да изпълняваме монтажни работи. По този начин дизайнът на системата за въздушно отопление съдържа цялата необходима информация и сложните възли на прохода, разположението на оборудването, вентилационните камери и състава на блока за подаване на въздух също се поставят на съответните листове, ако е необходимо.
Основният метод за изчисляване на въздушната отоплителна система
Основният принцип на действие на всеки SVO е да предава топлинна енергия през въздуха чрез охлаждане на охлаждащата течност. Основните му елементи са топлинен генератор и топлинна тръба.
Въздухът се подава към вече нагрятото до температурата tr помещение, за да се поддържа желаната температура на телевизора. Следователно количеството на натрупаната енергия трябва да бъде равно на общите топлинни загуби на сградата, т.е. Q. Равенството се осъществява:
Q = Eot × c × (tv - tn)
Във формулата E е дебитът на нагрятия въздух kg / s за отопление на помещението. От равенството можем да изразим Eot:
Eot = Q / (c × (tv - tn))
Спомнете си, че топлинният капацитет на въздуха c = 1005 J / (kg × K).
Съгласно формулата се определя само количеството подаван въздух, което се използва само за отопление само в рециркулационни системи (наричани по-долу RSCO).

В системите за подаване и рециркулация част от въздуха се взима от улицата, а другата част се взима от стаята. И двете части се смесват и след нагряване до необходимата температура се доставят в помещението.
Ако CBO се използва като вентилация, тогава количеството подаван въздух се изчислява, както следва:
- Ако количеството въздух за отопление надвишава количеството въздух за вентилация или е равно на него, тогава се взема предвид количеството въздух за отопление и системата се избира като система с директен поток (наричана по-долу PSVO) или с частична рециркулация (наричана по-долу CRSVO).
- Ако количеството въздух за отопление е по-малко от количеството въздух, необходимо за вентилация, тогава се взема предвид само количеството въздух, необходимо за вентилация, въвежда се PSVO (понякога - RSPO) и температурата на подавания въздух е изчислява се по формулата: tr = tv + Q / c × Събитие ...
Ако стойността tr надвишава допустимите параметри, количеството въздух, вкарван през вентилацията, трябва да се увеличи.
Ако в стаята има източници на постоянно генериране на топлина, тогава температурата на подавания въздух се намалява.


Включените електрически уреди генерират около 1% от топлината в стаята. Ако едно или повече устройства ще работят непрекъснато, тяхната топлинна мощност трябва да се вземе предвид при изчисленията.
За единична стая стойността tr може да е различна. Технически е възможно да се реализира идеята за подаване на различни температури в отделни помещения, но е много по-лесно да се подава въздух с една и съща температура във всички помещения.
В този случай общата температура tr се приема тази, която се оказа най-малката. След това количеството на подавания въздух се изчислява по формулата, която определя Eot.
След това определяме формулата за изчисляване на обема на входящия въздух Vot при неговата температура на нагряване tr:
Vot = Eot / pr
Отговорът се записва в m3 / h.
Въпреки това обменът на въздух в стаята Vp ще се различава от стойността на Vot, тъй като тя трябва да бъде определена въз основа на вътрешната температура tv:
Vot = Eot / pv
Във формулата за определяне на Vp и Vot показателите за плътност на въздуха pr и pv (kg / m3) се изчисляват, като се вземат предвид температурата на нагрятия въздух tr и стайната температура tv.
Температурата на подаване в помещението tr трябва да е по-висока от tv. Това ще намали количеството подаван въздух и ще намали размера на каналите на системи с естествено движение на въздуха или ще намали разходите за електричество, ако се използва механична индукция за циркулация на нагрятата въздушна маса.
Традиционно максималната температура на въздуха, влизащ в помещението, когато се подава на височина над 3,5 m, трябва да бъде 70 ° C. Ако въздухът се подава на височина, по-малка от 3,5 m, тогава температурата му обикновено е равна на 45 ° C.
За жилищни помещения с височина 2,5 m допустимата температурна граница е 60 ° C. Когато температурата се зададе по-висока, атмосферата губи своите свойства и не е подходяща за вдишване.
Ако въздушно-термичните завеси са разположени на външните порти и отвори, които излизат навън, тогава температурата на входящия въздух е 70 ° C, за завесите във външните врати, до 50 ° C.
Доставените температури се влияят от методите за подаване на въздух, посоката на струята (вертикално, наклонено, хоризонтално и др.). Ако хората са постоянно в стаята, тогава температурата на подавания въздух трябва да бъде намалена до 25 ° C.
След извършване на предварителни изчисления можете да определите необходимия разход на топлина за отопление на въздуха.
За RSVO разходите за топлина Q1 се изчисляват чрез израза:
Q1 = Eot × (tr - tv) × c
За PSVO Q2 се изчислява по формулата:
Q2 = Събитие × (tr - tv) × c
Консумацията на топлина Q3 за RRSVO се определя от уравнението:
Q3 = × c
И в трите израза:
- Eot and Event - разход на въздух в kg / s за отопление (Eot) и вентилация (Event);
- tn - външна температура в ° С.
Останалите характеристики на променливите са същите.
В CRSVO количеството на рециркулирания въздух се определя по формулата:
Erec = Eot - Събитие
Променливата Eot изразява количеството смесен въздух, нагрят до температура tr.
В PSVO има особеност с естествения импулс - количеството движещ се въздух се променя в зависимост от външната температура. Ако външната температура спадне, налягането в системата се повишава. Това води до увеличаване на приема на въздух в къщата. Ако температурата се повиши, тогава се получава обратният процес.
Също така, в SVO, за разлика от вентилационните системи, въздухът се движи с по-ниска и различна плътност в сравнение с плътността на въздуха, заобикалящ каналите.
Поради това явление възникват следните процеси:
- Идвайки от генератора, въздухът, преминаващ през въздуховодите, значително се охлажда по време на движение
- При естествено движение количеството въздух, постъпващо в помещението, се променя по време на отоплителния сезон.
Горните процеси не се вземат предвид, ако се използват вентилатори в системата за циркулация на въздуха за циркулация на въздуха; тя също има ограничена дължина и височина.
Ако системата има много клонове, доста дълги и сградата е голяма и висока, тогава е необходимо да се намали процесът на охлаждане на въздуха в каналите, за да се намали преразпределението на въздуха, подаван под въздействието на естественото циркулационно налягане.


При изчисляване на необходимата мощност на удължени и разклонени въздушни отоплителни системи е необходимо да се вземе предвид не само естественият процес на охлаждане на въздушната маса при движение през канала, но и ефектът от естественото налягане на въздушната маса при преминаване през канала
За управление на процеса на въздушно охлаждане се извършва термично изчисление на въздуховодите. За да направите това, е необходимо да зададете първоначалната температура на въздуха и да изясните дебита му с помощта на формули.
За да изчислите топлинния поток Qohl през стените на канала, дължината на който е l, използвайте формулата:
Qohl = q1 × l
В израза стойността q1 означава топлинния поток, преминаващ през стените на въздуховод с дължина 1 m. Параметърът се изчислява чрез израза:
q1 = k × S1 × (tsr - tv) = (tsr - tv) / D1
В уравнението D1 е съпротивлението на топлопреминаване от нагрят въздух със средна температура tsr през площта S1 на стените на въздуховод с дължина 1 m в помещение при температура на tv.
Уравнението на топлинния баланс изглежда така:
q1l = Eot × c × (tnach - tr)
Във формулата:
- Eot е количеството въздух, необходимо за отопление на помещението, kg / h;
- в - специфичен топлинен капацитет на въздуха, kJ / (kg ° С);
- tnac - температура на въздуха в началото на канала, ° С;
- tr е температурата на въздуха, изхвърлен в помещението, ° С.
Уравнението на топлинния баланс ви позволява да зададете началната температура на въздуха в канала при дадена крайна температура и, обратно, да разберете крайната температура при дадена начална температура, както и да определите скоростта на въздушния поток.
Температурата може да бъде намерена и по формулата:
tnach = tv + ((Q + (1 - η) × Qohl)) × (tr - tv)
Тук η е частта от Qohl, влизаща в стаята; при изчисленията тя се приема равна на нула. Характеристиките на останалите променливи бяха споменати по-горе.
Рафинираната формула за дебита на горещия въздух ще изглежда така:
Eot = (Q + (1 - η) × Qohl) / (c × (tsr - tv))
Нека да преминем към пример за изчисляване на отоплението на въздуха за конкретна къща.
Норми на температурни режими на помещенията
Преди извършване на каквито и да е изчисления на параметрите на системата, е необходимо поне да се знае редът на очакваните резултати, както и да има стандартизирани характеристики на някои таблични стойности, които трябва да бъдат заменени в формули или да се ръководите от тях.
След като извършихме изчисления на параметрите с такива константи, можем да бъдем сигурни в надеждността на търсения динамичен или постоянен параметър на системата.


За помещения с различни цели има референтни стандарти за температурните режими на жилищни и нежилищни помещения. Тези норми са залегнали в така наречените GOST.
За отоплителна система един от тези глобални параметри е стайната температура, която трябва да бъде постоянна, независимо от сезона и условията на околната среда.
Според регламента на санитарните норми и правила има разлики в температурата спрямо летния и зимния сезон. Климатичната система е отговорна за температурния режим на помещението през летния сезон, принципът на нейното изчисление е описан подробно в тази статия.
Но стайната температура през зимата се осигурява от отоплителната система. Следователно, ние се интересуваме от температурните диапазони и техните допуски за отклоненията през зимния сезон.
Повечето нормативни документи предвиждат следните температурни диапазони, които позволяват на човек да се чувства комфортно в една стая.
За нежилищни помещения от офисен тип с площ до 100 м2:
- 22-24 ° С - оптимална температура на въздуха;
- 1 ° С - допустимо колебание.
За помещения от офис тип с площ над 100 m2 температурата е 21-23 ° C. За нежилищни помещения от индустриален тип температурните диапазони се различават значително в зависимост от предназначението на помещенията и установените стандарти за защита на труда.


Всеки човек има своя собствена комфортна стайна температура. Някой обича да е много топло в стаята, на някой му е удобно, когато в стаята е хладно - всичко това е съвсем индивидуално
Що се отнася до жилищните помещения: апартаменти, частни къщи, имения и т.н., има определени температурни диапазони, които могат да се регулират в зависимост от желанията на жителите.
И все пак, за конкретни помещения на апартамент и къща имаме:
- 20-22 ° С - хол, включително детска стая, толеранс ± 2 ° С -
- 19-21 ° С - кухня, тоалетна, толеранс ± 2 ° С;
- 24-26 ° С - баня, душ кабина, басейн, толеранс ± 1 ° С;
- 16-18 ° С - коридори, коридори, стълбища, складове, толеранс 3 ° С
Важно е да се отбележи, че има още няколко основни параметъра, които влияят на температурата в помещението и върху които трябва да се съсредоточите при изчисляване на отоплителната система: влажност (40-60%), концентрация на кислород и въглероден диоксид във въздуха (250: 1), скоростта на движение на въздушната маса (0,13-0,25 m / s) и др.
Пример за изчисляване на топлинните загуби у дома
Въпросната къща се намира в град Кострома, където температурата пред прозореца в най-студения петдневен период достига -31 градуса, температурата на земята е + 5 ° C. Желаната стайна температура е + 22 ° C.
Ще разгледаме къща със следните размери:
- ширина - 6,78 м;
- дължина - 8,04 м;
- височина - 2,8 m.
Стойностите ще се използват за изчисляване на площта на ограждащите елементи.


За изчисления е най-удобно да нарисувате план на къщата на хартия, като посочите върху него ширината, дължината, височината на сградата, местоположението на прозорците и вратите, техните размери
Стените на сградата се състоят от:
- газобетон с дебелина B = 0,21 m, коефициент на топлопроводимост k = 2,87;
- пяна B = 0,05 m, k = 1,678;
- облицовъчна тухла В = 0,09 m, k = 2,26.
При определяне на k трябва да се използва информация от таблици или по-добре - информация от технически паспорт, тъй като съставът на материалите от различни производители може да се различава, следователно има различни характеристики.


Стоманобетонът има най-висока топлопроводимост, плочите от минерална вата - най-ниска, така че те се използват най-ефективно при изграждането на топли къщи
Подът на къщата се състои от следните слоеве:
- пясък, B = 0,10 m, k = 0,58;
- трошен камък, B = 0,10 m, k = 0,13;
- бетон, B = 0,20 m, k = 1,1;
- изолация от еко вълна, B = 0,20 m, k = 0,043;
- подсилена замазка, B = 0,30 m k = 0,93.
В горния план на къщата подът има еднаква структура по цялата площ, няма мазе.
Таванът се състои от:
- минерална вата, B = 0,10 m, k = 0,05;
- гипсокартон, B = 0,025 m, k = 0,21;
- борови щитове, B = 0,05 m, k = 0,35.
Таванът няма изходи към тавана.
В къщата има само 8 прозореца, всички те са двукамерни с K-стъкло, аргон, D = 0,6. Шест прозореца са с размери 1,2х1,5 м, единият е 1,2х2 м, а един е 0,3х0,5 м. Вратите са с размери 1х2,2 м, индексът D според паспорта е 0,36.
Изчисляване на броя на вентилационните решетки
Броят на вентилационните решетки и скоростта на въздуха в канала са изчислени:
1) Задаваме броя на решетките и избираме техните размери от каталога
2) Знаейки техния брой и разход на въздух, ние изчисляваме количеството въздух за 1 скара
3) Изчисляваме скоростта на излизане на въздух от разпределителя на въздуха по формулата V = q / S, където q е количеството въздух на решетка, а S е площта на разпределителя на въздуха. Задължително е да се запознаете със стандартната скорост на изтичане и само след като изчислената скорост е по-малка от стандартната, може да се счита, че броят на решетките е избран правилно.
Втора фаза
2. Познавайки топлинните загуби, ние изчисляваме въздушния поток в системата, използвайки формулата
G = Qп / (с * (tg-tv))
G- масов въздушен поток, kg / s
Qp - топлинни загуби на помещението, J / s
C - топлинен капацитет на въздуха, приет за 1.005 kJ / kgK
tg - температура на нагрятия въздух (приток), K
tv - температура на въздуха в стаята, K
Напомняме ви, че K = 273 ° C, тоест за да преобразувате градусите си по Целзий в градуси по Келвин, трябва да добавите 273. Към тях, за да конвертирате kg / s в kg / h, трябва да умножите kg / s по 3600 .
Прочетете следващото: Мивка от изкуствен камък плюсове и минуси
Преди да изчислите въздушния поток, трябва да разберете обменните курсове за даден тип сграда. Максималната температура на входящия въздух е 60 ° C, но ако въздухът се подава на височина, по-малка от 3 m от пода, тази температура спада до 45 ° C.
И още нещо, когато се проектира система за въздушно отопление, е възможно да се използват някои енергоспестяващи средства, като рекуперация или рециркулация. Когато изчислявате количеството въздух в система с такива условия, трябва да можете да използвате диаграмата за идентификация на влажен въздух.
Проектиране на аеродинамична система
5. Правим аеродинамичното изчисление на системата. За да се улесни изчислението, експертите съветват приблизително да се определи напречното сечение на главния въздуховод за общия разход на въздух:
- дебит 850 м3 / час - размер 200 х 400 мм
- Дебит 1000 m3 / h - размер 200 x 450 mm
- Дебит 1 100 м3 / час - размер 200 х 500 мм
- Дебит 1 200 м3 / час - размер 250 х 450 мм
- Дебит 1 350 м3 / ч - размер 250 х 500 мм
- Дебит 1 500 m3 / h - размер 250 x 550 mm
- Дебит 1 650 м3 / ч - размер 300 х 500 мм
- Дебит 1800 м3 / ч - размер 300 х 550 мм
Как да изберем правилните въздуховоди за отопление на въздуха?
Обобщаване
Дизайнът на вентилационна система може да изглежда прост само на пръв поглед - поставете няколко тръби и ги донесете на покрива. Всъщност всичко е много по-сложно и в случай, когато вентилацията се комбинира с въздушно отопление, сложността на задачата само се увеличава, защото е необходимо да се осигури не само отстраняването на мръсния въздух, но и да се постигне стабилна температура в стаите.
Видеото в тази статия има теоретичен характер, в който експертите дават отговори на редица често срещани въпроси.
Хареса ли ви статията? Абонирайте се за нашия канал Yandex.Zen
Допълнително оборудване, повишаващо ефективността на въздушните отоплителни системи
За надеждната работа на тази отоплителна система е необходимо да се предвиди инсталирането на резервен вентилатор или да се монтират най-малко две отоплителни тела на стая.
Ако основният вентилатор се повреди, стайната температура може да спадне под нормата, но не повече от 5 градуса, при условие, че се подава външен въздух.
Температурата на въздушния поток, подаван в помещенията, трябва да бъде най-малко двадесет процента по-ниска от критичната температура на самозапалване на газове и аерозоли, присъстващи в сградата.
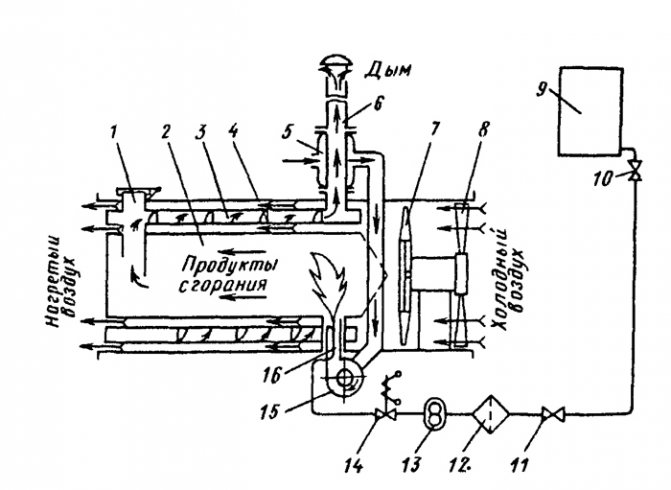
За нагряване на охлаждащата течност във въздушните отоплителни системи се използват отоплителни тела от различни видове конструкции.
Те могат да се използват и за завършване на отоплителни тела или камери за подаване на вентилация.


Схема за отопление на въздуха на къщата. Щракнете за уголемяване.
В такива нагреватели въздушните маси се нагряват от енергията, взета от охлаждащата течност (пара, вода или димни газове), а също така могат да се отопляват от електрически централи.
Отоплителните тела могат да се използват за отопление на рециркулирания въздух.
Те се състоят от вентилатор и нагревател, както и от апарат, който формира и насочва потока на охлаждащата течност, подавана към помещението.
Големите отоплителни тела се използват за отопление на големи производствени или промишлени помещения (например в цеховете за сглобяване на вагони), в които санитарните и хигиенните и технологичните изисквания позволяват възможността за рециркулация на въздуха.
Също така, големи отоплителни въздушни системи се използват след часове за отопление в режим на готовност.
Класификация на въздушните отоплителни системи
Такива отоплителни системи са разделени според следните критерии:
По вид енергийни източници: системи с пара, вода, газ или електрически нагреватели.
По естеството на потока на нагрятата охлаждаща течност: механичен (с помощта на вентилатори или вентилатори) и естествен импулс.
По типа на вентилационните схеми в отопляеми помещения: директен поток или с частична или пълна рециркулация.
Чрез определяне на мястото на отопление на охлаждащата течност: местно (въздушната маса се нагрява от локални отоплителни тела) и централно (отоплението се извършва в обща централизирана единица и впоследствие се транспортира до отопляваните сгради и помещения).







