Ако обърнете достатъчно внимание на комфорта в къщата, тогава вероятно ще се съгласите, че качеството на въздуха трябва да е на първо място. Чистият въздух е полезен за вашето здраве и мислене. Не е срамно да каните гости в стая, която мирише добре. Излъчването на всяка стая десет пъти на ден не е лесна задача, нали?
Много зависи от избора на вентилатора и на първо място от неговия натиск. Но преди да можете да определите налягането на вентилатора, трябва да се запознаете с някои от физическите параметри. Прочетете за тях в нашата статия.
Благодарение на нашия материал ще проучите формулите, ще научите видовете налягане във вентилационната система. Предоставихме ви информация за общата глава на вентилатора и два начина, по които той може да бъде измерен. В резултат на това ще можете сами да измерите всички параметри.
Налягане на вентилационната система
За да бъде ефективна вентилацията, налягането на вентилатора трябва да бъде правилно избрано. Има два варианта за самостоятелно измерване на налягането. Първият метод е директен, при който налягането се измерва на различни места. Вторият вариант е да се изчислят 2 вида налягане от 3 и да се получи неизвестна стойност от тях.
Налягането (също - глава) е статично, динамично (високоскоростно) и пълно. Според последния показател има три категории фенове.
Първият включва устройства с напор <1 kPa, вторият - 1-3 kPa и повече, третият - над 3-12 kPa и повече. В жилищните сгради се използват устройства от първа и втора категория.

Аеродинамични характеристики на аксиалните вентилатори на графиката: Pv - общо налягане, N - мощност, Q - въздушен поток, ƞ - ефективност, u - скорост, n - честота на въртене
В техническата документация за вентилатора обикновено се посочват аеродинамични параметри, включително общото и статичното налягане при определен капацитет. На практика "фабричните" и реалните параметри често не съвпадат и това се дължи на конструктивните особености на вентилационните системи.
Съществуват международни и национални стандарти, насочени към подобряване на точността на измерванията в лабораторията.
В Русия обикновено се използват методи A и C, при които налягането на въздуха след вентилатора се определя косвено, въз основа на инсталираната мощност. При различни техники изходната зона включва или не включва втулката на работното колело.
Видове натиск
Статично налягане
Статично налягане
Е налягането на неподвижна течност. Статично налягане = ниво над съответната точка за измерване + първоначално налягане в разширителния съд.
Динамично налягане
Динамично налягане
Е налягането на движещия се поток течност.
Налягане на изпускателната помпа
Работно налягане
Налягането в системата, когато помпата работи.
Допустимо работно налягане
Максималната стойност на работното налягане, разрешена от условията за безопасност на помпата и системата.
Налягане
Е физическа величина, характеризираща интензивността на нормалните (перпендикулярни на повърхността) сили, с които едно тяло действа върху повърхността на друго (например, основата на сграда на земята, течност по стените на съда, газ в цилиндър на двигателя на буталото и др.). Ако силите са равномерно разпределени по повърхността, тогава налягането
R
на която и да е част от повърхността е
p = f / s
където
С
- площта на тази част,
F
- сумата от силите, приложени перпендикулярно на него. При неравномерно разпределение на силите това равенство определя средното налягане върху дадена област и в границите като стойност
С
до нула, е налягането в тази точка. При равномерно разпределение на силите налягането във всички точки на повърхността е еднакво, а при неравномерно разпределение то се променя от точка на точка.
За непрекъсната среда понятието за налягане във всяка точка на средата се въвежда по подобен начин, който играе важна роля в механиката на течностите и газовете. Налягането във всяка точка на течността в покой е еднакво във всички посоки; това важи и за движеща се течност или газ, ако те могат да се считат за идеални (без триене). Във вискозна течност налягането в дадена точка се разбира като средната стойност на налягането в три взаимно перпендикулярни посоки.
Налягането играе важна роля във физическите, химичните, механичните, биологичните и други явления.
Формули за изчисляване на главата на вентилатора
Главата е съотношението на действащите сили и площта, към която са насочени. В случай на вентилационен канал говорим за въздух и напречно сечение.
Каналният поток е неравномерен и не тече под прав ъгъл спрямо напречното сечение. Няма да е възможно да разберете точната глава от едно измерване; ще трябва да търсите средната стойност за няколко точки. Това трябва да се направи както за влизане, така и за излизане от вентилационното устройство.


Аксиалните вентилатори се използват отделно и във въздуховодите те работят ефективно там, където е необходимо да се пренасят големи въздушни маси при относително ниско налягане
Общото налягане на вентилатора се определя по формулата Pп = Pп (изх.) - Pп (вх.)където:
- Pп (out) - общо налягане на изхода от устройството;
- Pп (инч.) - общо налягане на входа на устройството.
За статичното налягане на вентилатора формулата се различава леко.
Записва се като Pst = Pst (out) - Pp (in), където:
- Рst (out) - статично налягане на изхода на устройството;
- Pп (инч.) - общо налягане на входа на устройството.
Статичната глава не отразява необходимото количество енергия, за да я прехвърли в системата, но служи като допълнителен параметър, по който можете да разберете общото налягане. Последният показател е основният критерий при избора на вентилатор: както домашен, така и индустриален. Спадът в общия напор отразява енергийните загуби в системата.
Статичното налягане в самия вентилационен канал се получава от разликата в статичното налягане на входа и изхода на вентилацията: Pst = Pst 0 - Pst 1... Това е второстепенен параметър.


Дизайнерите предоставят параметри с малко или никакво запушване: изображението показва несъответствие на статичното налягане на един и същ вентилатор в различни вентилационни мрежи
Правилният избор на вентилационно устройство включва следните нюанси:
- изчисляване на разхода на въздух в системата (m³ / s);
- избор на устройство въз основа на такова изчисление;
- определяне на изходната скорост за избрания вентилатор (m / s);
- изчисляване на устройството Pp;
- измерване на статична и динамична глава за сравнение с общата глава.
За да се изчислят точките за измерване на налягането, те се ръководят от хидравличния диаметър на въздуховода. Определя се по формулата: D = 4F / P... F е площта на напречното сечение на тръбата, а P е нейният периметър. Разстоянието за локализиране на точката на измерване на входа и изхода се измерва с числото D.
2.2 ВИДОВЕ НА НАЛЯГАНЕ
2.2.1 Абсолютно налягане.
Абсолютно налягане е количеството налягане, измерено спрямо абсолютния вакуум.
2.2.2 Манометрично налягане.
Измервателно налягане е стойността на налягането, измерена по такъв начин, че ефективната стойност на барометричното налягане се приема за нула.
2.2.3 Диференциално налягане.
Диференциалното налягане е разликата между всякакви две стойности на налягането, които се измерват спрямо обща стойност (напр. Разликата между две абсолютни налягания).
2.2.4 Статично налягане.
Статичното налягане е стойността на налягането, измерена по такъв начин, че влиянието на скоростта на течащата среда по време на измерването е напълно елиминирано.
2.2.5 Общо налягане (спирачно налягане).
Общото налягане (стагнационно налягане) е величината на абсолютното или манометричното налягане, което може да бъде измерено в момента, когато потокът на течността премина в състояние на покой и неговата кинетична енергия се преобразува в увеличаване на енталпията чрез изентропен процес, преходът от течно състояние до състояние на инхибиране ... Когато течната среда е в неподвижно състояние, стойностите на статичното и общото налягане са равни.
2.2.6 Скоростно (кинетично) налягане.
Скоростното (кинетично) налягане е разликата между общото и статичното налягане за една и съща точка във флуида.
2.2.7 Общо входно налягане.
Общото входно налягане е абсолютното общо налягане в точката на манометъра, разположена на входа (вж. Точка 4.6.8). Освен ако не е посочено друго, общото входно налягане в тази методология се отнася до входното налягане към компресора.
2.2.8 Статично налягане на входа.
Статичното налягане на входа е абсолютното статично налягане в точката на манометъра, разположена на входа (вж. Точка 4.6.7).
2.2.9 Общо изходно налягане.
Общото налягане на изхода е абсолютното общо налягане в точката на манометъра, разположена на изхода (виж параграф 4.6.9). Освен ако не е посочено друго, общото изходно налягане в тази методология се отнася до входното налягане от компресора.
2.2.1 Статично изходно налягане.
Изходното статично налягане е абсолютното статично налягане в точката на манометъра, разположена надолу по веригата (вж. Точка 4.6.7).
2.3 ВИДОВЕ ТЕМПЕРАТУРА
2.3.1 Абсолютна температура.
Абсолютна температура е температурата, измерена от абсолютна нула. Измерва се в градуси на Ранкин или Келвин. Температурата на Ранкин е температурата във Фаренхайт плюс 459,67 градуса, докато температурата на Келвин е температурата в Целзий плюс 273,15 градуса.
2.3.2 Статична температура.
Статичната температура е температурна стойност, измерена по такъв начин, че влиянието на скоростта на течащата среда по време на измерванията е напълно елиминирано.
2.3.3 Обща температура (температура на стагнация).
Общата температура (стагнационна температура) е температурата, която би била измерена в момента, когато потокът на течността премина в състояние на покой и нейната кинетична енергия се преобразува в увеличаване на енталпията чрез изентропен процес, преминаването от течно състояние до състояние на застой. Когато течната среда е в неподвижно състояние, стойностите на статичната и общата температура са равни.
2.3.4 Скоростна (кинетична) температура.
Скоростната (кинетична) температура е разликата между общата и статичната температура за една и съща точка на измерване.
2.3.5 Обща температура на входа.
Общата температура на входа е абсолютната обща температура в точката на измерване, разположена на входа (вж. Точка 4.7.7). Освен ако не е посочено друго, общата температура на входа в тази методология се отнася до температурата на входа на компресора.
2.3.6
.
Статична температура на входа.
Статичната температура на входа е абсолютната статична температура в точка за измерване, разположена на входа.
2.3.7 Обща изходна температура.
Общата температура на изхода е абсолютната обща температура в точката на измерване, разположена на изхода (вж. Точка 4.7.8).Освен ако не е посочено друго, общата изходна температура в тази методология се отнася до температурата на изхода на компресора.
2.3.8 Статична изходна температура.
Статичната температура на изхода е абсолютната статична температура в точката на измерване, разположена на изхода.
2.4 ДРУГИ СВОЙСТВА НА ГАЗА (ТЕЧНОСТ)
2.4.1 Плътност.
Плътността е масата на единица обем газ. Плътността на даден газ е термодинамична характеристика и може да се определи при условия, при които са известни стойностите на общото налягане и температура.
2.4.2 Специфичен обем.
Специфичен обем е обемът, зает от единица газова маса. Специфичният обем на газа е термодинамична характеристика и може да бъде определен при условия, при които са известни стойностите на общото налягане и температура.
2.4.3 Молекулно тегло.
Молекулното тегло е масата на една молекула на веществото спрямо масата на въглерод -12 атома при 12 000.
2.4.4 Абсолютен вискозитет.
Абсолютен вискозитет се разбира като свойството на всяка течност да показва устойчивост на срязваща сила (движение на една част от течността спрямо друга)
2.4.5 Кинематичен вискозитет.
Кинематичният вискозитет на течността се разбира като отношение на абсолютния вискозитет към плътността на течността.
2.4.6 Специфична топлина при постоянно налягане.
Специфичната топлина при постоянно налягане е величината на промяната в енталпията за отопление при постоянно налягане.
2.4.7 Специфична топлина при постоянен обем.
Специфична топлина при постоянен обем
Е размерът на промяната на вътрешната енергия за отопление при постоянен обем.
2.4.8 Съотношение на специфичните топлинни мощности.
Съотношението на специфичните топлини, обозначено с буквата
k,
равно на cp / cv
2.4.9 Скорост на акустична вълна (скорост на звука).
Вълна под налягане или акустична вълна с безкрайно малка амплитуда, която е описана с помощта на адиабатен и обратим (изентропен) процес. Съответната скорост на акустичните вълни във всяка среда се изчислява, както следва:
2.4.10 Махово число на течността.
Числото на Мах на течността е съотношението на скоростта на тялото в дадена течност към скоростта на звука в тази течност.
2.5 ХАРАКТЕРИСТИКИ НА МАШИНАТА
2.5.1 Изпълнение.
Капацитетът на компресора е параметър на дебита на газ за единица време, който се определя като количеството газ, засмукан от външната среда, разделено на общата плътност на входа. За пневматична машина капацитетът се определя като въздушния поток през входа, разделен на общата плътност на входа. За машини с паралелен поток тази дефиниция трябва да се прилага за отделните етапи.
2.5.2 Коефициент на потребление.
Коефициентът на дебит е безразмерен параметър, който се изчислява като съотношението на масовия дебит на компресираната среда към произведението на плътността на входа, скоростта на въртене и куба на диаметъра на върха на лопатката, където масовият дебит на компресираната среда е общият масов дебит на средата през роторната част.
2.5.3 Степен на повишаване на налягането.
Повишаването на налягането е отношението на абсолютното общо изходно налягане към абсолютното общо входно налягане.
2.5.4 Повишаване на налягането.
Повишаването на налягането се отнася до съотношението между общото налягане на изхода и общото налягане на входа.
2.5.5 Повишаване на температурата.
Повишаването на температурата се отнася до връзката между общата температура на изхода и общата температура на входа.
2.5.6 Обемен поток.
Обемният дебит, както се разбира в тази методология, е равен на масовия дебит, разделен на общата плътност. Този параметър се използва за изчисляване на обемния коефициент на потока.
2.5.7 Обемен дебит.
Обемният дебит е съотношението на обемните потоци, измерени в две различни точки от пътя на потока.
2.5.8 Специфично съотношение на обема.
Съотношението на специфичния обем се разбира като съотношението на специфичния обем на средата на входа към специфичния обем на средата на изхода.
2.5.9 Номер на Рейнолдс за единицата.
Числото на Рейнолдс за единицата се дава от уравнението Rem =
Ub / υ,
Където
U -
това е скоростта при външния диаметър на крайната част на първата лопатка на работното колело или диаметъра на предния ръб на лопатките на ротора от първия етап,
υ
Е общият кинематичен вискозитет на газа на входа на компресора и
б
- характерен размер. За центробежни компресори, стойност на параметъра
б
трябва да бъде равна на ширината на изходната част по външния диаметър на перките на работното колело от първи етап. За аксиални компресори, стойност на параметъра
б
е равна на дължината на хордата на лопатката на ротора от първи етап. Тези променливи трябва да бъдат изразени в последователни мерни единици, за да се получи безразмерна стойност в резултат на изчислението.
2.5.10 Махов номер на устройството.
Броят на Маха на агрегата се определя от съотношението на периферната скорост на лопатките в точката, където диаметърът по ръба на върха на лопатките на първото работно колело е максимален в случай на центробежни машини или в точката на максималната сечение на входния ръб на роторните лопатки от първия етап в случай на машини с аксиален поток (
Прибл. превод Аксиални компресори
) до скоростта на звука в даден газ при пълни входни условия.
ЗАБЕЛЕЖКА: Да не се бърка с номера на Мах за течна среда.
2.5.11 Етап.
При центробежните компресори стъпалото е работното колело и съответните структурни елементи на пътя на статорния поток. Етапът на аксиален компресор се състои от един ред роторни лопатки, разположени на диск или барабан, и един ред следващи направляващи лопатки, както и съответните структурни елементи на пътя на потока.
2.5.12 Каскада.
Под каскада се разбира един или повече етапи с еднакъв масов дебит на работната среда без външен топлообмен, с изключение на естествения топлообмен през корпуса.
2.5.13 Тестов обем.
Контролният обем е площта на анализираното пространство, където входящите и
изходящите потоци на работната среда, както и консумацията на енергия и преносът на топлина посредством топлопроводимост и радиация, могат да бъдат описани с помощта на числени (количествени) методи. Тази област може да се разглежда като равновесно състояние на материалния и енергийния баланс.
2.5.14 Ограничение на стабилни режими на компресор.
Границата на стабилните режими на компресора се разбира като такова натоварване (капацитет), след което работата на компресора става нестабилна. Това се случва в случай на ограничаване на потока, след което обратното налягане на компресора ще надвиши налягането, генерирано от самия компресор, което води до явление на застой. Горното веднага ще обърне посоката на потока, което ще намали обратното налягане на компресора. След като това се случи, нормалната компресия ще бъде възстановена в устройството и цикълът ще се повтори.
2.5.15 Точка на заключване.
Точката на задушаване е точката, в която машината работи с определена скорост и потокът се увеличава, докато се постигне максимален капацитет.
2.6 ИЗПЪЛНЕНИЕ, МОЩНОСТ И ЦЕНИ НА ИЗПЪЛНЕНИЕ
Определенията по-долу се отнасят за този раздел.
2.6.1 Изоентропно компресиране.
В този метод изентропното компресиране означава обратим процес на адиабатно компресиране.
2.6.2 Изоентропна работа (глава).
Изоентропната работа (глава) е работата, която трябва да се похарчи, за да се постигне изоентропно компресиране на единица маса газ в компресора от общо налягане и обща входяща температура до общо изходно налягане. Общото налягане и общата температура се използват за изчисляване на степента на компресия на газа и промяната в кинетичната енергия на газа. Предполага се, че промените в гравитационната потенциална енергия на газа са незначителни.
2.6.3 Политропна компресия.
Политропното компресиране е обратим процес на компресиране от общото налягане на входа и температурата до общото налягане и температура на изхода. Общото налягане и общата температура се използват за изчисляване на степента на компресия на газа и промяната в кинетичната енергия на газа. Предполага се, че промените в гравитационната потенциална енергия на газа са незначителни. Политропният процес се характеризира с неизменността на политропния индикатор.
2.6.4 Политропна работа (глава).
Политропната работа (глава) е работата на обратния цикъл, който трябва да се изразходва, за да се извърши политропно компресиране на единица маса газ в компресора от общото налягане и общата входяща температура до общото налягане и общата изходна температура.
2.6.5 Газова работа.
Газовата работа е увеличаването на енталпията на единица маса на газа, който се компресира и преминава през компресора от пълно налягане и пълна входяща температура до пълно налягане и пълна изходна температура.
2.6.6 Мощност на газовия поток.
Газовата мощност е мощността, предадена на газовия поток. Тя е равна на произведението на масовия дебит на компресираната среда и работата на газа плюс топлинните загуби от компресията на газа.
2.6.7 Изоентропна ефективност.
Иентропната ефективност е съотношението на изентропната работа към работата на газ.
2.6.8 Политропна ефективност.
Политропната ефективност е съотношението на политропната работа към работата с газ.
2.6.9 Мощност на вала (ефективна мощност).
Мощността на вала (ефективна мощност) се отнася до мощността, предадена на вала на компресора. Това е сумата от мощността на газовия поток и механичните загуби в компресора.
2.6.10 Коефициент на изентропна работа.
Коефициентът на изентропна работа е безразмерното съотношение на стойността на изентропната работа към сумата на квадратите на периферните скорости на крайните ръбове на роторните лопатки от всички етапи на дадена каскада.
2.6.1 1 Коефициент на политропна работа.
Коефициентът на политропна работа е безразмерното съотношение на величината на политропната работа към сумата на квадратите на периферните скорости на краищата на върха на лопатките на ротора от всички етапи на дадена каскада.
2.6.1 2 Механични загуби.
Под механична загуба се разбира общата енергия, погълната в резултат на действието на силата на триене от такива компоненти на механизма като колела или зъбни колела на зъбни колела, лагери и уплътнения.
2.6.13 Коефициент на изразходвана работа.
Коефициентът на изразходваната работа е безразмерното съотношение на величината на нарастването на енталпията към сумата на квадратите на периферните скорости на краищата на върха на лопатките на ротора от всички етапи на дадена каскада.
2.6.14 Коефициент на общо изразходвана работа.
Коефициентът на общата изразходвана работа е безразмерното съотношение на стойността на общата изразходвана работа на газа към сумата на квадратите на периферните скорости на краищата на върха на лопатките на ротора от всички етапи на дадена каскада.
2.7 ДРУГИ ОПРЕДЕЛЕНИЯ
2.7.1 Число на Рейнолдс за течна среда.
Числото на Рейнолдс за течна среда е числото на Рейнолдс за газов поток, движещ се вътре в тръба. Числото на Рейнолдс може да се получи от уравнението Re =
VD / υ,
където параметрите на скоростта, характерната дължина и статичния кинематичен вискозитет се използват в уравнението, както следва:
пълни термодинамични условия. Индексите, които се появяват в такива уравнения, трябва да се интерпретират по следния начин:
под скорост V
означава средната скорост в точката на измерване на налягането,
Д -
това е вътрешният диаметър на тръбата в точката на измерване на налягането и стойността на кинематичния вискозитет на средата
υ
взети предвид статичните стойности на температурата и налягането в точката на измерване. Информация за точките за измерване на налягането и температурата, използвани за измерване на параметрите на потока, ще бъде представена в раздел 4 и придружаващите илюстрации.Променливите при изчисляване на числото на Рейнолдс трябва да бъдат изразени в последователни мерни единици, за да се получи безразмерна стойност в резултат на изчислението.
2.7.2 Константа на размерите.
Константа на размерите,
gc
, се изисква да бъде отразено при изчисляването на мерните единици за маса, време и сила. Константата на размерите е 32,174 ft-lbm / lbf • sec2. Числовата стойност не се влияе локално от ускорението на гравитацията.
2.7.3 Специфицирани условия на работа.
Посочените работни условия са тези условия, за които трябва да се определи работата на компресора. Вижте точки 6.2.3 и 6.2.4.
2.7.4 Условия за изпитване.
Условия за изпитване са тези работни условия, които преобладават по отношение на продължителността на изпитването. Вижте точки 6.2.7 и 6.2.8.
2.7.5 Еквивалентност.
Разбираемо е, че посочените експлоатационни условия и условия на изпитване в контекста на тази методология показват еквивалентност, когато за една и съща стойност на коефициента на дебита съотношенията на три безразмерни параметъра (коефициент на специфичен обем, брой на Маха на единицата и брой на Рейнолдс единица) са в рамките на граничните стойности, дадени в табл. 3.2.
2.7.6 Сурови данни.
Суровите данни се отнасят до показанията на измервателните уреди, получени по време на тестовете.
2.7.7 Индикация на инструмента.
Отчитането на устройството се разбира като средна стойност на отделни измервания (сурови данни), като се вземат предвид корекциите във всяка дадена точка на измерване.
2.7.8 Контролна точка.
Референтна точка е три или повече показания, които са осреднени и са в рамките на определен толеранс.
2.7.9 Отклонение.
Отклонението е разликата между максималните и минималните показания, разделена на средната стойност на всички показания, изразена като процент.
съдържание .. 1 2 3 ..
Как да изчислим вентилационното налягане?
Общата входяща глава се измерва в напречното сечение на вентилационния канал, разположен на разстояние от два диаметъра на хидравличния канал (2D). В идеалния случай трябва да има прав парче канал с дължина 4D и необезпокояван поток пред мястото на измерване.
На практика горните състояния са рядкост и след това се поставя пчелна пита пред желаното място, което изправя въздушния поток.
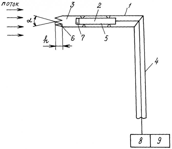
След това във вентилационната система се въвежда приемник за общо налягане: в няколко точки на секцията от своя страна - най-малко 3. Средният резултат се изчислява от получените стойности. За вентилатори със свободен вход Pp входът съответства на околното налягане, а излишното налягане в този случай е равно на нула.


Диаграма на приемника за общо налягане: 1 - приемна тръба, 2 - преобразувател на налягане, 3 - спирачна камера, 4 - държач, 5 - пръстеновиден канал, 6 - преден ръб, 7 - входна решетка, 8 - нормализатор, 9 - записващ изходен сигнал , α - ъгъл при върховете, h - дълбочина на долините
Ако измервате силен въздушен поток, тогава налягането трябва да определи скоростта и след това да го сравните с размера на напречното сечение. Колкото по-висока е скоростта на единица площ и колкото по-голяма е самата площ, толкова по-ефективен е вентилаторът.
Пълният натиск на изхода е сложна концепция. Изходният поток има неравномерна структура, която също зависи от режима на работа и вида на устройството. Изходящият въздух има зони на обратното движение, което усложнява изчисляването на налягането и скоростта.
Няма да е възможно да се установи закономерност за времето на възникване на такова движение. Нехомогенността на потока достига 7-10 D, но степента може да бъде намалена чрез коригиране на решетките.


Тръбата Prandtl е подобрена версия на тръбата на Pitot: приемниците се произвеждат в 2 версии - за скорости по-малки и повече от 5 m / s
Понякога на изхода на вентилационното устройство има въртящ се лакът или откъсващ дифузор. В този случай потокът ще бъде още по-нехомогенен.
След това главата се измерва по следния метод:
- Първата секция се избира зад вентилатора и се сканира със сонда. В няколко точки се измерват средната обща глава и производителност. Последната се сравнява с производителността на входа.
- Освен това се избира допълнителна секция - в най-близката права част след излизане от вентилационното устройство. От началото на такъв фрагмент се измерват 4-6 D и ако дължината на участъка е по-малка, тогава се избира участък в най-отдалечената точка. След това вземете сондата и определете производителността и средната обща глава.
Изчислените загуби в секцията след вентилатора се изваждат от средното общо налягане в допълнителната секция. Получава се общото изходно налягане.
След това производителността се сравнява на входа, както и на първата и допълнителните секции на изхода. Входният индикатор трябва да се счита за правилен и един от изходите да се счита за по-близък по стойност.
Възможно е да няма отсечка с права линия с необходимата дължина. След това изберете напречно сечение, което разделя измерваната площ на части със съотношение 3 към 1. По-близо до вентилатора трябва да бъде по-голямата от тези части. Не трябва да се правят измервания в мембрани, амортисьори, изпускателни отвори и други връзки с въздушни смущения.


Спаданията на налягането могат да се регистрират чрез манометри, манометри в съответствие с GOST 2405-88 и манометри в съответствие с GOST 18140-84 с клас на точност 0,5-1,0
При покривните вентилатори Pp се измерва само на входа, а статичният се определя на изхода. Високоскоростният поток след вентилационното устройство е почти напълно загубен.
Също така препоръчваме да прочетете нашия материал за избора на тръби за вентилация.
Какво налягане показва манометърът?
Това физическо количество характеризира степента на компресия на средата, в нашия случай течният топлоносител, изпомпван в отоплителната система. Да се измери някакво физическо количество означава да се сравни с някакъв стандарт. Процесът на измерване на налягането на течна охлаждаща течност с който и да е механичен манометър (вакуумметър, мановакуумметър) представлява сравнение на текущата му стойност в точката, в която се намира устройството, с атмосферното налягане, което играе ролята на измервателен стандарт.
Чувствителните елементи на манометрите (тръбни пружини, диафрагми и др.) Са под влияние на атмосферата. Най-често използваният пружинен манометър има сензорен елемент, който представлява една намотка на тръбна пружина (вижте фигурата по-долу). Горният край на тръбата е запечатан и свързан с каишка 4 с назъбен сектор 5, окован с зъбно колело 3, на вала на който е монтирана стрела 2.


Устройство за измерване на налягането на пружината.
Началното положение на пружинната тръба 1, съответстващо на нулата на скалата за измерване, се определя от деформацията на формата на пружината от налягането на атмосферния въздух, изпълващ тялото на манометъра. Течността, влизаща във вътрешността на тръбата 1, има тенденция да я деформира допълнително, като повдига горния запечатан край по-високо с разстояние l, пропорционално на нейното вътрешно налягане. Изместването на края на пружинната тръба се преобразува от трансмисионния механизъм в завой на стрелката.
Ъгълът на φ на отклонение на последния е пропорционален на разликата между общото налягане на течността в пружинната тръба 1 и локалното атмосферно налягане. Налягането, измерено от такова устройство, се нарича манометър или манометър. Неговата отправна точка не е абсолютната нула на стойността, която е еквивалентна на отсъствието на въздух около тръба 1 (вакуум), а локалното атмосферно налягане.
Известни манометри, показващи абсолютното (без приспадане на атмосферното) налягане на околната среда. Сложното устройство плюс високата цена възпрепятства широкото използване на такива устройства в отоплителни системи.
Стойностите на наляганията, посочени в паспортите на всякакви котли, помпи, спирателни (контролни) клапани, тръбопроводи, са точно манометрични (превишени).Излишната стойност, измерена с манометри, се използва при хидравлични (термични) изчисления на отоплителни системи (оборудване).


Манометри в отоплителната система.
Характеристики на изчисляване на налягането
Измерването на налягането във въздуха се усложнява от бързо променящите се параметри. Манометрите трябва да бъдат закупени електронни с функция за осредняване на получените резултати за единица време. Ако налягането скочи рязко (пулсира), амортисьорите ще бъдат полезни, които изглаждат разликите.
Трябва да се помнят следните модели:
- общото налягане е сумата на статичното и динамичното;
- общата глава на вентилатора трябва да бъде равна на загубата на налягане във вентилационната мрежа.
Измерването на статичното налягане на изхода е лесно. За целта използвайте тръба за статично налягане: единият край се вкарва в манометъра на диференциалното налягане, а другият се насочва в секцията на изхода на вентилатора. Статичната глава се използва за изчисляване на дебита на изхода на вентилационното устройство.
Динамичната глава също се измерва с манометър за диференциално налягане. Към връзките му са свързани тръби на Pitot-Prandtl. Към единия контакт - тръба за пълно налягане, а към другия - за статично. Резултатът ще бъде равен на динамичното налягане.
За да се установи загубата на налягане в канала, може да се следи динамиката на потока: веднага щом скоростта на въздуха се повиши, съпротивлението на вентилационната мрежа се повишава. Налягането се губи поради това съпротивление.


Анемометри и анемометри с гореща тел измерват скоростта на потока в канала при стойности до 5 m / s или повече, анемометърът трябва да бъде избран в съответствие с GOST 6376-74
С увеличаване на скоростта на вентилатора, статичното налягане спада и динамичното налягане се увеличава пропорционално на квадрата на увеличението на въздушния поток. Общото налягане няма да се промени.
С правилно подбрано устройство динамичната глава се променя пропорционално на квадрата на дебита, а статичната глава се променя в обратна пропорция. В този случай количеството на използвания въздух и натоварването на електродвигателя, ако те нарастват, са незначителни.
Някои изисквания към електрическия мотор:
- нисък стартов въртящ момент - поради факта, че консумацията на енергия се променя в съответствие с промяната в броя на оборотите, подадени към куба;
- голям запас;
- работете с максимална мощност за по-големи икономии.
Мощността на вентилатора зависи от общата глава, както и от ефективността и скоростта на въздушния поток. Последните два показателя корелират с производителността на вентилационната система.
На етапа на проектиране ще трябва да дадете приоритет. Вземете под внимание разходите, загубите на полезен обем помещения, нивото на шума.
Обем и дебит
Обемът на течността, преминаващ през определена точка в даден момент, се счита за обем на потока или дебит. Обемът на потока обикновено се изразява в литри в минута (l / min) и е свързан с относителното налягане на течността. Например 10 литра в минута при 2,7 атм.
Скоростта на потока (скорост на течността) се дефинира като средната скорост, с която флуидът се движи покрай дадена точка. Обикновено се изразява в метри в секунда (m / s) или метри в минута (m / min). Дебитът е важен фактор при калибриране на хидравлични линии.


Обемът и дебитът на течността традиционно се считат за "свързани" показатели. При същия обем на предаване скоростта може да варира в зависимост от напречното сечение на прохода
Обемът и дебитът често се разглеждат едновременно. При равни други условия (с постоянен обем на впръскване) дебитът се увеличава с намаляването на размера на участъка или тръбата, а дебитът намалява с увеличаването на участъка.
По този начин се наблюдава забавяне на скоростта на потока в широки части на тръбопроводите, а на тесни места, напротив, скоростта се увеличава. В същото време обемът на водата, преминаващ през всяка от тези контролни точки, остава непроменен.
Принципът на Бернули
Известният принцип на Бернули е изграден върху логиката, когато повишаването (спадането) на налягането на течна течност винаги е придружено от намаляване (увеличаване) на скоростта. Обратно, увеличаването (намаляването) на скоростта на течността води до намаляване (увеличаване) на налягането.
Този принцип е в основата на редица често срещани водопроводни явления. Като тривиален пример принципът на Бернули е „виновен“ за това, че завесата на душа е „дръпната навътре“, когато потребителят включи водата.
Разликата в налягането отвън и отвътре предизвиква сила върху завесата на душа. С тази сила завесата се дръпва навътре.
Друг добър пример е бутилка за парфюм със спрей, където натискането на един бутон създава зона с ниско налягане поради високата скорост на въздуха. И въздухът отвежда течността.
Принципът на Бернули също така показва защо прозорците в дома имат способността да се чупят спонтанно при урагани. В такива случаи изключително високата скорост на въздуха извън прозореца води до факта, че налягането навън става много по-малко от налягането вътре, където въздухът остава практически неподвижен.
Значителната разлика в здравината просто избутва прозорците навън, причинявайки стъклото да се счупи. Следователно, когато се приближава силен ураган, по същество трябва да отворите прозорците възможно най-широко, за да изравните налягането вътре и извън сградата.
И още няколко примера, когато принципът на Бернули работи: издигането на самолет, последвано от полет с използване на крила и движение на „извити топки“ в бейзбола.
И в двата случая се създава разлика в скоростта на въздуха, преминаващ от обекта отгоре и отдолу. За крилата на самолета разликата в скоростта се създава от движението на клапите; при бейзбола от наличието на вълнообразен ръб.
Единици за налягане
Налягането е интензивна физическа величина. Налягането на SI се измерва в паскали; Прилагат се и следните единици:
| Налягане | |||||||||
| mm вода Изкуство. | mmHg Изкуство. | кг / см 2 | kg / m 2 | м вода. Изкуство. | |||||
| 1 мм вода Изкуство. | |||||||||
| 1 mm Hg Изкуство. | |||||||||
| 1 бар | |||||||||
Коментари:
Основата за проектирането на всякакви инженерни мрежи е изчислението. За да се проектира правилно мрежа от захранващи или изпускателни въздуховоди, е необходимо да се знаят параметрите на въздушния поток. По-специално е необходимо да се изчисли дебитът и загубата на налягане в канала за правилния избор на мощността на вентилатора.
При това изчисление важна роля играе такъв параметър като динамичното налягане върху стените на канала.
Налягане спада
За да се компенсират разликите, в схемата е вградено допълнително оборудване:
- разширителен резервоар;
- клапан за аварийно освобождаване на охлаждащата течност;
- изпускателни отвори за въздух.
Въздушен тест - Тестовото налягане на отоплителната система се увеличава до 1,5 бара, след това се освобождава до 1 бара и се оставя за пет минути. В този случай загубите не трябва да надвишават 0,1 бара.
Изпитване с вода - увеличете налягането най-малко до 2 бара. Може би повече. Зависи от работното налягане. Максималното работно налягане на отоплителната система трябва да се умножи по 1,5. За пет минути загубите не трябва да надвишават 0,2 бара.
Панел
Студено хидростатично изпитване - 15 минути с налягане 10 bar, загуби не повече от 0,1 bar. Горещо тестване - повишаване на температурата във веригата до 60 градуса за седем часа.
Тествайте с вода при 2,5 бара. Освен това се проверяват бойлери (3-4 бара) и помпени агрегати.
Отоплителна мрежа
Допустимото налягане в отоплителната система постепенно се повишава до ниво, по-високо от работното налягане с 1,25, но не по-малко от 16 бара.
Въз основа на резултатите от теста се съставя акт, който представлява документ, потвърждаващ декларираните в него експлоатационни характеристики. Те включват по-специално работното налягане.
На въпроса Статичното налягане е атмосферно налягане или какво? дадено от автора Едя Бондарчук
най-добрият отговор е
Призовавам всички да не копират прекалено умни статии от енциклопедия, когато хората задават прости въпроси.Тук не е необходима физика. Думата "статичен" означава в буквалния смисъл - постоянен, неизменен във времето. Когато изпомпвате футболна топка, налягането вътре в помпата не е статично, а е различно всяка секунда. И когато помпате, вътре в топката има постоянно въздушно налягане - статично. А атмосферното налягане по принцип е статично, макар че ако копаете по-дълбоко, то не е, то все още се променя незначително в течение на дни и дори часове. Накратко, тук няма нищо грубо. Статичният означава постоянен и не означава нищо друго. Когато поздравите момчета, моля! Шок от ръка на ръка. Е, изобщо се случи. Казват „статично електричество“. Правилно! В този момент в тялото ви се е натрупал статичен заряд (константа). Когато докоснете друг човек, половината от заряда преминава към него под формата на искра. Това е, няма да изпращам повече. Накратко, "static" = "permanent", за всички случаи. Другари, ако не знаете отговора на въпроса и още повече, че изобщо не сте учили физика, не е нужно да копирате статии от енциклопедии !! точно както грешите, не сте дошли на първия урок и не сте поискали формулите на Бернули, нали? те започнаха да дъвчат какво е налягане, вискозитет, формули и т.н. и т.н., но когато дойдете и ви дадете точно както казахте, човекът се отвращава от това. Какво любопитство към знанието, ако не разбирате символите в същото уравнение? Лесно е да кажете на някой, който има някаква база, така че напълно грешите!
Отговор от печено говеждо
[начинаещ] Атмосферното налягане противоречи на MKT структурата на газовете и опровергава съществуването на хаотично движение на молекулите, резултатът от което е натискът върху повърхностите, граничещи с газа. Налягането на газовете се предопределя от взаимното отблъскване на едноименните молекули.Напрежението на отблъскване е равно на налягането. Ако разглеждаме колоната на атмосферата като разтвор на газове 78% азот и 21% кислород и 1% други, тогава атмосферното налягане може да се разглежда като сбор от парциалните налягания на неговите компоненти. Силите на взаимно отблъскване на молекулите изравняват разстоянията между така наречените на изобарите. Предполага се, че кислородните молекули нямат отблъскващи сили с останалите. това обяснява изравняването на концентрациите на газове в атмосферата и в затворен съд.
Отговор от Хък Фин
[гуру] Статичното налягане е това, което се създава от силата на гравитацията. Водата под собствено тегло притиска стените на системата със сила, пропорционална на височината, до която се издига. От 10 метра тази цифра е равна на 1 атмосфера. В статистическите системи не се използват вентилатори на потока и охлаждащата течност циркулира през тръби и радиатори от гравитацията. Това са отворени системи. Максималното налягане в отворена отоплителна система е около 1,5 атмосфери. В съвременното строителство такива методи практически не се използват, дори при инсталиране на автономни вериги на селски къщи. Това се дължи на факта, че за такава схема на циркулация трябва да се използват тръби с голям диаметър. Не е естетически приятно и скъпо. Налягане в затворена отоплителна система: Динамичното налягане в отоплителната система може да се регулира Динамичното налягане в затворената отоплителна система се създава чрез изкуствено увеличаване на дебита на отоплителната среда с помощта на електрическа помпа. Например, ако говорим за високи сгради или големи магистрали. Въпреки че сега дори в частни къщи помпите се използват при инсталиране на отопление. Важно! Говорим за свръхналягане, без да се отчита атмосферното налягане. Всяка от отоплителните системи има своя собствена допустима якост на опън. С други думи, той може да издържа на различни натоварвания. За да разберете какво е работното налягане в затворена отоплителна система, е необходимо динамичното налягане, генерирано от помпите, да се добави към статичното налягане, създадено от водния стълб.За да работи системата правилно, манометърът трябва да е стабилен. Манометър е механично устройство, което измерва налягането, с което водата се движи в отоплителна система. Състои се от пружина, стрела и кантар. Манометрите са инсталирани на ключови места. Благодарение на тях можете да разберете какво е работното налягане в отоплителната система, както и да идентифицирате неизправности в тръбопровода по време на диагностика (хидравлични тестове).
Отговор от способен
[гуру] За да изпомпва течност до дадена височина, помпата трябва да преодолява статично и динамично налягане. Статично налягане е налягането, причинено от височината на колоната с течност в тръбопровода, т.е. височината, до която помпата трябва да повдига течността .. Динамичното налягане е сумата на хидравличните съпротивления поради хидравличното съпротивление на самата стена на тръбопровода (като се вземат предвид грапавостите на стената, замърсяването и т.н.) и местните съпротивления (завои на тръбопровода , клапани, задвижки и др.).).
Отговор от Евровизия
[гуру] Атмосферно налягане - хидростатичното налягане на атмосферата върху всички обекти в нея и земната повърхност. Атмосферното налягане се създава от гравитационното привличане на въздуха към Земята. И статично налягане - не съм изпълнил настоящата концепция. И на шега можем да предположим, че това се дължи на законите на електрическите сили и електрическата сила на привличането. Може би това? - Електростатиката - клон на физиката, който изучава електростатичното поле и електрическите заряди. Електростатично (или кулоновско) отблъскване възниква между тела с подобно зареждане и електростатично привличане между тела с подобно зареждане. Феноменът на отблъскване на подобни заряди лежи в основата на създаването на електроскоп - устройство за откриване на електрически заряди. Статика (от гръцки στατός, „неподвижен“): Състояние на покой в определен момент (книга). Например: Опишете статично явление; (прил.) статичен. Клон на механиката, който изучава условията на равновесие на механичните системи под действието на приложени към тях сили и моменти. Така че не съм срещал концепцията за статично налягане.
Отговор от Андрей Хализов
[гуру] Налягане (във физиката) - съотношението на силата, нормална към повърхността на взаимодействие между телата, към площта на тази повърхност или под формата на формулата: P = F / S. Статично (от думата Static (от гръцки στατός, "неподвижен" "постоянен")) налягане е постоянно във времето (непроменящо се) прилагане на сила, нормална към повърхността на взаимодействие между телата. Атмосферното (барометрично) налягане е хидростатичното налягане на атмосферата върху всички обекти в нея и на земната повърхност. Атмосферното налягане се създава от гравитационното привличане на въздуха към Земята. На земната повърхност атмосферното налягане варира от място на място и с течение на времето. Атмосферното налягане намалява с височината, тъй като се създава само от горния слой на атмосферата. Зависимостта на налягането от надморската височина се описва с т.нар. Тоест това са две различни понятия.
Законът на Бернули за Уикипедия Погледнете статията в Уикипедия за Закона на Бернули
Коментари:
Основата за проектирането на всякакви инженерни мрежи е изчислението. За да се проектира правилно мрежа от захранващи или изпускателни въздуховоди, е необходимо да се знаят параметрите на въздушния поток. По-специално е необходимо да се изчисли дебитът и загубата на налягане в канала за правилния избор на мощността на вентилатора.
При това изчисление важна роля играе такъв параметър като динамичното налягане върху стените на канала.