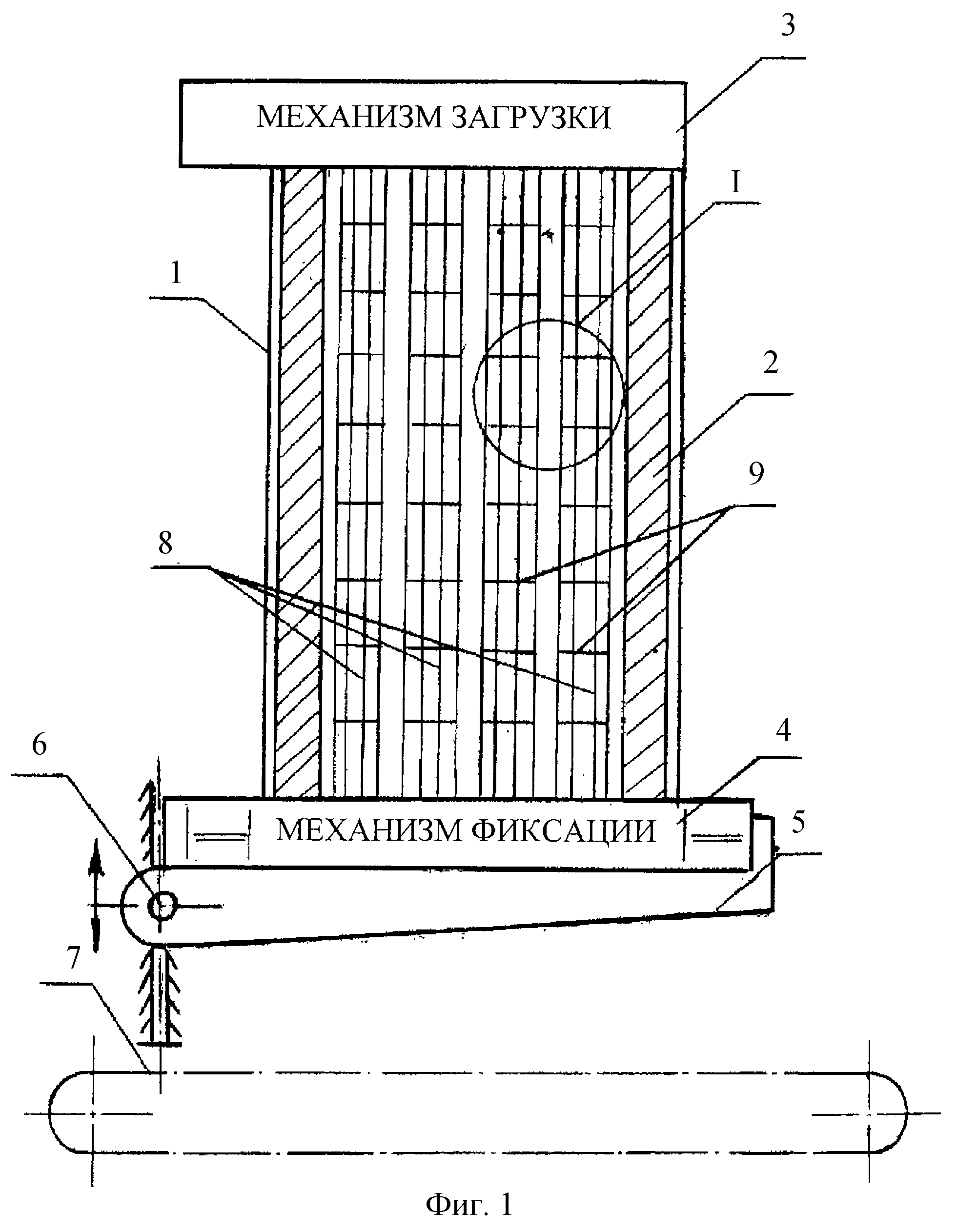
Техники за правене на тухли

Как работи изпичането на тухли?
Има два често срещани метода за правене на тухли. Първото е полусухо и сухо пресоване. Методът на формоване на пластмаса е вторият метод за производство на тухли. Разликата се крие в различното количество влага, съдържаща се в суровината и при двата производствени метода. Трябва да се отбележи, че вторият метод на производство е най-широко използван.
Пластмасовите формовани тухли могат да бъдат кухи или плътни. Принципът на производство на двата вида тухли е един и същ, разликата е, че глината е по-старателно подготвена за кухи тухли.
Следват да се разграничат следните етапи на производство на тухли:
- Приготвяне на суровини
- Формоване на барове
- Сушене на сурови тухли
- Изгаряне
Трябва да се отбележи, че всеки етап се характеризира с внимателно спазване на параметрите. Например, за да се извърши изпичането, което е последният етап от производството, трябва да се спазват всички технически изисквания. Технологията за изпичане на тухли предполага спазване както на температурни, така и на времеви условия. В противен случай дефектният продукт е неизбежен.
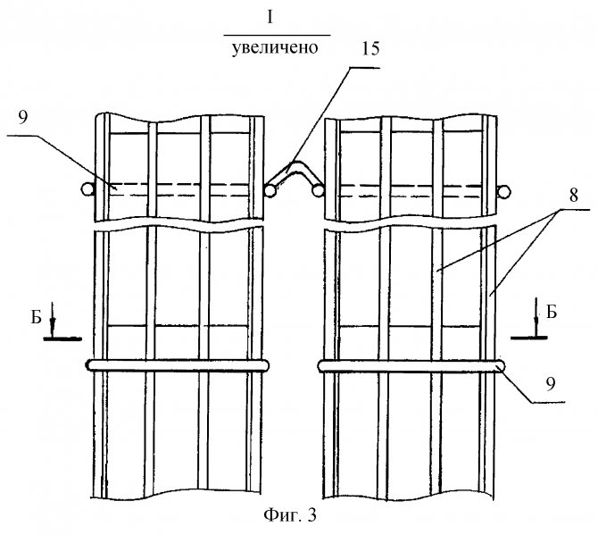
Принцип на натоварване в тунелни пещи


зареждане на тухли в тунелни пещи
За да създадете газови фурни за печене на тухли, имате нужда
изчислете определен брой продукти за необходимото време. По принцип в такива пещи има голяма камера, където се поставят суровините. Тези камери са като тунел, а в средата има елемент за нагряването им. Благодарение на тези устройства, цялата система започва да работи. Всеки от тях е разделен на секции, които по време на производството на тухли имат определена температура.
Схемата на тухлените пещи варира от самия дизайн, който има специални тласкачи във всяка секция. Те от своя страна не могат да работят без каруци и за тяхното движение трябва да се положат релси. За да се ускори работният процес, е необходимо всичко да се автоматизира, това значително ще спести финансови инвестиции и това е заветно желание за всеки предприемач, решил да започне това производство.


диаграма на тунелната пещ
За да проектирате тунелна пещ за изпичане на тухли, трябва да се свържете със специалист за чертеж, тъй като тя може да има различни форми. По времето, когато тухлата е натоварена, тя е сива, а когато си тръгне, става оранжева, което може да се види на строителните пазари и пазари. В процеса на производство на продукт пещта работи по определен принцип:
- Първата количка, която има палет, е заредена със сурова тухла на няколко реда. Когато го зареждате, трябва да спазвате височината. Тя трябва да бъде не повече от 1 м, ако този праг е надвишен, тогава тухлата ще стане дефектна:
- За да работи тунелната пещ за изпичане на тухли, е необходимо да включите автоматичните устройства и тласкачите. Количката се активира заредена с материал. Веднага щом влезе в печката, сурови тухли падат в 1-ва камера. Неинформиран човек може да зададе въпроса: „Как се слагат тухлите върху количката, така че след процедурата да придобият определена форма?“:
- Следващата стъпка в конвенционалната технология е междинното изсушаване на суровия продукт. Оформлението на тухлена пещ у дома е напълно различно от производственото съоръжение.


дизайн на тунелна пещ
С постепенното нагряване на пещта цялата влага излиза от тухлата и ако този строителен материал се зарежда в гореща пещ, тогава тя просто ще се спука или ще се деформира. Следователно трябва да бъдем по-внимателни към работните обеми.
- за постепенно преместване на суровия продукт се използват камерни пещи за изпичане на тухли. Когато тухлата се приближи до камерата, температурата там вече достига около 900 градуса по Целзий, а може би дори по-висока. Всеки материал е в този отдел за определено време. След изтичане на освободения период пристига друга партида и тази преминава към следващия етап на обработка. Ако такава тунелна структура бъде внедрена в предприятие, тогава може да се получи много добър резултат за кратък период от време.
- Следващата стъпка при проектирането на тухлени пещи включва свързване на всички частици на продукта. Когато влагата, която е между кристалите, се изпари напълно, тогава суровината е донякъде подобна на керамиката. Най-интересното е, че керамиката се прави по абсолютно същия начин.
- на това, като цяло, изпичането завършва и бъдещият строителен материал отива в следващата камера за охлаждане. Този процес също трябва да бъде постепенен, а не рязък. Междувременно автоматичният конвейер продължава работата си и почти завършеният строителен материал се озовава в последната секция. Преди да бъде продаден, продуктът се съхранява в мобилна тунелна пещ за изпичане на тухли в последния участък, където се поддържа най-ниската температура.
- На последния етап тласкачите изтласкват количката като че ли и тухлата най-накрая се охлажда без физическа или механична намеса, както и без рязка температурна разлика. След като изстине, се транспортира до склада.
Мини тухлена пещ - най-мобилният и автоматизиран дизайн за производството на този продукт. Не може да се сравни с резултатите от тунелния, тъй като цялата работа е изградена по тръбопроводния метод. Разбира се, в такова предприятие трябва да инвестирате значителни средства, но с такова оборудване, което може да произведе огромен обем продукти, всички разходи бързо ще се изплатят.
Как се изпичат керамични тухли
Суровата тухла съдържа от 8% до 12% влага, попада в пещта за изпичане, където първоначално се изсушава. След това температурата се повишава до ниво от 500-800 ° C, при което настъпва дехидратация на минерали от глината. Поради това продуктът се свива. При температури над 200 ° C се наблюдава отделянето на летливи органични примеси и добавки.
На този етап температурата на изпичане на тухли се повишава със скорост 300-350 ° C / h. Температурата се поддържа постоянна, докато въглеродът не изгори. И едва след това температурата се повишава до 800 ° C. Излагането на такива температури кара продукта да промени структурата си. За известно време те поддържат максималната температура за равномерно нагряване на тухлата. След това температурата започва да намалява постепенно.
Времето за изпичане на тухли може да достигне от 6 часа до 48 часа. Докато се извършва този процес, тухлата структурно се променя многократно. Ако се спазва производствената технология, продукцията е продукт с висока якост и водоустойчиви качества. Характеризира се със звуко- и топлоизолационни свойства, както и устойчивост на различни температурни условия.
Препоръчваме да прочетете:
Какво да купя оборудване за производство на Lego тухли в Русия?
Избор на пясъчно-варовична тухлена машина.
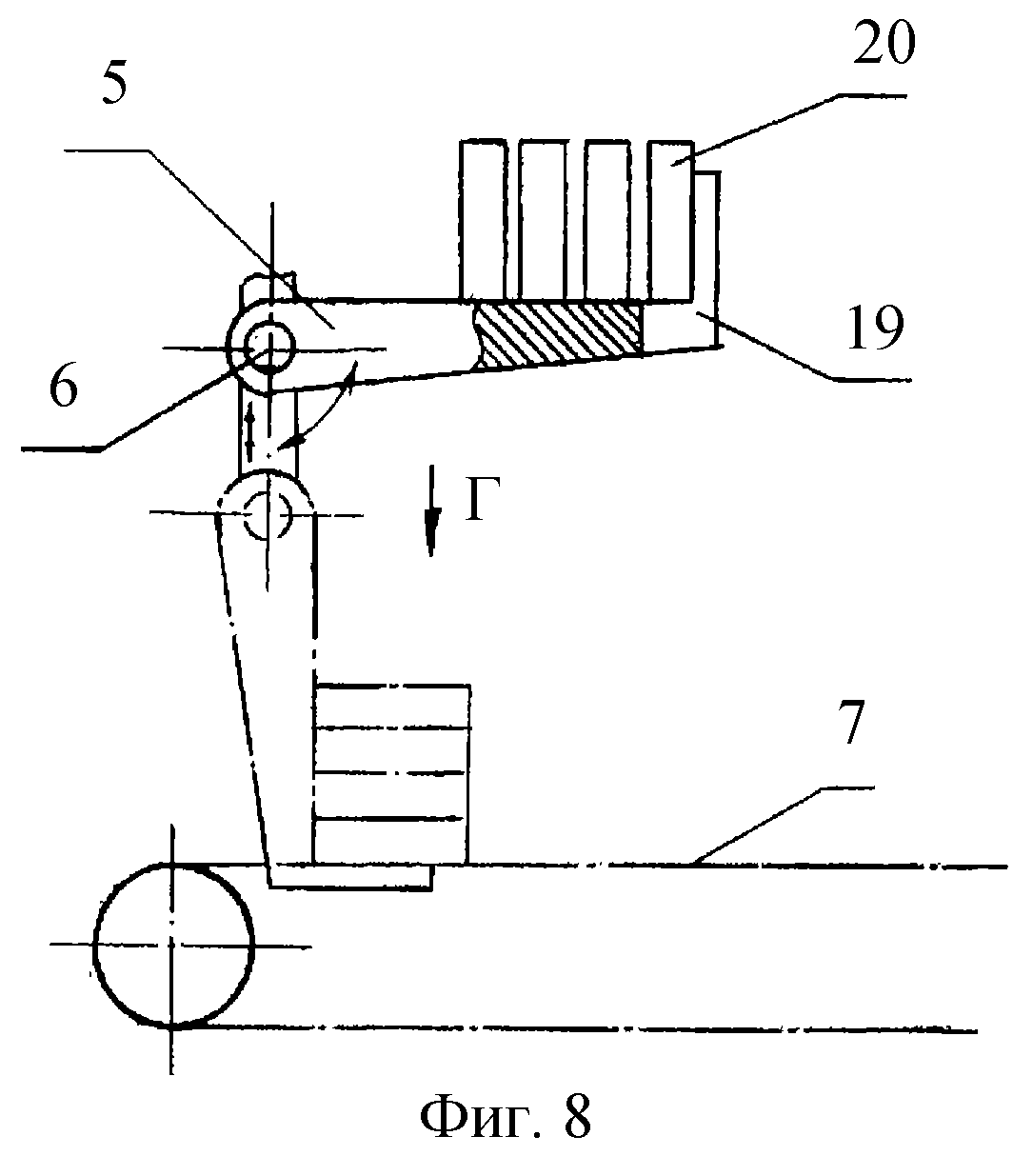
Повдигащи се врати на пещта
Повдигащите се врати на пещта за изпичане образуват система от предкамери, които поддържат аеродинамичните режими на сушене и изпичане по време на влизане и излизане на количката. Работата на вратата е строго синхронизирана с движението на тролейбуса и се извършва автоматично.


Видове тухлени пещи
По време на фазата на изпичане се използват различни пещи. Кое оборудване за тухлена пещ да използваме в производството зависи от различни фактори. Тухлената пещ е едновременно технологично оборудване и термодинамична отворена система едновременно. В него протичат постоянни термични процеси.
Пръстенна пещ


Пръстен тухлена пещ
Един вид тухлена пещ е пръстеновидната пещ. Именно тези сводести пещи са най-широко използвани в производството на тухли. Ако пръстеновидна тухлена пещ не е инсталирана в производствено предприятие, препоръчително е да се използва без покрив. Цената на строителството е малко по-скъпа в сравнение с фурните на пода, но поддръжката им е много по-удобна и по-лесна.


Схема на пръстеновидна пещ за изпичане на тухли
Изгарянето на тухли в пръстеновидна пещ дава резултат с качество, което е значително по-високо, отколкото в подовата пещ, а горивото се изразходва няколко пъти по-малко на 1000 изгорени тухли. Друго предимство на тези печки е, че те могат да се изстрелват с различни видове гориво. Всичко това повлия на широкото използване на пръстеновидни пещи.
Тунелна фурна
Тунелните фурни заменят пръстеновидните фурни, като постепенно ги заменят. Все повече големи тухлени фабрики ги използват при производството си. В тунелните пещи тухлите се движат по специални колички, за разлика от кръговите, където тухлата е неподвижна и през нея се преминават различни температурни режими. Тунелната пещ за изпичане на тухли е по-лесна за поддръжка, тъй като разтоварването и товаренето на партида тухли се извършва извън пещта, където има приемливи температурни условия за персонала. Освен това е много по-лесно да се механизират процеси пред работната зона, отколкото в нея. Пещта е тунел с релси вътре. Изстрелването на тухли в тунелна пещ се извършва на колички, които стоят една по една по цялата дължина на тунела. След определен интервал от време, нова количка със сурови тухли влиза в тунела, а количка с готови продукти напуска гърба на тунела.


Тунелна тухлена пещ
Фурните могат да бъдат снабдени с различни източници на топлина. Възможно е да се затоплят пещите за печене с въглища, масло. Монтира се електрическа пещ или газови горелки. Удобството в обслужването и икономическата полза от производството зависят от вида на избрания източник на топлина. Ако за производство е избрана газова пещ за изпичане на тухли, независимо дали става въпрос за пръстеновидна или тунелна пещ, резултатът ще бъде с високо качество само при спазване на технологичните параметри.
Може да се интересувате от:
Избор на преса за производство на лего тухли.
Какъв вид глина е подходящ за производство на тухли?
Видове пещи
През цялата история на производството на този материал са измислени различни дизайни за изпичане. Всички те имаха свои специфични параметри и имаха различни предимства и недостатъци.
В днешно време са популярни тунелните пещи за печене на тухли и техните аналози, работещи на пръстеновидния принцип.


През миналия век фурните за производство на тухли практически не се различават от конвенционалните отоплителни или отоплителни устройства. Но поради тяхната непрактичност и ниска производителност, те бяха заменени от конвейери
Устройства за зареждане на тунели
Тази фурна е дълга камера, която наподобява тунел. Той съдържа нагревателни елементи, които привеждат устройството в работен режим. Трябва да се отбележи, че самата камера е разделена на няколко секции, във всяка от които се поддържа определена температура.
Движението на материала вътре в пещта се осъществява посредством специални тласкачи, които взаимодействат с колички, поставени върху релси вътре в инсталацията. Освен това целият производствен процес може да бъде напълно автоматизиран, което го прави по-икономичен. Ето защо този тип устройства са много търсени и са много търсени.


Външен изглед на тунелна пещ с камери за товарене и разтоварване в края на работния цикъл и с повдигнати врати
Принципът на правене на тухли в тунелни пещи е следният:
- Суровите тухли се поставят в няколко реда на палета на първата количка. В този случай височината на зареждане не трябва да надвишава 1 m, така че продуктите да не се деформират по време на процеса на калциниране.
- Освен това, с помощта на автоматика и тласкачи, количката влиза в тунела, където първо влиза в първата камера.


Принципът на поставяне на сурови продукти върху количка за равномерно калциниране и предотвратяване на деформация и разрушаване на материала
- Стандартната технология за изпичане на тухли включва предварително изсушаване, в резултат на което се получава най-голямо извличане на влага от продуктите, но само с постепенно нагряване. Ако пещта беше достигнала незабавно висока температура, тогава материалът просто щеше да се пръсне под въздействието на внезапно изпаряване.
- След определено време, което е различно за всеки вид тухли и дори за някои партиди, автоматиката премества нагретия материал в зона с температура 900-950 градуса. В този случай мястото му и отоплителната камера незабавно се заема от нова партида.


Тунелните фурни произвеждат производствени обеми за кратък период от време
- При тази температура фините частици се синтероват напълно помежду си и междукристалната влага се отстранява напълно. В резултат на този процес се получава материал, който по своите характеристики и външен вид е подобен на керамиката, като се има предвид, че е направен по абсолютно същия начин.
- След като тухлите са изстреляни в тунелна пещ, те трябва да осигурят равномерно охлаждане. За целта автоматиката премества материала в последната камера, където температурата е много по-ниска, което води до охлаждане.
- На финалния етап готовите продукти се изтласкват от тунела с помощта на тласкачи. Тухлите обаче трябва напълно да се охладят, без да изпитват механично напрежение и внезапни промени. Ето защо те не се пипат, докато не е готова нова партида.
Трябва да се отбележи, че тунелната фурна е истински конвейер, оборудван със сложна автоматизация и скъпо оборудване. В производствен мащаб обаче той е просто незаменим и ви позволява да издавате големи обеми за кратко време. В същото време не е необходимо да се включват много работници, тъй като целият процес е почти напълно автоматизиран. (вижте също статията Огнеупорна шамотна тухла - всичко за нея)
Съвет! Този тип пещи са доста енергоемки, но след като влязат в режим на работа, те напълно оправдават всички разходи, свързани с операцията. Ето защо бригадирите предпочитат да не спират инсталацията, а да работят с максимална ефективност на три смени.


Целият процес, използващ устройства от този тип и съвременна автоматизация, може да бъде наблюдаван само от един човек, което значително улеснява работата и намалява разходите
Звънещи устройства
Принципът на действие на това устройство се основава на топлообмен и движение на въздушни маси. Факт е, че пръстеновидните тухлени пещи представляват редица секции (от 14 до 36), които се поставят една до друга, образувайки пръстен.
Всяка секция е оборудвана със собствена камина, но има обща вентилационна система. По този начин продуктът преминава през всички етапи на калциниране, като е в един сегмент.Предварителното му нагряване и охлаждане се осигурява от съседни секции, които са отделени една от друга само с дебели листове хартия, при изгарянето на които настъпва температурен обмен.
Пръстеновидната пещ от конвейерния тип също не изисква голям брой персонал за поддръжка, но всъщност това е тунелно устройство, което е направено под формата на пръстен.
Принципът на действие на пещите от този тип е съвсем прост и се състои в това, че продуктите ще преминат през пълен цикъл на изпичане в една секция. Загряване за сметка на съседната камера, охлаждане от собственото си гориво и охлаждане, като се използва температурата на следващата секция. Това позволява значителни икономии и превръща работата в конвейер. (вижте също статията Тухла за облицовъчни печки и камини - общи изисквания и преглед на производителите)


Принцип на разположение на зоните в пръстеновидните пещи
Струва си да се отбележи, че е невъзможно да се произвеждат строителни тухли в такива конструкции без загуби на качество. Тези пещи не могат да осигурят строг контрол върху температурния режим и първите модели на тези устройства изобщо не са имали измервателни уреди. Освен това за извършване на работа е необходим определен брой работещ персонал и ще трябва да работите на три или четири смени.
Съвет! Този тип фурна е твърде голяма за лична употреба и е технически остаряла за съвременното производство. Ето защо не трябва да се фокусирате върху такъв метод на изпичане, а да търсите по-прости и по-достъпни методи.


Нарушаването на техническия процес води до деформация на продуктите
Струва ли си да правите тухли у дома?
Като разгледаме методите за втвърдяване, предлагани от тунелните и пръстеновидните пещи, може да се стигне до заключението, че целият процес на изпичане е толкова сложен и дълъг, че е доста проблематично да го направите сами и създаването на собствена пещ за това е просто глупаво..
Това твърдение е отчасти вярно и има основателна причина:
- Факт е, че в наше време няма недостиг на такъв строителен материал като тухла.
- За монтажни работи можете да използвате вече използвани продукти, което превръща производството за собствени нужди в истински отпадък.
- Броят на отхвърлянията при производството на собствените ви ръце ще бъде много по-голям и прегрятият материал не е подходящ за рециклиране. Това също ще доведе до допълнителни разходи.


Цяла каста се занимава със собствено производство на тухли в Индия, в което тайните на правене се предават от баща на син
- Въпреки това, някои майстори вярват, че правенето на тухли със собствените си ръце дава специален чар на бъдеща сграда и ще ви позволи да получите материал със специални свойства и характеристики.
Първото нещо, което трябва да знаете за технологията за производство на втвърдени тухли у дома, е, че всяка отделна партида изисква специален подход. Струва си да се помни и за обемите на производство, които при тези условия са значително намалени. Ето защо много хора предпочитат незапалена тухла, отколкото да експериментират с направата на пещ. (
Изгаряме тухли у дома
Ако се отдръпнете от големи обеми на производство в тухлени заводи и мислите за по-малки количества продукция, тогава е възможно да организирате изпичането на керамични тухли у дома. За да изгорите тухла в малки количества, ще ви е необходим обикновен метален варел с вместимост от 200 до 250 литра. Преди това е необходимо да се изрежат дъната в него от двете страни.
Изстрелването може да се извърши и с използване на огън. За да направите това, трябва да изкопаете дупка с дълбочина половин метър и да инсталирате цев над нея, повдигната над ръба на дупката на височина около 20 см. На място, където няма долно дъно, е необходимо за адаптиране на опори под формата на пръти или метална решетка.Това е необходимо, за да има основа за съхранение на тухли вътре в цевта.
След като напълните цевта с тухли, покрийте горната й част с капак, за да сведете до минимум топлинните загуби. Изгарянето продължава приблизително 20 часа, в зависимост от естеството на глинения състав, използван в тухлата. Възможно е да се изгарят тухли с газ, но както споменахме по-горе, икономическата рентабилност зависи от вида на горивото.


Схема на газова тухлена пещ
Препоръчваме тези статии:
Кои са най-добрите матрици за Lego тухли за закупуване?
Как да изберем ръчна тухлена преса?
Описание на високотемпературни керамични пещи
Муфелните пещи за изпичане на керамика работят на газ и електричество. Индукция фурни за тази цел не използвай.
Електрически устройства
Електрическите фурни се захранват от електрическата мрежа 220 и 380 волта... Уредът се състои от следните елементи:
- на заглушаване (дебелостенна камера, изработена от огнеупорен материал);
- изработени от топлоустойчиви облицовка заглушаване;
- от метал корпус;
- от метал врати с топлоустойчива изолация;
- на нагревателни елементи;
- на устройства за контрол на температурата.
Корпусът на фабричната муфелна пещ е направен от да стане... Аматьорските майстори често използват метални капаци за електрически уреди.
Муфелът е изложен от огнеупорна (шамотна) тухла... Като свързващ разтвор вземете готова смес от шамот и пясък, хоросан.
Топлоизолатор (базалтова минерална вата, пухкав азбест) се натъпква между тялото и муфела. Добрите топлоизолатори са перлит и разширен вермикулит.
Нагревателни елементи в тази версия - нихромови или фехралови спирали, инфрачервени нагреватели... Термостатът и релето са важни устройства за настройка на желаната температура.
Вратата на муфелната пещ е здраво притисната към тялото с помощта на замък... От вътрешната му страна са прикрепени слой минерална вата и плоча от шамотни тухли.
Газови фурни
В газовите муфелни пещи камерата се загрява с газ от битова газова бутилка... Като нагревател се използва газов нагревател. горелка от вътрешен печки или фурни.
Корпусът на устройството за гасене на газ е направен от метал. Тя може да бъде квадратна или кръгла. Като тяло любителите използват стоманени резервоари, заварени кутии от ламарина.
Топлоустойчива облицовка направени от валцована базалтова вълна, вермикулит, азбестови влакна, перлит. Облицовката е прикрепена към керамични крепежни елементи, нихромова тел.
Топлоустойчивата подплата е обшита огнеупорни шамотни тухли. Полагането се извършва върху шамотен хоросан или хоросан.
Газ горелка монтира се на дъното на кутията или отстрани на камерата. Тя не дава равномерно нагряванеследователно стрелбата се извършва в друга муфела, която се вкарва отгоре в камерата. В него се поставят продукти за изпичане.
Капакът е подсилен дебел слой хлабав топлоизолатор и шамот. Газовете от пещта излизат навън през специални прорези или пролуки между капака и корпуса.
Какво трябва да закупите тухлена пещ
Ако мислите за започване на бизнес с керамични тухли, тогава трябва да помислите за по-сериозни варианти от изгарянето на огньове в двора. Ако вече сте решили да закупите мини тухлена пещ, тогава трябва да изберете най-подходящия вариант. Струва си да се мисли за това какви обеми се планират да бъдат произведени, тъй като всяка пещ има свой собствен капацитет.
Също така важен момент е да изберете печка с подходящ вид гориво, тъй като в нашето време на бързи промени в цените на енергията този въпрос изисква сериозно внимание. Струва си да се обмисли възможността за закупуване на пещ с по-голям капацитет, ако има планове за увеличаване на производството.
Когато въпросите за основните характеристики са решени, е необходимо да изберете подходящата версия на модела и да започнете да търсите опции за изгодна покупка.Цената на тухлена пещ от различни дилъри и продавачи може да варира, така че няма нужда да бързате. Повечето от представителите, които продават тези продукти, не поставят цените в публичното пространство, така че трябва да работите усилено, за да намерите много. Но резултатът от спестяванията може приятно да надмине всички очаквания!
Печки на твърдо гориво
За разлика от предишните две, тази вариация се характеризира със занаятчийско производство. Пещта за изгаряне на глина е прародител на съвременните уреди. Дори и сега, когато няма недостиг на усъвършенствани модели, много грънчари не изоставят традиционните дизайни. За специалист работата с огън е не само занаят, но и голямо удоволствие.
Фигура 6. Пещ за изгаряне на дърва за изпичане на керамика
Обикновено такова оборудване е направено от тухли. Понякога ролята на пещта се играе от желязна цев. Тухлената опция е за предпочитане по много причини, включително висока мощност, безопасност, надеждност, дълъг експлоатационен живот.
Във всеки случай е необходима основа за печка на дърва. Основата се прави не по-рано от един ден след направата на ямата и дъното се старателно набива.
Тухлените фурни обикновено се правят на два реда. Външният ред тухли допринася за по-удобна работа - няма да изгорите върху него. Коминът се използва като комин. Колкото по-широк и по-висок е последният, толкова по-ефективно е премахването на минното дело и по-безопасното изпичане.
Керамичната фурна на дърва не е много ефективна. Затова тези, които се стремят не само да зачитат традициите, но и да бъдат по-продуктивни, избират други варианти. Но за собственика на частна къща това е добро решение. Особено, когато вземете предвид цената на модерното оборудване. Въпреки че по-технологично усъвършенствани устройства могат да бъдат направени сами.
Кое е по-добре: направете го сами или купете
Домашна керамична пещ е доста могат да се конкурират с фабрични продукти... Ако изберете горелки с различна мощност, тогава, чрез промяна на интензивността на пламъка, те постигат желаната температура.
Фабричните модели се изчисляват от инженерите, те консумират гориво по-икономично, но домашно приготвената печка е напълно достатъчна за стрелба в занаятчийска работилница.
С наличието на инструменти и време, домашният майстор ще получи евтино печка с необходимите параметри.
Постигнете приемлива температура при 900 ° С в такава печка е напълно възможно. Използва се както за сушене на предмети, така и за грубо изпичане на обикновена керамика.
Ако целта е да се получи фаянс или порцелан, изисква се по-висока температура с фина настройка. За това домашно приготвената печка няма да работи; ще ви трябва муфелна или фабрично направена електрическа.
ogon.guru
Направи си сам тухлена пещ














