Четирипътен дизайн на клапана

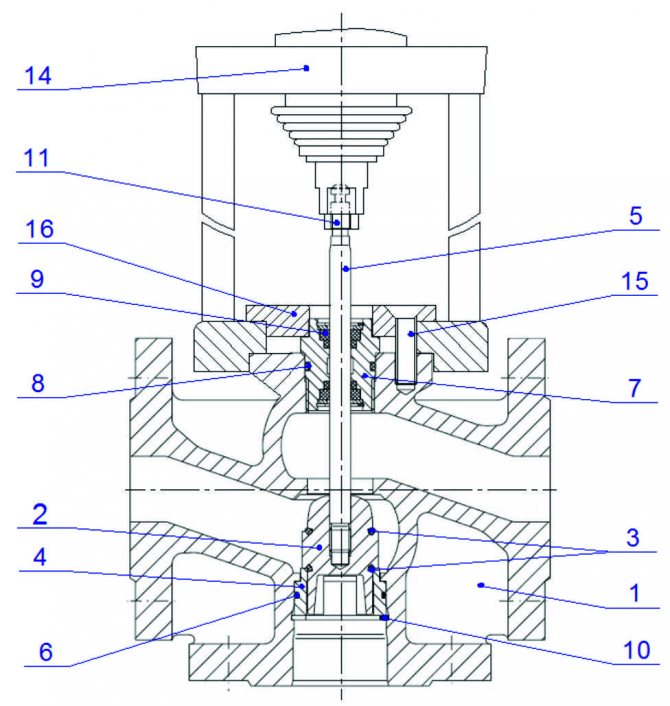
Тялото е направено от месинг, към него са прикрепени 4 свързващи тръби. Вътре в корпуса има втулка и шпиндел, чиято работа има сложна конфигурация.
Термостатичният смесителен клапан изпълнява следните функции:
- Смесване на водни потоци с различни температури. Благодарение на смесването работи плавно регулиране на отоплението на водата;
- Защита на котела. Четирипътният смесител предотвратява корозията, като по този начин удължава живота на оборудването.
Четирипосочна верига на смесителя
Принципът на действие на такъв клапан за отопление е да върти вретеното вътре в тялото. Освен това това въртене трябва да е безплатно, тъй като втулката няма резба. Работната част на шпиндела има два разреза, през които потокът се отваря на два хода. По този начин потокът ще бъде регулиран и няма да може да премине директно към втората проба. Потокът ще може да се превърне във всяка от дюзите, разположени в лявата или дясната му страна. И така, всички потоци, идващи от противоположни страни, се смесват и разпределят в четири дюзи.
Има конструкции, при които бутален прът работи вместо вретено, но такива устройства не могат да смесват потоци.


Клапанът се управлява по два начина:
- Ръчно. Разпределението на потоците изисква инсталирането на стеблото в едно определено положение. Трябва да настроите тази позиция ръчно.
- Автоматичен. Шпинделът се върти в резултат на команда, получена от външен енкодер. По този начин зададената температура се поддържа през цялото време в отоплителната система.
Четирипътният смесителен клапан осигурява стабилен поток от студена и гореща отоплителна среда. Принципът на неговото действие не изисква инсталиране на диференциален байпас, тъй като самият клапан преминава необходимото количество вода. Устройството се използва там, където се изисква контрол на температурата. На първо място, това е радиаторна отоплителна система с котел на твърдо гориво. Ако в други случаи регулирането на топлоносителите става с помощта на хидравлична помпа и байпас, тогава тук работата на клапана напълно замества тези два елемента. В резултат на това котелът работи в стабилен режим, като постоянно получава дозирано количество охлаждаща течност.
Отопление с четирипътна клапа
Монтаж на отоплителна система с четирипътен клапан:


Връзка на циркулационната помпа. Инсталиран на връщащата тръба;- Монтаж на предпазни линии на входните и изходните тръби на котела. Не инсталирайте клапани и кранове на предпазни тръбопроводи, тъй като те са под високо налягане;
- Монтаж на възвратен клапан на водопроводната тръба. Принципът на действие е насочен към защита на отоплителната система от въздействието на обратно налягане и отводняване на сифона;
- Монтаж на разширителен резервоар. Инсталиран в най-високата точка на системата. Това е необходимо, за да не се възпрепятства работата на котела по време на разширяването на водата. Разширителният резервоар е напълно функционален както в хоризонтално, така и във вертикално положение;
- Монтаж на предпазен клапан. Термостатичният клапан е монтиран на водопроводната тръба. Той е проектиран да разпределя равномерно енергия за отопление. Това устройство има двоен сензор. Когато температурата се повиши над 95 ° C, този сензор изпраща сигнал към термостатичния миксер, в резултат на което се отваря поток от студена вода. След като системата се охлади, към сензора се изпраща втори сигнал, който напълно затваря крана и спира подаването на студена вода;
- Монтаж на редуктор на налягането. Поставен пред входа на термостатичния миксер.Принципът на работа на редуктора е да се сведе до минимум падането на налягането по време на водоснабдяването.


Схемата на свързване на отоплителна система с четирипосочен смесител се състои от следните елементи:
- Котел;
- Четирипосочен термостатичен смесител;
- Предпазен клапан;
- Редукционен клапан;
- Филтър;
- Сферичен кран;
- Помпа;
- Отоплителни батерии.
Инсталираната отоплителна система трябва да се промива с вода. Това е необходимо, за да се отстранят различни механични частици от него. След това работата на котела трябва да се провери при налягане от 2 бара и при изключен разширителен съд. Трябва да се отбележи, че между началото на пълната работа на котела и неговата проверка под хидравлично налягане трябва да мине кратък период от време. Срокът се дължи на факта, че при продължително отсъствие на вода в отоплителната система тя ще корозира.
За постоянно поддържане на комфортен топлинен баланс в къщата, елемент като трипътен клапан на отоплителната система е включен в отоплителния кръг, който равномерно разпределя топлината във всички помещения.
Въпреки важността на тази единица, тя не се различава по сложния си дизайн. Нека да разгледаме конструктивните характеристики и принципи на трипътния клапан. Какви правила трябва да се спазват при избора на устройство и какви нюанси присъстват при инсталирането му.
Характеристики на трипътния клапан
Водата, подавана към радиатора, има определена температура, която често не е възможно да се повлияе. Трипътният клапан регулира не чрез промяна на температурата, а чрез промяна на количеството течност.
Това прави възможно, без да се променя площта на радиатора, да се подава необходимото количество топлина в помещенията, но само в границите на мощността на системата.
Разделителни и смесителни устройства
Визуално трипътният клапан наподобява тройник, но изпълнява напълно различни функции. Такъв блок, оборудван с термостат, принадлежи към спирателни клапани и е един от основните му елементи.
Има два вида тези устройства: разделяне и смесване.
Първият се използва, когато охлаждащата течност трябва да се подава едновременно в няколко посоки. Всъщност устройството е смесител, който образува стабилен поток с зададена температура. Той е монтиран в мрежа, през която се подава нагрят въздух, и във водоснабдителни системи.
Продукти от втория тип се използват за комбиниране на потоци и тяхната терморегулация. Има два отвора за входящи потоци с различни температури и един за изхода им. Те се използват при инсталиране на подово отопление, за да се предотврати прегряване на повърхността.
Какво е трипътен клапан и за какво е той в отоплителна система
Трипътният клапан има корпус с три дюзи. Един от тях никога не се припокрива. А другите две могат последователно да се припокриват частично или изцяло. Зависи от конфигурацията на термичния клапан. Освен това, ако единият разклонителен тръбопровод е напълно затворен, тогава вторият е напълно отворен.
Трипътният управляващ клапан има две възможности по предназначение: за смесване и за разделяне. Някои модели могат да се използват и за двата вида работа, зависи от това как са инсталирани.


Основната разлика между трипътните клапани и трипътните клапани е, че вентилът регулира смесването или разделянето на потоците, но не може да ги изключи напълно, с изключение на един от двата. Вентилът не се използва за затваряне на потоци.
Трипътният клапан, от друга страна, не може да регулира смесването или разделянето на потоците. Той може само да пренасочи потока в другата посока или напълно да изключи една от 3-те дюзи.
По правило трипътните клапани са оборудвани с изпълнителни механизми, които позволяват автоматично да променят позицията на припокриващия се сегмент, за да поддържат зададените параметри. Но те могат да имат и ръчно задвижване.
Понякога стъблото е направено под формата на червячна нишка, характерна за клапаните. На стеблото има два клапана. Поради тази прилика те понякога се наричат и трипътен клапан.
Интересно: понякога стъблото е направено под формата на червячна нишка, характерна за клапаните. На стеблото има два клапана. Поради тази прилика те понякога се наричат и трипътен клапан.


Принципът на действие на трипътния клапан за смесване и разделяне тип VALTEK VT.MIX03
Преди появата на трипътни клапани котелните централи доставят отделно топла вода и топлоносител към мрежата за отопление. От котелното са излезли 4 основни тръби. Изобретяването на трипътния механизъм направи възможно преминаването към двутръбни линии. Сега към мрежата се подава само нагревател с постоянна температура 70 - 900, в някои системи 90 - 1150. А топла вода и топлоносител за отопление на сградата бяха подготвени на входа на жилищна сграда в индивидуално отопление гара (ITP).
Спестяванията от метал, под формата на намаляване на 2 тръби в основните линии, се оказаха колосални. А също и опростяването на работата на котелните помещения и тяхната автоматизация, което повиши надеждността. Намаляване на разходите за поддържане на гръбначни мрежи. И възможността за разделяне на гръбначните мрежи от вътрешните, за да се локализират възможни аварии във вътрешните къщи.
Трипътните клапани бяха доразвити и започнаха да се използват не само в топлинните точки, но и в помещенията, за да регулират температурата на отоплителните устройства.
Къде се използват трипътни клапани?
Има клапани от този тип в различни схеми. Те са включени в електрическата схема на подово отопление, за да се осигури равномерно нагряване на всички негови секции и да се изключи прегряване на отделни клонове.
В случай на котел с твърдо гориво, често се наблюдава кондензация в камерата му. Инсталирането на трипътен клапан ще помогне да се справите с него.
Трипосочното устройство в отоплителната система работи ефективно, когато има нужда от свързване на верига за БГВ и отделяне на топлинните потоци.
Използването на клапан в тръбопроводите на радиаторите елиминира необходимостта от байпас. Инсталирането му на връщащата линия създава условия за устройство за късо съединение.
Предимства и недостатъци
Основното предимство на трипътните клапани е възможността за автоматично регулиране на параметрите на охлаждащата течност.
Преди появата на трипътни устройства, асансьорни блокове са били използвани за регулиране на температурата на охлаждащата течност в отоплителната система на сградата. Точността на настройката им беше много груба. За всяка сграда беше необходимо да се изчисли напречното сечение на отвора на дюзата на асансьора. С времето се променя.
С появата на трипътни клапани тези възли са останали в миналото и днес просто няма алтернатива за тях. Вместо едно 3-посочно устройство, можете да поставите два прости регулируеми клапана за подаване и грим от връщащата линия вместо едно 3-посочно устройство. Какво е направено в преходния период след асансьорните възли. Но такива схеми са много по-скъпи и по-трудни за управление. Следователно те бързо бяха изоставени.
В случай на регулиране на потока на отоплителната среда през отоплителния радиатор, напротив, обикновените регулиращи клапани имат предимство пред трипътните клапани. В края на краищата, байпасният участък пред батерията не трябва да бъде затворен и дори вреден. Следователно, простото регулиращо устройство или наричано още термостатичен вентил е поставено зад байпаса пред радиатора и е по-евтино и по-надеждно. Независимо от това, трипътни клапани могат да бъдат намерени в отделни сгради пред батериите.
Нюансите на избора на устройство
Следните насоки са често срещани при избора на подходящ трипътен клапан:
- Предпочитани са реномирани производители. Често на пазара има нискокачествени клапани от неизвестни компании.
- Медните или месинговите изделия са по-устойчиви на износване.
- Ръчните контроли са по-надеждни, но по-малко функционални.
Ключовият момент са техническите параметри на системата, в която се предполага да бъде инсталирана. Вземат се предвид следните характеристики: ниво на налягане, най-високата температура на охлаждащата течност в точката на монтиране на устройството, допустимият спад на налягането, обемът на водата, преминаваща през клапана.
Само клапанът с подходящ размер ще работи добре. За да направите това, трябва да сравните производителността на вашата водопроводна система с коефициента на пропускателна способност на устройството. Задължително е маркиран на всеки модел.
За помещения с ограничена площ, като баня, е неразумно да се избере скъп клапан с термо смесител.
На големи площи с топли подове се изисква устройство с автоматичен контрол на температурата. Препоръката за избор също трябва да бъде съответствието на продукта ГОСТ 12894-2005.
Цената може да бъде много различна, всичко зависи от производителя.
В селските къщи с инсталиран котел на твърдо гориво схемата за отопление не е много сложна. Тук е добре трипътен клапан с опростен дизайн.
Той функционира автономно и няма термоглава, сензор или дори пръчка. Термостатичният елемент, който контролира работата му, е настроен на определена температура и се намира в корпуса.
Номинален диаметър на управляващия клапан
Контролните клапани никога не се оразмеряват според диаметъра на тръбопровода. Диаметърът обаче трябва да бъде определен за оразмеряване на регулиращите клапани. Тъй като управляващият клапан се избира според стойността на Kvs, номиналният диаметър на клапана често е по-малък от номиналния диаметър на тръбопровода, на който е монтиран. В този случай е позволено да се избере клапан с номинален диаметър, по-малък от номиналния диаметър на тръбопровода с една или две стъпки.
Определянето на изчисления диаметър на клапана се извършва по формулата:
- d е прогнозният диаметър на клапана в, mm;
- Q е дебитът на средата, м3 / час;
- V е препоръчителната скорост на потока m / s.
Препоръчителен дебит:
- течност - 3 m / s;
- наситена пара - 40 m / s;
- газ (при налягане <0,001 MPa) - 2 m / s;
- газ (0,001 - 0,01 МРа) - 4 m / s;
- газ (0,01 - 0,1 MPa) - 10 m / s;
- газ (0,1 - 1,0 MPa) - 20 m / s;
- газ (> 1,0 MPa) - 40 m / s;
Според изчислената стойност на диаметъра (d) се избира най-близкият по-голям номинален диаметър на DN клапана.
Производители на трипътни инструменти
На пазара има широка гама от трипътни клапани както от реномирани, така и от неизвестни производители. Моделът може да бъде избран след определяне на общите параметри на продукта.
Първото място в класацията по продажби се заема от клапани на шведската компания Есбе... Това е доста добре позната марка, така че трипосочните продукти са надеждни и трайни.
Сред потребителите трипътните клапани на корейски производител са известни със своето качество. Навиен... Те трябва да бъдат закупени, ако имате котел от същата фирма.
По-голяма точност на управление се постига чрез инсталиране на устройство от датска компания Данфос... Работи напълно автоматично.
Клапаните се отличават с добро качество и достъпна цена. Valtec, произведени съвместно от специалисти от Италия и Русия.
Продуктите на компания от САЩ са ефективни в работата Скъпа... Тези клапани са с проста структура и лесни за инсталиране.
Характеристики на инсталацията на продукта
По време на монтажа на трипътни клапани възникват много нюанси. Непрекъснатото функциониране на отоплителната система зависи от тяхното отчитане. Производителят прилага инструкции за всеки клапан, спазването на които впоследствие ще избегне много проблеми.
Общи насоки за инсталиране
Основното нещо е първоначално да настроите клапана в правилната позиция, като се ръководите от подканите, посочени от стрелките на тялото. Указателите показват пътя на водния поток.
A означава директен ход, B означава перпендикулярна или байпасна посока, AB означава комбиниран вход или изход.
Въз основа на посоката има два модела клапани:
- симетрична или Т-образна;
- асиметрична или Г-образна.
Когато се монтира по първия от тях, течността навлиза в клапана през крайните отвори. Оставя през центъра след смесване.
Във втория вариант топъл поток влиза от края, а студен поток отдолу. Течността при различни температури се отделя след смесване през втория край.
Вторият важен момент при монтажа на смесителния клапан е, че той не трябва да бъде позициониран с задвижващия механизъм или термостатичната глава надолу. Преди започване на работа е необходима подготовка: водата се отрязва пред точката на монтаж. След това проверете тръбопровода за наличие на остатъци в него, които могат да доведат до повреда на уплътнението на клапана.
Основното нещо е да изберете място за монтаж, така че клапанът да има достъп. В бъдеще може да се наложи да бъде проверен или демонтиран. Всичко това изисква свободно пространство.
Вложка на смесителен клапан
При поставяне на трипътен смесителен клапан в система за централно отопление има няколко опции. Изборът на схемата зависи от естеството на свързването на отоплителната система.
Когато според условията на работа на котела е допустимо такова явление като прегряване на охлаждащата течност при връщането, непременно възниква свръхналягане. В този случай е монтиран джъмпер, който регулира излишната глава. Той е инсталиран успоредно на клапанната смес.
Диаграмата на снимката е гаранция за висококачествено регулиране на параметрите на системата. Ако трипътният клапан е свързан директно към котела, което най-често се случва при автономни отоплителни системи, е необходима вложка за балансиращ клапан.
Ако препоръката за инсталиране на балансиращо устройство бъде пренебрегната, в AB порта могат да възникнат значителни промени в дебита на работната течност, в зависимост от положението на стеблото.
Свързването съгласно горната схема не гарантира липсата на циркулация на охлаждащата течност през източника. За да се постигне това, е необходимо допълнително да се свърже хидравличен изолатор и циркулационна помпа към неговата верига.
Смесителният клапан също е инсталиран с цел отделяне на потоците. Необходимостта от това възниква, когато е неприемливо напълно да се изолира веригата на източника, но е възможно заобикаляне на течността във връщането. Най-често тази опция се използва в присъствието на автономно котелно помещение.
Моля, имайте предвид, че при някои модели може да възникнат вибрации и шум. Това се дължи на непостоянни посоки на потока в тръбопровода и смесителното изделие. В резултат на това налягането в клапана може да падне под допустимата стойност.
Инсталиране на разделителното устройство
Когато температурата на източника е по-висока от изискваната от потребителя, във веригата се включва клапан, разделящ потоците. В този случай при постоянен дебит както в кръга на котела, така и от потребителя, прегрятата течност няма да стигне до последния.
За да работи веригата, помпата трябва да присъства и в двете вериги.
Въз основа на горното могат да бъдат обобщени общи препоръки:
- При инсталиране на който и да е трипътен вентил се монтират манометри преди и след него.
- За да се избегне проникването на каквито и да е примеси, пред продукта е монтиран филтър.
- Тялото на устройството не трябва да бъде подложено на стрес.
- Трябва да се осигури добро регулиране чрез поставяне на устройства за регулиране на свръхналягането пред клапана.
- По време на монтажа вентилът не трябва да е над задвижващия механизъм.
Също така е необходимо да се поддържат пред продукта и след него правите участъци, препоръчани от производителя. Неспазването на това правило ще доведе до промяна в декларираните технически характеристики. Устройството няма да бъде покрито от гаранцията.
Ръководство за ремонт
| 52.Четирипосочен соленоиден клапан за обръщане на цикъла |
По време на петролната криза от 1973 г. търсенето за инсталиране на голям брой термопомпи се увеличи драстично. Повечето термопомпи са оборудвани с четирипосочен соленоиден клапан за обръщане на цикъла, използван или за настройка на помпата в летен режим (охлаждане), или за охлаждане на външната бобина в зимен режим (отопление). Предметът на този раздел е да изследва работата на четирипътния електромагнитен клапан за обръщане на цикъла (V4V), открит при повечето класически термопомпи въздух-въздух и системи за размразяване на цикъла за обръщане (вж. Фигура 60.14), за да контролира ефективно посоката на движение. потоци. A) V4V работа Нека изучим диаграмата (виж фиг. 52.1) на един от тези клапани, състоящ се от голям четирипосочен главен клапан и малък трипътен пилотен клапан, монтиран на тялото на главния клапан. В момента се интересуваме от основния четирипътен клапан. Първо, обърнете внимание, че от четирите основни връзки на клапана, три са разположени една до друга (смукателната линия на компресора винаги е свързана към средата на тези три връзки), а четвъртата връзка е от другата страна на клапана (компресора към него е свързана изпускателна линия). Имайте предвид също, че при някои модели V4V смукателната връзка може да бъде изместена от центъра на клапана. „T \ Въпреки това, линиите за изпускане (поз. 1) и засмукване - \ 3J (поз. 2) на компресора ВИНАГИ са свързани, както е показано на диаграмата, фиг. Вътре в главния клапан комуникацията между различните канали се осигурява посредством на подвижна макара (поз. 3), плъзгаща се заедно с две бутала (т. 4). Всяко бутало има пробит малък отвор (ключ 5) и освен това всяко бутало има игла (ключ 6). Накрая 3 капиляра (поз. 7) се врязват в тялото на главния клапан на местата, показани на фиг. 52.1, които са свързани към управляващия електромагнитен клапан, ако не изучите идеално принципа на действие на клапана. Всеки представен от нас елемент играе роля в работата на V4V. Тоест, ако поне един от тези елементи се провали, това може да е причина за много трудно откриване на неизправност - Нека сега помислим как работи главният клапан ... Ако V4V не е монтиран на инсталацията, ще очаквате различен щракнете, когато напрежението е приложено към соленоидния клапан, но макарата няма да се движи. Всъщност, за да може макарата вътре в главния клапан да се движи, е абсолютно необходимо да се осигури диференциално налягане в макарата. Защо е така, ще видим сега. Нагнетателните Pnag и смукателни Pvsac линии на компресора винаги са свързани към главния клапан, както е показано на диаграмата {фиг. 52.2). В момента ще симулираме работата на трипосочен електромагнитен клапан, като използваме два ръчни клапана: единият затворен (поз. 5) и другият отворен (поз. 6). В центъра на главния клапан Pnag развива сили, действащи по един и същ начин върху двете бутала: единият избутва макарата наляво (поз. 1), а другият надясно (поз. 2), в резултат на което и двете тези сили са взаимно балансирани. Спомнете си, че и в двете бутала са пробити малки отвори. Следователно Pnag може да премине през отвора в лявото бутало и Pnag също ще бъде инсталиран в кухината (поз. 3) зад лявото бутало, което избутва макарата надясно. Разбира се, в същото време Rnag също прониква през отвора в дясното бутало в кухината зад него (поз. 4). Тъй като обаче клапанът 6 е отворен и диаметърът на капиляра, свързващ кухината (т. 4) със смукателната линия, е много по-голям от диаметъра на отвора в буталото, газовите молекули, преминаващи през отвора, незабавно ще бъдат засмукани в смукателната линия. Следователно налягането в кухината зад дясното бутало (поз. 4) ще бъде равно на налягането Pvsac в смукателната линия.По този начин, по-мощна сила, дължаща се на действието на Pnag, ще бъде насочена отляво надясно и ще накара макарата да се премести надясно, съобщавайки нетопителната линия с левия дросел (поз. 7) и смукателната линия с десния дросел (поз. 8). Ако сега Pnag е насочен в кухината зад дясното бутало (затворен клапан 6), а Pvac в кухината зад лявото бутало (отворен клапан 5), тогава преобладаващата сила ще бъде насочена отдясно наляво и макарата ще се премести към лявата (виж фиг. 52.3). В същото време той комуникира линията за доставка с дясното съединение (позиция 8) и смукателната линия с лявото съединение (елемент 7), т.е. точно обратното в сравнение с предишната версия. Разбира се, не може да се предвиди използването на два ръчни клапана за обратимост на работния цикъл. Затова сега ще започнем да изучаваме трипосочен електромагнитен клапан за управление, който е най-подходящ за автоматизиране на процеса на обръщане на цикъла. Видяхме, че движението на макарата е възможно само ако има разлика между стойностите на Pnag и Pvsac.Трипътният електромагнитен клапан е проектиран само за освобождаване на налягане от едната или от другата захранваща кухина на главната бутала на клапаните. Следователно управляващият електромагнитен клапан ще бъде много малък и ще остане един и същ за всички диаметри на главния клапан. Централният вход на този клапан е общ изход и се свързва със смукателната кухина {виж. фиг. 52.4). Ако напрежението не е приложено към намотката, десният вход е затворен, а левият е в комуникация със смукателната кухина. Обратно, когато напрежението е приложено към намотката, десният вход е в комуникация със смукателната кухина, а левият е затворен. Нека сега разгледаме най-простата хладилна верига, оборудвана с четирипътен клапан V4V (виж фиг. 52.5). Соленоидната намотка на управляващия електромагнитен клапан не се захранва и левият му вход свързва кухината на главния клапан, зад лявото бутало на макарата, с смукателната линия (припомнете си, че диаметърът на отвора в буталото е много по-малък от диаметърът на капиляра, свързващ смукателната линия с главния клапан). Следователно в кухината на главния клапан, вляво от лявото бутало на макарата, е инсталиран Pvsac. Тъй като Pnag е монтиран вдясно от макарата, под въздействието на разликата в налягането макарата се движи рязко вътре в главния клапан вляво. След като достигне левия ограничител, буталната игла (поз. А) затваря отвора в капиляра, свързващ лявата кухина с кухината Pvsac, като по този начин предотвратява преминаването на газ, тъй като това вече не е необходимо. Всъщност наличието на постоянен теч между кухините Pnag и Pvsac може да има само вредно въздействие върху работата на компресора.Забележете, че налягането в лявата кухина на главния клапан отново достига стойността на Pnag, но тъй като Pnag е също установена в дясната кухина, макарата вече няма да променя позицията ви. Сега нека запомним местоположението на кондензатора и изпарителя, както и посоката на потока в капилярното разширително устройство. Преди да продължите да четете, опитайте се да си представите какво ще се случи, ако към бобината на соленоидния клапан се подаде напрежение.Когато захранването се подава върху бобината на соленоидния клапан, дясната кухина на главния клапан комуникира с смукателната линия и макарата се движи рязко надясно . След като стигне до ограничителя, буталната игла прекъсва изтичането на газ в смукателната линия, блокирайки отвора на капиляра, свързващ дясната кухина на главния клапан със смукателната кухина. В резултат на движението на макарата, подаващата линия сега е насочена към бившия изпарител, който се превърна в кондензатор. По същия начин бившият кондензатор се е превърнал в изпарител и всмукателната линия е свързана към него. Имайте предвид, че хладилният агент в този случай се движи през капиляра в обратна посока (виж фиг. 52.6).За да се избегнат грешки в имената на топлообменниците, които последователно се превръщат в изпарител, след това в кондензатор, най-добре е да ги наричате външна батерия (външен топлообменник) и вътрешна батерия (вътрешен топлообменник). Б) Опасност от воден чук По време на нормална работа кондензаторът се пълни с течност. Видяхме обаче, че в момента на обръщане на цикъла кондензаторът почти моментално се превръща в изпарител. Тоест в този момент съществува опасност голямо количество течност да попадне в компресора, дори ако разширителният клапан е напълно затворен. За да се избегне тази опасност, обикновено е необходимо да се монтира сепаратор за течности на смукателната линия на компресора. Сепараторът за течности е проектиран по такъв начин, че в случай на преливане на течност на изхода на главния клапан, главно по време на обръщане на цикъла, да се предотврати влизането му в компресора. Течността остава в дъното на сепаратора, докато налягането се взима в смукателната линия в най-високата си точка, което напълно елиминира риска от попадане на течност в компресора. Видяхме обаче, че маслото (и следователно течността) трябва постоянно да се връща в компресора през смукателната линия. За да се даде такава възможност на маслото, в долната част на смукателната тръба е предвиден калибриран отвор (понякога капилярен) ... Когато течността (масло или хладилен агент) се задържа на дъното на сепаратора за течности, тя се засмуква през калибриран отвор, бавно и постепенно се връща към компресора в такива количества, които се оказват недостатъчни, за да доведат до нежелани последици. В) Възможни неизправности Една от най-трудните неизправности на V4 V клапана е свързана със ситуация, при която макарата е заседнала в междинно положение (виж фиг. 52.8). В този момент и четирите канала комуникират помежду си, което води до повече или по-пълно завършване, в зависимост от положението на макарата при задръстване, заобикаляйки газ от изпускателната тръба в смукателната кухина, което е придружено от появата на всички признаци на неизправност от типа "твърде слаб компресор": намаляване на хо-капацитета, спад в кондензационното налягане, повишаване на налягането при изпаряване (виж раздел 22. "Компресорът е твърде слаб"). Този припадък може да възникне случайно и се дължи на самия дизайн на главния клапан. Всъщност, тъй като макарата е свободна да се движи в рамките на клапана, тя може да се движи и вместо да се намира на някой от спирките, да остане в междинно положение в резултат на вибрации или механичен удар (например след транспортиране).


Ако вентилът V4V все още не е монтиран и следователно е възможно да го държите в ръце, монтажникът ТРЯБВА да провери положението на макарата, като погледне вътре в клапана през 3-те долни отвора (вж. Фиг. 52.9). По този начин той може много лесно да осигури нормалното положение на макарата, тъй като след запояване на клапана ще е твърде късно да се гледа навътре! Ако макарата е разположена неправилно (фиг. 52.9, вдясно), тя може да се приведе в желаното състояние чрез почукване в единия край на клапана върху дървен блок или парче каучук (виж фиг. 52.10). Никога не тропайте клапана върху метална част, тъй като по този начин рискувате да повредите края на клапана или да го унищожите напълно. С тази много проста техника можете например да настроите макарата на клапана V4V в охлаждаща позиция (линията за доставка комуникира с външния топлообменник), когато замените дефектния V4V с нов в реверсивен климатик (ако това се случи) през високо лято). Множество структурни дефекти на главния клапан или спомагателния електромагнитен клапан също могат да доведат до забиване на макарата в междинното положение.Например, ако основното тяло на клапана е повредено от удари и се деформира в цевта, тази деформация ще попречи на макарата да се движи свободно. Един или повече капиляри, свързващи кухините на главния клапан с частта от веригата с ниско налягане, могат да се запушат или огънат, което ще доведе до намаляване на тяхната площ на потока и няма да позволи достатъчно бързо освобождаване на налягането в кухините отзад буталата на макарата, като по този начин се нарушава нейната нормална работа (напомнете също така, че диаметърът на тези капиляри трябва да бъде значително по-голям от диаметъра на отворите, пробити във всяко от буталата). Следите от прекомерно изгаряне на корпуса на клапана и лош външен вид на запоените съединения са обективен индикатор за квалификацията на монтажник, който е запоил с газова горелка. В действителност, по време на спояване е наложително защитата на корпуса на основния вентил от нагряване чрез увиването му в мокър парцал или напоена с азбест хартия, тъй като буталата и макарата са снабдени с уплътняващи найлонови (флуоропластични) пръстени, които едновременно подобряват плъзгача на макарата вътре в клапана. При запояване, ако температурата на найлона надвиши 100 ° C, той губи своите уплътняващи и антифрикционни характеристики, уплътнението получава непоправими повреди, което значително увеличава вероятността от забиване на макарата при първия опит за превключване на клапана. Спомнете си, че бързото движение на макарата по време на обръщане на цикъла се случва под действието на разликата между Pnag и Pvsac. Следователно движението на макарата става невъзможно, ако тази разлика AP е твърде малка (обикновено нейната минимално допустима стойност е около 1 бара). По този начин, ако управляващият електромагнитен клапан се активира, когато диференциалът AP е недостатъчен (например при стартиране на компресора), макарата няма да може да се движи безпрепятствено и има опасност от нейното задръстване в междинното положение. Залепването на макарата може да възникне и поради неизправности на управляващия електромагнитен клапан, например поради недостатъчно захранващо напрежение или неправилна инсталация на електромагнитния механизъм. Имайте предвид, че вдлъбнатините на сърцевината на електромагнита (поради удари) или неговата деформация (по време на демонтажа или в резултат на падане) не позволяват на втулката на сърцевината да се плъзга нормално, което също може да доведе до изземване на клапана. Струва си да напомним, че състоянието на хладилната верига трябва да бъде абсолютно перфектно. Всъщност, ако наличието на медни частици, следи от спойка или поток е изключително нежелателно в конвенционалната хладилна верига, то още повече за верига с четирипътен клапан. Те могат да го запушат или да блокират отворите на буталата и капилярните канали на клапана V4V. Ето защо, преди да продължите с демонтирането или сглобяването на такава верига, опитайте се да премислите максималните предпазни мерки, които трябва да спазвате. И накрая, трябва да се подчертае, че V4V клапанът е силно препоръчително да се монтира в хоризонтално положение, за да се избегне дори леко спускане на макарата от собственото му тегло, тъй като това може да доведе до постоянно изтичане през горната игла на буталото, когато макарата е в нагоре. Възможните причини за запушване на макарата са показани на фиг. 52.11. Сега възниква въпросът. Какво да направите, ако макарата е заседнала? Преди да поиска нормална работа на клапана V4V, сервизът трябва първо да осигури условията за тази операция отстрани на веригата. Например, липсата на хладилен агент във веригата, причиняваща спад както в Pnag, така и в Pvsac, може да доведе до слаб спад на диференциалното налягане, недостатъчен за свободно и пълно преливане на макарата.Ако появата на V4V (без вдлъбнатини, следи от удари и прегряване) изглежда задоволителна и има увереност, че няма електрически неизправности (много често такива неизправности се приписват на клапана V4V, докато говорим само за електрически дефекти), сервизът трябва да зададе следния въпрос: Към кой топлообменник (вътрешен или външен) трябва да е подходяща тръбата за изпускане на компресора и в каква позиция (дясна или лява) трябва да бъде разположена макарата за даден режим на работа на инсталацията (отопление или охлаждане) и дадения му дизайн (отопление или охлаждане с обезсилен управляващ електромагнитен клапан)? Когато майсторът уверено определи необходимото нормално положение на макарата (отдясно или отляво), той може да се опита да я постави на място, леко, но рязко, потупвайки основния корпус на клапана от страната, където макарата трябва да бъде разположена с чук или дървен чук (ако няма чук, никога не използвайте обикновен чук или чук, без първо да прикрепите дървен дистанционер към клапана, в противен случай рискувате сериозно да повредите корпуса на клапана, вижте фиг. 52.12). В примера на фиг. 52.12 удряйки чука отдясно, принуждава макарата да се движи надясно (за съжаление разработчиците, като правило, не оставят никакво пространство около главния клапан да удря!). Всъщност тръбата за изпускане на компресора трябва да е много гореща (пазете се от изгаряния, тъй като в някои случаи температурата му може да достигне 10 ° C). Всмукателната тръба обикновено е студена. Следователно, ако макарата е преместена надясно, дюзата 1 трябва да има температура, близка до температурата на нагнетателната тръба, или ако макарата е преместена наляво, близо до температурата на смукателната тръба. Видяхме, че малко количество газове от изпускателната тръба (следователно много горещо) преминават през кратък период от време, когато настъпва преливане на макарата, през два капиляра, единият от които свързва кухината на главния клапан отстрани където се намира макарата, с един от входовете на електромагнитния клапан, а другият свързва изхода на управляващия електромагнитен клапан към смукателната линия на компресора. Освен това преминаването на газове спира, тъй като иглата на буталото, която е достигнала ограничителя, затваря отвора на капиляра и предотвратява навлизането на газове в него. Следователно нормалната температура на капилярите (която може да бъде докосната с върховете на пръстите си), както и температурата на корпуса на управляващия електромагнитен клапан, трябва да бъде почти същата като температурата на тялото на главния клапан. Ако опипването дава други резултати, няма друг избор, освен да се опитаме да ги разберем. Да предположим, че по време на следващата поддръжка сервизът открива леко повишаване на всмукателното налягане и лек спад на напорното налягане. Тъй като долният ляв фитинг е горещ, се разбира, че макарата е отдясно. Усещайки капилярите, той забелязва, че десният капиляр, както и капилярът, свързващ изхода на соленоидния клапан със смукателната линия, имат повишена температура. Въз основа на това той може да заключи, че има постоянно изтичане между напорната и смукателната кухини и следователно иглата на дясното бутало не осигурява херметичност (вж. Фиг. 52.14). Той решава да увеличи налягането на изпускане (например покриване на част от кондензатора с картон), за да увеличи разликата в налягането и по този начин да се опита да притисне макарата до десния ограничител. След това премества макарата наляво, за да се увери, че вентилът V4V работи правилно, и след това връща макарата в първоначалното си положение (увеличава налягането на изпускане, ако разликата в налягането е недостатъчна, и проверява реакцията на V4V към работата на управляващ електромагнитен клапан). По този начин, въз основа на тези експерименти, той може да направи подходящи заключения (в случай, че скоростта на изтичане продължава да остане значителна, ще е необходимо да се осигури подмяната на главния клапан).Налягащото налягане е много ниско, а смукателното налягане е необичайно високо. Тъй като и четирите фитинга V4V са доста горещи, техникът заключава, че макарата е заседнала в междинното положение. Усещането на капилярите показва на сервиза, че и трите капиляра са горещи, поради което причината за неизправността се крие в управляващия клапан, в който двете поточни секции бяха едновременно отворени. В този случай трябва напълно да проверите всички компоненти на управляващия клапан (механична инсталация на електромагнита, електрически вериги, захранващо напрежение, консумация на ток, състояние на сърцевината на електромагнита) и да опитате многократно, като включите и изключите клапана, върнете го до работно състояние, отстраняване на възможни чужди частици от под едното или и от двете му седалки (ако дефектът продължава, контролният клапан ще трябва да бъде сменен). По отношение на намотката на соленоида на управляващия клапан (и като цяло на намотките на соленоиден клапан), някои начинаещи сервизни работници биха искали съвет как да определят дали намотката работи или не. Всъщност, за да може бобината да възбуди магнитно поле, не е достатъчно да се подаде напрежение към нея, тъй като вътре в бобината може да се получи прекъсване на проводника. Някои инсталатори инсталират накрайник на отвертка на винта за закрепване на бобината, за да се оцени силата на магнитното поле (това обаче не винаги е възможно), други премахват намотката и наблюдават сърцевината на електромагнита, слушайки характерния удар, придружаващ нейното движение , а трети, след като премахнете намотката, я вкарайте в отвора за отвертка, за да сте сигурни, че е прибрана от магнитната сила. Нека използваме тази възможност, за да направим малко уточнение ... Като пример, разгледайте класическа намотка на електромагнитен клапан с номи- ^ | номинално захранващо напрежение 220 V. По правило разработчикът позволява продължително увеличаване на напрежението спрямо номиналното с не повече от 10% (т.е. около 240 волта), без риск от прекомерно прегряване на намотката и нормално работата на намотката е гарантирана при продължителен спад на напрежението не повече от 15% (т.е. 190 волта). Тези граници на толеранс на захранващото напрежение на електромагнита са лесни за обяснение. Ако захранващото напрежение е твърде високо, намотката се нагрява много и може да изгори. Обратно, при ниски напрежения магнитното поле е твърде слабо, за да позволи прибиране на сърцевината заедно със стеблото на клапана вътре в бобината (вж. Раздел 55, Различни електрически проблеми). Ако захранващото напрежение, предвидено за нашата намотка, е 220 V и номиналната мощност е 10 W, можем да приемем, че тя ще консумира ток I = P / U, т.е. 1 = 10/220 = 0,045 Ar (или 45 mA ). Приложено напрежение I = 0,08 A A, Силна опасност от изгаряне на бобината Всъщност бобината ще консумира ток от около 0,08 A (80 mA), тъй като за променлив ток P = U x I x coscp и за електромагнитни бобини coscp обикновено е близо до 0,5. Ако сърцевината бъде отстранена от захранващата намотка, консумацията на ток ще се увеличи до 0,233 A (т.е. почти 3 пъти повече от номиналната стойност). Тъй като топлината, отделена по време на преминаването на тока, е пропорционална на квадрата на силата на тока, това означава, че намотката ще се нагрее 9 пъти повече, отколкото при номиналните условия, което значително увеличава опасността от нейното изгаряне. Ако вмъкнете метална отвертка в жива намотка, магнитното поле ще я изтегли и текущата консумация леко ще спадне (в този пример до 0,16 A, т.е. два пъти номиналната стойност, вижте фиг. 52.16). Не забравяйте, че никога не трябва да демонтирате електромагнитна намотка, която е под напрежение, тъй като тя може да изгори много бързо.Един добър начин да се определи целостта на намотката и да се провери наличието на захранващо напрежение е да се използва измервателен уред (трансформаторна скоба), който се отваря и дърпа към бобината, за да открие генерираното от нея магнитно поле по време на нормална работа. намотката се захранва, иглата на амперметъра се отклонява. промяна в магнитния поток в близост до намотката позволява в случай на неизправност да регистрира достатъчно висока стойност на тока на амперметъра (което обаче не означава абсолютно нищо), което бързо дава увереност в изправността на електрическите вериги на електромагнита. Обърнете внимание, че използването на отворени трансформаторни скоби е допустимо за всякакви намотки, захранвани с променлив ток (електромагнити, трансформатори, двигатели ...), в момента, когато тестваната намотка не е в непосредствена близост до друг източник на магнитно излъчване.
| 52.1. Примери за използване |
Упражнение номер 1 Сервизът трябва да замени V4 V клапана в средата на зимата с инсталацията, показана на фиг. 52.18. След източване на хладилния агент от инсталацията и отстраняване на неизправния V4V, сервизът задава следния въпрос: Имайки предвид, че външната и вътрешната температура са ниски, термопомпата трябва да работи в режим на отопление на кондиционираното пространство. Преди да инсталирате нов V4V, трябва ли макарата да бъде разположена отдясно, отляво или е без значение? Като подсказка представяме диаграма, гравирана върху тялото на соленоидния клапан. Решение за упражнение номер 1 След приключване на ремонта термопомпата трябва да работи в режим на отопление. Това означава, че вътрешният топлообменник ще се използва като кондензатор (виж фиг. 52.22). Изследване на тръбопровода ни показва, че макарата V4V трябва да е отляво. Следователно инсталаторът трябва да се увери, че макарата е всъщност отляво, преди да инсталира нов клапан. Той може да направи това, като погледне вътре в главния клапан през трите долни свързващи нипела. Ако е необходимо, преместете макарата наляво, или чрез потупване на левия край на главния клапан върху дървена повърхност, или леко удряне на левия край с чук. Фиг. 52.22. Едва след това V4V клапанът може да бъде монтиран във веригата (като се внимава да се предотврати прекомерно прегряване на корпуса на главния клапан при спояване). Сега разгледайте обозначенията на диаграмата, която понякога се нанася върху повърхността на соленоидния клапан (виж фиг. 52.23). За съжаление, такива вериги не винаги са на разположение, въпреки че са много полезни за ремонт и поддръжка на V4V. И така, макарата беше преместена от сервиза наляво, докато е по-добре по време на пускането да няма напрежение на соленоидния клапан. Такава предпазна мярка ще позволи да се избегне опит за обръщане на цикъла в момента на стартиране на компресора, когато разликата между AP между PH е много малка. Трябва да се има предвид, че всеки опит за обръщане на цикъла с нисък диференциал AR е изпълнен с опасност от забиване на макарата в междинно положение. В нашия пример, за да се премахне тази опасност, е достатъчно да изключите намотката на соленоидния вентил от мрежата, когато стартирате термопомпата. Това ще направи напълно невъзможно да се направи опит за обръщане на цикъла със слаба разлика в AP (например поради неправилна електрическа инсталация). По този начин изброените предпазни мерки трябва да позволят на сервиза да избягва възможни неизправности в работата на V4V устройството, когато той се заменя.
Нека изучим диаграмата (виж фиг. 52.1) на един от тези клапани, състоящ се от голям четирипосочен главен клапан и малък трипътен пилотен клапан, монтиран на корпуса на главния клапан. В момента се интересуваме от основния четирипътен клапан.Първо, обърнете внимание, че от четирите основни връзки на клапана, три са разположени една до друга (смукателната линия на компресора винаги е свързана към средата на тези три връзки), а четвъртата връзка е от другата страна на клапана (компресора към него е свързана изпускателна линия). Имайте предвид също, че при някои модели V4V смукателната връзка може да бъде изместена от центъра на клапана. „T \ Въпреки това, тръбите за изпускане (поз. 1) и засмукване - \ 3J (поз. 2) са ВИНАГИ свързани, както е показано на диаграмата на фиг. 52.1. Вътре в главния клапан комуникацията между различните портове се осигурява от подвижна макара (ключ 3), плъзгаща се с двете бутала (ключ 4). Всяко бутало има пробит малък отвор (ключ 5) и освен това всяко бутало има игла (ключ 6). Накрая 3 капиляра (поз. 7) се врязват в тялото на главния клапан на местата, показани на фиг. 52.1, които са свързани към управляващия електромагнитен клапан. Фиг. 52.1. Ако не изучавате перфектно принципа на клапана. Всеки елемент, който представихме, играе роля в работата на V4V. Тоест, ако поне един от тези елементи се провали, това може да се окаже причината за много трудна за откриване неизправност - Нека сега помислим как работи главният клапан ...
Заключения и полезно видео по темата
Нюансите на инсталацията, като се вземе предвид кое гарантира правилната работа на клапана:
Подробности за монтажа на клапана при инсталиране на подово отопление:
Такъв блок в отоплителната система като термостатичен трипътен клапан е необходим, но не във всички случаи. Неговото присъствие е гаранция за рационалното използване на охлаждащата течност, което ви позволява икономично да консумирате гориво. Освен това той действа и като устройство, което осигурява безопасността при работа на ТТ котела.
Въпреки това, преди да закупите такова устройство, първо трябва да се консултирате относно целесъобразността на неговото инсталиране.
Ако имате необходимия опит или знания по темата на статията и можете да ги споделите с посетителите на нашия сайт, моля, оставете вашите коментари, задайте въпроси в блока по-долу.
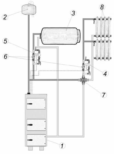
Всеки, който някога се е опитвал да изучава различни схеми на отоплителни системи, вероятно е срещал такива, при които тръбите за подаване и връщане по чудо се сливат заедно. В центъра на този възел има определен елемент, към който от четири страни са свързани тръби с охлаждаща течност с различни температури. Този елемент е четирипътен клапан за отопление, чиято цел и работа ще бъдат разгледани в тази статия.
За принципа на клапана
Подобно на по-скромния си трипътен аналог, четирипътният клапан е изработен от висококачествен месинг, но вместо три свързващи тръби има цели 4. Вътре се върти вътре с цилиндрична работна част от сложна конфигурация тялото на уплътнителен ръкав.


В него от две противоположни страни се правят образци под формата на плешиви петна, така че в средата работната част наподобява амортисьор. Той запазва цилиндрична форма отгоре и отдолу, за да може да се направи уплътнение.
Шпинделът с втулката се притиска към тялото от капак на 4 винта, регулираща дръжка се натиска отвън на края на вала или се монтира серво задвижване. Как изглежда целият този механизъм, подробната схема на четирипосочен клапан, показана по-долу, ще помогне да се даде добра идея:


Шпинделът се върти свободно в втулката, защото няма резба. Но в същото време пробите, направени в работната секция, могат да отворят канала през два прохода по двойки или да позволят на три потока да се смесват в различни пропорции. Как се случва това е показано на диаграмата:
За справка. Съществува и друг дизайн на четирипътния клапан, където вместо въртящ се шпиндел се използва тласкащ прът. Но такива елементи не могат да смесват потоци, а само преразпределят. Те са намерили своето приложение в газовите двуконтурни котли, превключвайки потока топла вода от отоплителната система към мрежата за БГВ.


Особеността на нашия функционален елемент е, че потокът на охлаждащата течност, подавана към едната му дюза, никога няма да може да премине към другия изход по права линия. Потокът винаги ще се превърне в десния или левия разклонителен тръбопровод, но никога няма да влезе в противоположния. В определено положение на шпиндела, амортисьорът позволява на охлаждащата течност да премине веднага надясно и наляво, смесвайки се с потока, идващ от противоположния вход. Това е принципът на действие на четирипътен клапан в отоплителна система.


Трябва да се отбележи, че клапанът може да се управлява по два начина:
ръчно: необходимото разпределение на потока се постига чрез инсталиране на стеблото в определено положение, водено от скалата срещу дръжката. Методът се използва рядко, тъй като ефективната работа на системата изисква периодични корекции, невъзможно е постоянно да се извършва ръчно;
автоматично: шпиндела на клапана се завърта от серво задвижване, получавайки команди от външни сензори или контролера. Това ви позволява да се придържате към зададените температури на водата в системата, когато външните условия се променят.


ТРИ НАЧАЛНИ КЛАПАНИ ЗА КОНТРОЛ TRV-3
Описание, обхват
Трипътните смесителни контролни клапани се използват като задвижващи механизми в отоплителни, охлаждащи, климатични системи, както и в технологични процеси, при които се изисква дистанционно управление на потока от течности.
Клапанът се управлява от електрически задвижващ механизъм (електрическо задвижване). Силата, развивана от електрическото задвижване, се предава на буталото, което се движи нагоре и надолу, променяйки областта на потока в клапана и регулирайки дебита на работната среда.
НОМЕНКЛАТУРА
TRV-3-X1-X2-X3 Където: TRV-3 - Обозначение на трипътен смесителен контролен клапан X 1 - Номинален диаметър DN (изберете от таблица 2.4) X 2 - Условна пропускателна способност Kvs (изберете от таблица 2.4) X 3 - Маркировка на типа задвижване от 1 до 8 и от 17 до 24 и от 29 до 30 (изберете от таблица 2.2)
ПРИМЕР ЗА ПОРЪЧКА: Трипътен смесителен контролен фланцов клапан с номинален диаметър 15 mm, с капацитет 2,5 m3 / h, максимална температура на работната среда от 150 ° C и оборудван с задвижващ механизъм Regada ST mini 472.0-OTFAG / 00 без датчик за положение (задвижване тип 2). TRV-3-15-2.5-2
СПЕЦИФИКАЦИИ
Таблица 2.4
| ИМЕ НА ПАРАМЕТРИТЕ, единици | СТОЙНОСТ НА ПАРАМЕТРИТЕ | ||||||||
| Номинален диаметър, DN, mm | 15 | 20 | 25 | 32 | 40 | 50 | 65 | 80 | 100 |
| Условна производителност, Kvs m3 / h | 0,63 1,25 1,6 2,5 4 | 5 6,3 | 8 10 | 12,5 16 | 20 25 | 31,5 40 | 50 63 | 80 100 | 125 160 |
| Характеристика на пропускателната способност | A - AB, равен процент; B - AB, линейна | ||||||||
| Номинално налягане PN, бара (MPa) | 16 (1,6) | ||||||||
| Работно пространство | Вода с температура до 150 ° С, 30% воден разтвор на етилен гликол | ||||||||
| Ход на пръта, мм | 14 | 30/25* | |||||||
| Вид на връзката | фланцови | ||||||||
| Материали: - корпус на клапана - спирателно устройство (бутало) - стебло и седалка на канал В - уплътнения на разтоварващата камера - уплътнение на стеблото | Чугун Месинг CW614N Устойчива на корозия стомана GOST 5632 Топлоустойчива EPDM гума EPDM гумени уплътнения, водачи - PTFE | ||||||||
* Само за задвижвани клапани с датчик за положение с токов сигнал 4-20mA
ОПИСАНИЕТО И СХЕМИТЕ НА ПРИВОДИТЕЛИТЕ, ВКЛЮЧЕНИ В РАЗДЕЛ 1.1
ХАРАКТЕРИСТИКИ НА РЕГУЛИРАНЕТО | УСТРОЙСТВО НА КЛАПАНА |
| Клапанно устройство със ST мини изпълнителен механизъм |
МОНТАЖНИ ПОЗИЦИИ |
|
| Клапанно устройство с задвижващ механизъм REGADA ST 0; STR 0PA; STR 0.1PA | |
| |
| Позиции на монтиране на клапана с задвижващ механизъм REGADA (прави секции преди и след клапана не са необходими) |
РАЗМЕРИ
| Име на параметрите, единици | Стойности на параметрите | ||||||||
| Номинален диаметър DN, mm | 15 | 20 | 25 | 32 | 40 | 50 | 65 | 80 | 100 |
| Дължина L, mm | 130 | 150 | 160 | 180 | 200 | 230 | 290 | 310 | 350 |
| Височина, Н1, мм | 65 | 70 | 75 | 95 | 100 | 100 | 120 | 130 | 150 |
| Височина на клапана H: | |||||||||
| с задвижване TSL-1600 | 402 | 407 | 417 | 427 | 437 | 442 | |||
| - с тип задвижване ST mini 472.0, mm / не повече | 400 | 405 | 415 | 423 | 435 | 445 | |||
| - с тип задвижване ST 0 490,0, mm / не повече | 535 | 555 | 575 | 595 | 625 | ||||
| - с тип задвижване AVF 234S F132, mm / не повече | 402 | 410 | 420 | 428 | 440 | 450 | 525 | 545 | 575 |
| Тегло на клапана: | |||||||||
| с задвижване TSL-1600 | 6,3 | 7,2 | 8,2 | 10,8 | 12,3 | 14,8 | |||
| -с задвижване тип ST mini 472.0, кг / не повече | 6,1 | 7 | 8 | 10,6 | 12,1 | 14,6 | |||
| -с тип задвижване ST 0 490,0, kg / не повече | 14,2 | 16,2 | 25 | 33 | 40 | ||||
| - с тип задвижване AVF 234S F132, кг / не повече | 10,1 | 11,2 | 12,2 | 14,8 | 16,3 | 18,8 | 28 | 32 | 37,5 |
ПРИМЕР ЗА ИЗБОР
Необходимо е да се избере трипътен смесителен контролен клапан с електрически задвижващ механизъм за контрол на температурата в отоплителния кръг. Консумация на топлоносител в мрежата: 5 m³ / h. Налягане нагоре по веригата на 3-посочен смесителен контролен клапан според изискването на веригата (порт A и порт B): 4 бара В решението на веригата има равенство на температурните графики на мрежовата верига и веригата на системата за консумация на топлина - поради тази причина е избран трипосочен смесителен контролен клапан с електрическо задвижване.
Съгласно препоръките за избор на контролни клапани:
|
| При избора на циркулационна помпа е необходимо допълнително да се вземе предвид диференциалното налягане в трипътния клапан, за да се определи необходимата глава на помпата. |
- Използвайки формулата (4), определяме минималния номинален диаметър на клапана: (4) DN = 18,8 *√(G/V)
= 18,8*
√(5/3) = 24,3 мм. Скоростта в изходната секция V на клапана е избрана равна на максимално допустимата (3 m / s) за клапани в ITP в съответствие с препоръки за избор на регулиращи клапани и регулатори на налягането с пряко действие на групата компании Teplosila в ITP / Централна отоплителна станция.
2. Използвайки формулата (1), определяме необходимата производителност на клапана:
(1)Kv = G /√ΔP
= 5/
√0,25 = 10,0 m3 / h. Спадът на налягането в клапана ΔP се избира равен на спада на налягането в отоплителния кръг в съответствие с препоръки за избор на регулиращи клапани и регулатори на налягането с пряко действие на групата компании Teplosila в ITP / Централна отоплителна станция.
3. Изберете двупосочен клапан (тип TRV-3) с най-близкия голям номинален диаметър и най-близкия по-малък (или равен) номинален капацитет Kvs: DN = 25 mm, Kvs = 10 m3 / h. 4. Използвайки формула (2), определяме действителния диференциал в напълно отворения вентил при максимален дебит от 5 m3 / h:
(2) ΔPf = (G / Kvs) 2
= (5/10) 2 = 0,25 бара. 5. Налягането надолу по веригата на трипътния регулиращ клапан при зададен дебит от 5 m3 / h и действителна разлика от 0,25 bar ще бъде 4,0 - 0,25 = 3,75 bar. 6. От таблица 1.2 избираме устройството TSL-1600 от Zavod Teplosila LLC (тип устройство 101). 7. Номенклатура за поръчка:
TRV-3-25-10-101.
Практическа употреба
Където е необходимо да се осигури висококачествено регулиране на охлаждащата течност, могат да се използват четирипътни клапани. Контролът на качеството е контрол на температурата на охлаждащата течност, а не на нейния дебит. Има само един начин за постигане на необходимата температура във водната отоплителна система - чрез смесване на гореща и охладена вода, получаване на охлаждаща течност с необходимите параметри на изхода. Успешното изпълнение на този процес е именно това, което осигурява устройството на четирипътния клапан. Ето няколко примера за инсталиране на елементи за такива случаи:
- в радиаторна отоплителна система с котел на твърдо гориво като източник на топлина;
- в контура на подово отопление.
Както знаете, котелът на твърдо гориво в режим на отопление се нуждае от защита от кондензация, от която стените на пещта са подложени на корозия. Традиционното подреждане с байпас и трипътен смесителен клапан, който предотвратява навлизането на студена вода от системата в резервоара на котела, може да бъде подобрено. Вместо байпасна линия и смесител е монтиран четирипосочен клапан, както е показано на диаграмата:


Възниква естествен въпрос: каква е ползата от такава схема, където трябва да инсталирате втора помпа и дори контролер за управление на серво задвижването? Факт е, че тук работата на четирипътния клапан замества не само байпаса, но и хидравличния сепаратор (хидравлична стрелка), ако има нужда от такъв. В резултат на това получаваме 2 отделни вериги, които обменят охлаждаща течност помежду си при необходимост. Котелът се дозира с охладена вода, а радиаторите получават охлаждащата течност с оптимална температура.
Тъй като водата, циркулираща по отоплителните кръгове на подовото отопление, се загрява до максимум 45 ° C, неприемливо е охлаждащата течност да се пуска в тях директно от котела. За да издържи на тази температура, обикновено пред разпределителния колектор е монтиран смесител с трипътен термостатичен клапан и байпас. Но ако вместо този уред е инсталиран четирипосочен смесителен клапан, тогава в отоплителните кръгове може да се използва връщаща вода от радиаторите, както е показано на диаграмата:


Изчисляване на стойността на Kvs на трипътен клапан и циркулационна помпа
Kvs на клапана - характеристика на пропускателната способност на клапана; номинален обемен дебит на вода през напълно отворен клапан, m3 / h при спад на налягането от 1 bar при нормални условия. Посочената стойност е основната характеристика на клапана.
За изчисляване на Kvs може да се използва спадът на налягането в клапана спрямо Kvs и обемният поток.


Можете да изберете циркулационна помпа на този линк.
| Обозначаване | Мерна единица | Описание |
| Kv | m3 / h | Коефициент на потребление в съставни единици на потребление |
| Kv100 | m3 / h | Коефициент на разтоварване при номинално изместване |
| Kvmin | m3 / h | Коефициент на потребление при минимална норма на потребление |
| Kvs | m3 / h | Условен коефициент на разход на армировка |
| Въпрос: | m3 / h | Обемен поток в експлоатация (T1, p1) |
| Qn | Nm3 / h | Обемен поток в нормално състояние (0 ° C, 0,101 MPa) |
| p1 | МРа | Абсолютно налягане над контролния клапан |
| p2 | МРа | Клапан за управление на абсолютното налягане |
| пс | МРа | Абсолютното налягане на наситена пара при дадена температура (T) |
| Δp | МРа | Диференциално налягане в управляващия клапан (Δp = p1 - p2) |
| ρ1 | кг / м3 | Плътност на работната среда в експлоатация (T1, p1) |
| ρn | kg / Nm3 | Плътност на газа в нормално състояние (0 C, 0.101 MPa) |
| Т1 | ДА СЕ | Абсолютна температура преди клапана (T1 = 273 + t) |
| r | 1 | Регулаторно отношение |
Изчисляване на Kv коефициента
Основната характеристика на потока на регулиращите клапани е коефициентът на условния поток Kvs... Стойността му показва характерния поток през даден клапан при точно определени условия при 100% отваряне. За да изберете контролни клапани с една или друга стойност на Kvs, е необходимо да се изчисли коефициентът на потока Kv, който определя обемния дебит на водата в m3 / h, който ще тече през управляващия клапан при определени условия (загуба на налягане върху него е 1 bar, температура на водата 15 ° C, турбулентен поток, достатъчно статично налягане, за да се изключи появата на кавитация при тези условия).
Таблицата по-долу показва формулите за изчисление Kv за различни среди
| Загуба на налягане p2> p1 / 2 Δp | Загуба на налягане p2 ≥ p1 / 2 Δp ≤ p1 / 2 | ||
| Kv = | Течност | Q / 100 x √ ρ1 / Δp | |
| Газ | Q / 5141 x √ ρ1 * T1 / Δp * p2 | 2 * Qn / 5141 * p1 x √ ρn * T1 | |
Предимството на този коефициент е неговата проста физическа интерпретация и фактът, че в случаите, когато работната среда е вода, е възможно да се опрости изчисляването на дебита, пропорционално на квадратния корен от спада на налягането. След достигане на плътност от 1000 kg / m3 и задаване на спада на налягането в барове, получаваме най-простата и известна формула за изчисляване на Kv:
Kv = Q / √ Δp
На практика изчисляването на коефициента на потока се извършва, като се вземе предвид състоянието на веригата за управление и условията на работа на материала съгласно горните формули. Регулиращият клапан трябва да бъде оразмерен така, че да може да регулира максималния дебит при дадените работни условия. В този случай трябва да се гарантира, че и най-малкият регулиран поток може да се регулира.
При условие, че регулиращото съотношение на клапана е: r> Kvs / Kvmin
Поради възможния минус 10% толеранс на стойността на Kv100 по отношение на Kvs и изискването за възможност за регулиране в областта на максималния дебит (намаляване и увеличаване на дебита), се препоръчва да изберете стойност на Kvs на контролния клапан, който е по-висок от максималната работна стойност на Kv:
Kvs = 1,1 ÷ 1,3 Kv
В този случай е необходимо да се вземе предвид съдържанието на „граница на безопасност“ при изчисляването на приетата стойност на Qmax, което може да доведе до надценяване на работата на клапана.
Опростен процес на изчисление за 3-пътен смесителен клапан
Първоначални данни: среда - вода 90 ° C, статично налягане в точката на свързване 600 kPa (6 бара),
Δppump 02 = 35 kPa (0,35 бара), Δppipe = 10 kPa (0,1 бара), Δобмен на фаза = 20 kPa (0,2 бара),
номинален дебит Qnom = 5 m3 / h.
Типично оформление на контролен контур, използващ 3-пътен смесителен клапан, е показано на фигурата по-долу.
Δppump 02 = Δpvalve + Δобмен на фат + Δppipe
Δpvalve = Δppump 02 - Δfeat - Δppipe = 35 - 20 - 10 = 5 kPa (0,05 бара)
Kv = Qnom / √∆p клапан = 5 / √0.05 = 22.4 m3 / h
Обезщетение за безопасност (при условие, че дебитът Q не е надценен):
Kvs = (1,1 ÷ 1,3) * Kv = (1,1 ÷ 1,3) * 22,4 = 24,6 ÷ 29,1 m3 / h
От серийно произведената поредица от стойности на Kv избираме най-близката стойност на Kvs, т.е. Kvs = 25 m3 / h. Тази стойност съответства на регулиращ клапан с диаметър DN 40.
Определяне на хидравличните загуби при избрания клапан при пълно отваряне и даден дебит
Δpvalve H100 = (Qnom / Kvs) 2 = (5/25) 2 = 4 kPa (0,04 бара)
Внимание: За трипътните клапани най-важното условие за правилната работа е да се поддържа минималната разлика в налягането между отворите A и B. Трипътните клапани са в състояние да се справят със значителни диференциални налягания между отвори A и B, но поради деформация на контролна характеристика, настъпва влошаване на контролната способност. Ето защо, ако има и най-малко съмнение относно разликата в налягането между двете дюзи (например, ако трипътният клапан е директно свързан към мрежата), препоръчваме да използвате двупосочен клапан за контрол на качеството.
Определяне на авторитета на избрания клапан
Правомощието на директния клон на трипътен клапан в такава връзка, при условие че дебитът по веригата на потребителя е постоянен
a = Δp клапан Н100 / Δp клапан Н0 = 4/4 = 1
Показва, че отношението на потока в правия крак на клапана съответства на идеалната крива на потока на клапана. В този случай Kvs на двата клона съвпадат, и двете характеристики са линейни, което означава, че общият дебит е почти постоянен.
Комбинацията от еднаква процентна характеристика по пътека А с линейна характеристика по пътека В, понякога е изгодно да се избере в случаите, когато е невъзможно да се избегне натоварването на втулки А по отношение на В чрез диференциално налягане или ако параметрите на първичната страни са твърде високи.








